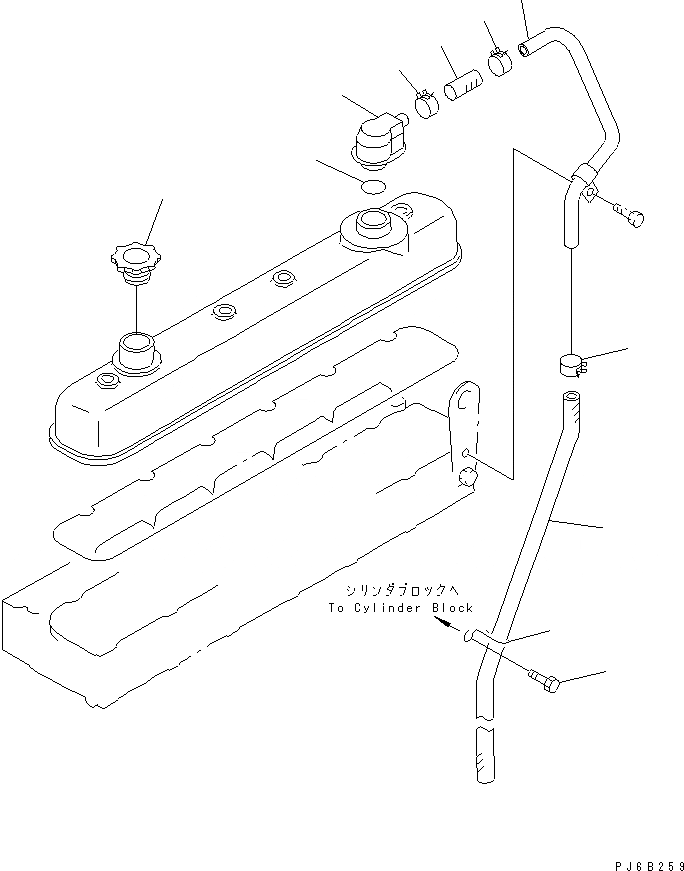
Запчасти Komatsu SA6D108-1A-7T КРЕПЛЕНИЕ КРЫШКИ ГОЛОВКИ(№-) ДВИГАТЕЛЬ

Схема запчастей Komatsu SA6D108-1A-7T - КРЕПЛЕНИЕ КРЫШКИ ГОЛОВКИ(№-) ДВИГАТЕЛЬ
1
2
3
4
5
6
7
8
9
9
9
FIT
1:1
100%

Артикул

Название

Примечание

Количество

1

6150-21-6750

BREATHER

SN: 30554-UP

1шт.

2

6114-21-5190

O-RING (K1)

SN: 30554-UP

1шт.

3

6130-12-8610

CAP

SN: 30554-UP

1шт.

4

6222-23-5820

PIPE,BREATHER

SN: 30554-UP

1шт.

5

07286-01906

HOSE

SN: 30554-UP

1шт.

6

6221-21-5880

CLIP

SN: 30554-UP

1шт.

7

01435-01016

BOLT

SN: 30554-UP

1шт.

8

07286-01995

HOSE

SN: 30554-UP

1шт.

9

07285-00220

CLIP

SN: 30554-UP

3шт.

Выбрано товаров: 9