Запчасти Komatsu SA6D108-1A БЛОК ЦИЛИНДРОВ (МОРОЗОУСТОЙЧИВ. СПЕЦИФИКАЦИЯ.)(№-) БЛОК ЦИЛИНДРОВ

Схема запчастей Komatsu SA6D108-1A - БЛОК ЦИЛИНДРОВ (МОРОЗОУСТОЙЧИВ. СПЕЦИФИКАЦИЯ.)(№-) БЛОК ЦИЛИНДРОВ
FIT
1:1
100%

Артикул

Название

Примечание

Количество

|1

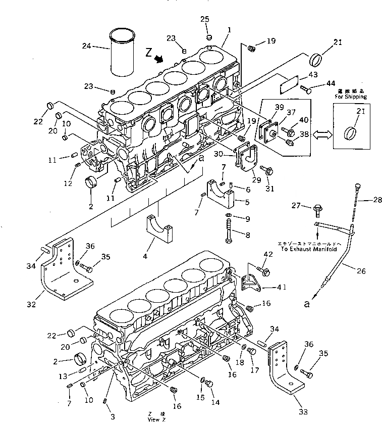
6222-21-1101

CYLINDER BLOCK A.

SN: 12561-UP

1шт.

1

0

BLOCK,CYLINDER

SN: 12561-UP

1шт.

2

6221-21-1410

BUSHING,CAMSHAFT

SN: 12561-UP

4шт.

3

04025-00408

PIN,SPRING

SN: 12561-UP

6шт.

4

0

CAP,MAIN METAL¤ NO.1¤2¤3¤4¤5¤6

SN: 12561-UP

6шт.

5

0

CAP,MAIN METAL¤ NO.7

SN: 12561-UP

1шт.

6

04020-00514

PIN,DOWEL

SN: 12561-UP

2шт.

7

04025-00408

PIN,SPRING

SN: 12561-UP

6шт.

8

6221-21-1710

BOLT,MAIN CAP

SN: 12561-UP

14шт.

9

6130-32-1361

WASHER

SN: 12561-UP

14шт.

10

07046-42216

PLUG,EXPANSION

SN: 12561-UP

2шт.

11

6136-21-1911

PIN,DOWEL

SN: 12561-UP

2шт.

12

04025-00512

PIN,SPRING

SN: 12561-UP

1шт.

13

04020-01228

PIN,DOWEL

SN: 12561-UP

2шт.

14

07040-11209

PLUG

SN: 12561-UP

2шт.

15

07005-01212

GASKET (K2)

SN: 12561-UP

2шт.

16

07043-70108

PLUG

SN: 12561-UP

3шт.

17

07040-11007

PLUG

SN: 12561-UP

1шт.

18

07005-01012

GASKET (K2)

SN: 12561-UP

1шт.

19

07043-70211

PLUG

SN: 12561-UP

2шт.

20

07046-43016

PLUG,EXPANSION

SN: 12561-UP

2шт.

21

07046-46520

PLUG,EXPANSION

SN: 12561-UP

5шт.

22

07046-43516

PLUG,EXPANSION

SN: 12561-UP

2шт.

23

6221-21-1790

BUSHING

SN: 12561-UP

2шт.

24

6222-21-2210

LINER (MARK S),CYLINDER

SN: 12561-UP

-2шт.

|24

6222-21-2220

LINER (MARK M),CYLINDER

SN: 12561-UP

-2шт.

|24

6222-21-2230

LINER (MARK L),CYLINDER

SN: 12561-UP

-2шт.

25

07046-42010

PLUG,EXPANSION

SN: 12561-UP

1шт.

26

6221-21-5511

GUIDE,OIL GAUGE

SN: 12561-UP

1шт.

27

01435-01016

BOLT

SN: 12561-UP

1шт.

28

6136-21-5390

GAUGE,OIL LEVEL

SN: 12561-UP

1шт.

29

6221-21-7210

COVER

SN: 12561-UP

1шт.

30

6136-21-7811

GASKET (K2)

SN: 12561-UP

1шт.

31

01435-21025

BOLT

SN: 12561-UP

4шт.

32

207-01-55112

BRACKET,L.H.

SN: 12561-UP

1шт.

33

207-01-55120

BRACKET,R.H.

SN: 12561-UP

1шт.

34

04020-01228

PIN,DOWEL

SN: 12561-UP

4шт.

35

01010-51265

BOLT

SN: 12561-UP

8шт.

36

01643-31232

WASHER

SN: 12561-UP

8шт.

37

6221-21-9280

PLATE

SN: 12561-UP

1шт.

38

07042-00415

PLUG

SN: 12561-UP

1шт.

39

6221-21-7680

GASKET (K2)

SN: 12561-UP

1шт.

40

01435-01020

BOLT

SN: 12561-UP

4шт.

41

6221-61-1910

BRACKET

SN: 12561-UP

1шт.

42

01435-21020

BOLT

SN: 12561-UP

2шт.

43

09605-01425

PLATE¤ NAME,(ENGLISH) (LIMITED SUPPLY)

SN: 12561-UP

1шт.

|43

09605-11425

PLATE¤ NAME,(SPANISH) (LIMITED SUPPLY)

SN: 12561-UP

1шт.

|43

09605-13425

PLATE¤ NAME,(ARABIC) (LIMITED SUPPLY)

SN: 12561-UP

1шт.

|43

09605-21425

PLATE¤ NAME,(GERMAN) (LIMITED SUPPLY)

SN: 12561-UP

1шт.

|43

09605-31425

PLATE¤ NAME,(INDONESIAN) (LIMITED SUPPLY)

SN: 12561-UP

1шт.

|43

09605-41425

PLATE¤ NAME,(RUSSIAN) (LIMITED SUPPLY)

SN: 12561-UP

1шт.

|43

09605-53425

PLATE¤ NAME,(FRENCH) (LIMITED SUPPLY)

SN: 12561-UP

1шт.

|43

09605-61425

PLATE¤ NAME,(ITALIAN) (LIMITED SUPPLY)

SN: 12561-UP

1шт.

|43

09605-91425

PLATE¤ NAME,(CHINESE) (LIMITED SUPPLY)

SN: 12561-UP

1шт.

44

04418-02550

SCREW

SN: 12561-UP

4шт.

Выбрано товаров: 55