Запчасти Komatsu SA6D108-1C-7H БЛОК ЦИЛИНДРОВ(№-) ДВИГАТЕЛЬ

Схема запчастей Komatsu SA6D108-1C-7H - БЛОК ЦИЛИНДРОВ(№-) ДВИГАТЕЛЬ
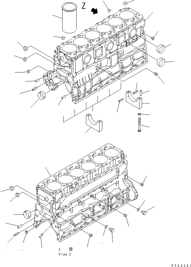
1
1
2
2
3
4
5
6
7
7
7
8
9
10
10
11
11
12
13
14
15
16
16
16
17
18
19
19
20
20
21
21
22
22
23
23
24
25
1
1
2
2
3
4
5
6
7
7
7
8
9
10
10
11
11
12
13
14
15
16
16
16
17
18
19
19
20
20
21
21
22
22
23
23
24
25
FIT
1:1
100%

Артикул

Название

Примечание

Количество

|1

6222-21-1101

CYLINDER BLOCK A.

SN: 16016-UP

1шт.

1

0

BLOCK,CYLINDER

SN: 16016-UP

1шт.

2

6221-21-1410

BUSHING,CAMSHAFT

SN: 16016-UP

4шт.

3

04025-00408

PIN

SN: 16016-UP

6шт.

4

0

CAP,MAIN METAL¤ NO.1¤2¤3¤4¤5¤6

SN: 16016-UP

6шт.

5

0

CAP,MAIN METAL¤ NO.7

SN: 16016-UP

1шт.

6

04020-00514

PIN

SN: 16016-UP

2шт.

7

04025-00408

PIN

SN: 16016-UP

6шт.

8

6221-21-1710

BOLT

SN: 16016-UP

14шт.

9

6130-32-1361

WASHER

SN: 16016-UP

14шт.

10

07046-42216

PLUG

SN: 16016-UP

2шт.

11

6136-21-1911

PIN

SN: 16016-UP

2шт.

12

04025-00512

PIN

SN: 16016-UP

1шт.

13

04020-01228

PIN

SN: 16016-UP

2шт.

14

07040-11209

PLUG

SN: 16016-UP

2шт.

15

07005-01212

GASKET (K2)

SN: 16016-UP

2шт.

16

07043-70108

PLUG

SN: 16016-UP

3шт.

17

07040-11007

PLUG

SN: 16016-UP

1шт.

18

07005-01012

GASKET (K2)

SN: 16016-UP

1шт.

19

07043-70211

PLUG

SN: 16016-UP

2шт.

20

07046-43016

PLUG

SN: 16016-UP

2шт.

21

07046-46520

PLUG

SN: 16016-UP

5шт.

22

07046-43516

PLUG

SN: 16016-UP

2шт.

23

6221-21-1790

BUSHING

SN: 16016-UP

2шт.

24

07046-42010

PLUG

SN: 16016-UP

1шт.

25

6222-21-2210

LINER (MARK S),CYLINDER

SN: 16016-UP

-2шт.

|25

6222-21-2220

LINER (MARK M),CYLINDER

SN: 16016-UP

-2шт.

|25

6222-21-2230

LINER (MARK L),CYLINDER

SN: 16016-UP

-2шт.

|1

6222-21-1101

CYLINDER BLOCK A.

SN: 16016-UP

1шт.

1

0

BLOCK,CYLINDER

SN: 16016-UP

1шт.

2

6221-21-1410

BUSHING,CAMSHAFT

SN: 16016-UP

4шт.

3

04025-00408

PIN

SN: 16016-UP

6шт.

4

0

CAP,MAIN METAL¤ NO.1¤2¤3¤4¤5¤6

SN: 16016-UP

6шт.

5

0

CAP,MAIN METAL¤ NO.7

SN: 16016-UP

1шт.

6

04020-00514

PIN

SN: 16016-UP

2шт.

7

04025-00408

PIN

SN: 16016-UP

6шт.

8

6221-21-1710

BOLT

SN: 16016-UP

14шт.

9

6130-32-1361

WASHER

SN: 16016-UP

14шт.

10

07046-42216

PLUG

SN: 16016-UP

2шт.

11

6136-21-1911

PIN

SN: 16016-UP

2шт.

12

04025-00512

PIN

SN: 16016-UP

1шт.

13

04020-01228

PIN

SN: 16016-UP

2шт.

14

07040-11209

PLUG

SN: 16016-UP

2шт.

15

07005-01212

GASKET (K2)

SN: 16016-UP

2шт.

16

07043-70108

PLUG

SN: 16016-UP

3шт.

17

07040-11007

PLUG

SN: 16016-UP

1шт.

18

07005-01012

GASKET (K2)

SN: 16016-UP

1шт.

19

07043-70211

PLUG

SN: 16016-UP

2шт.

20

07046-43016

PLUG

SN: 16016-UP

2шт.

21

07046-46520

PLUG

SN: 16016-UP

5шт.

22

07046-43516

PLUG

SN: 16016-UP

2шт.

23

6221-21-1790

BUSHING

SN: 16016-UP

2шт.

24

07046-42010

PLUG

SN: 16016-UP

1шт.

25

6222-21-2210

LINER (MARK S),CYLINDER

SN: 16016-UP

-2шт.

|25

6222-21-2220

LINER (MARK M),CYLINDER

SN: 16016-UP

-2шт.

|25

6222-21-2230

LINER (MARK L),CYLINDER

SN: 16016-UP

-2шт.

Выбрано товаров: 56