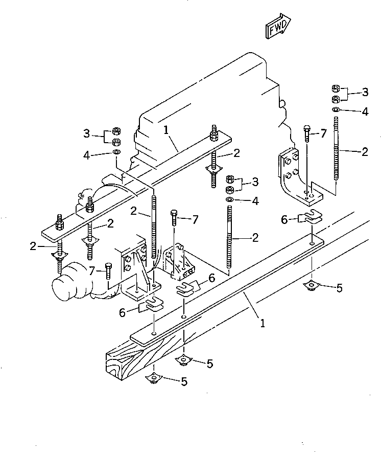
Запчасти Komatsu SA6D108-1D MARINE КРЕПЛЕНИЕ ДВИГАТЕЛЯ (КРЕПЛЕНИЕ ЧАСТЬ DELUXE) (ОПЦИОНН) ДВИГАТЕЛЬ

Схема запчастей Komatsu SA6D108-1D - MARINE КРЕПЛЕНИЕ ДВИГАТЕЛЯ (КРЕПЛЕНИЕ ЧАСТЬ DELUXE) (ОПЦИОНН) ДВИГАТЕЛЬ
FIT
1:1
100%

Артикул

Название

Примечание

Количество

1

7700-65-2190

PLATE

SN: 15265-UP

2шт.

2

7700-65-2121

STUD

SN: 21475-UP

6шт.

|2

0

STUD

SN: 15265-21474

6шт.

3

01580-11815

NUT

SN: 15265-UP

12шт.

4

01643-21845

WASHER

SN: 15265-UP

6шт.

5

7700-65-2130

WASHER

SN: 15265-UP

6шт.

6

7700-65-2400

SHIM ASS'Y

SN: 15265-UP

3шт.

|6

0

SHIM¤ 0.1MM

SN: 15265-UP

4шт.

|6

0

SHIM¤ 0.2MM

SN: 15265-UP

4шт.

|6

0

SHIM¤ 0.5MM

SN: 15265-UP

2шт.

|6

0

SHIM¤ 1.0MM

SN: 15265-UP

2шт.

7

7700-65-2511

BOLT

SN: 15265-UP

6шт.

Выбрано товаров: 12