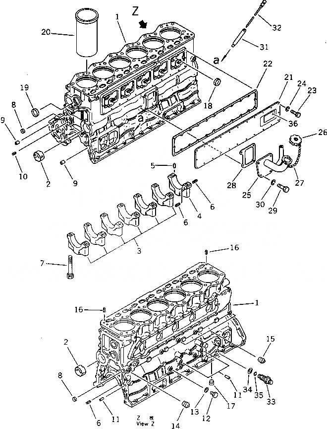
Запчасти Komatsu SA6D110-1A БЛОК ЦИЛИНДРОВ(№-) БЛОК ЦИЛИНДРОВ

Схема запчастей Komatsu SA6D110-1A - БЛОК ЦИЛИНДРОВ(№-) БЛОК ЦИЛИНДРОВ
FIT
1:1
100%

Артикул

Название

Примечание

Количество

|1

6138-21-1010

CYLINDER BLOCK A.

SN: 10001-15364

1шт.

|1

6138-21-1020

CYLINDER BLOCK A.

SN: 10001-15364

1шт.

1

0

BLOCK,CYLINDER

SN: 10001-15364

1шт.

2

6136-21-1410

BUSHING,CAM

SN: 10001-@

4шт.

3

0

CAP,MAIN METAL

SN: 10001-@

6шт.

4

0

CAP,MAIN METAL

SN: 10001-@

1шт.

5

04020-00514

PIN,DOWEL

SN: 10001-@

1шт.

6

04025-00408

PIN,SPRING

SN: 10001-@

6шт.

7

6136-21-1710

BOLT,MAIN CAP

SN: 10001-15364

14шт.

8

6130-11-1420

PLUG,EXPANSION

SN: 10001-@

2шт.

9

6136-21-1911

PIN,DOWEL

SN: 10001-@

2шт.

10

04025-00512

PIN,SPRING

SN: 10001-@

1шт.

11

04020-01228

PIN,DOWEL

SN: 10001-@

4шт.

12

07040-11209

PLUG

SN: 10001-@

1шт.

13

07005-01212

GASKET (K2)

SN: 10001-@

1шт.

14

07042-00211

PLUG

SN: 10001-@

1шт.

15

07042-00108

PLUG

SN: 10001-@

3шт.

16

04025-00820

PIN,SPRING

SN: 10001-@

2шт.

17

07043-00312

PLUG

SN: 10001-@

1шт.

18

07046-44016

PLUG

SN: 10001-@

7шт.

19

6138-21-2710

PLUG

SN: 10001-15364

1шт.

20

6138-21-2210

LINER,CYLINDER (MARK A)

SN: 10001-@

-2шт.

|20

6138-21-2220

LINER,CYLINDER (MARK B)

SN: 10001-@

-2шт.

21

6138-21-7310

COVER

SN: 10001-15364

1шт.

22

6138-21-7321

GASKET,(SA6D110-1A¤ 1B) (K2)

SN: 10267-15364

1шт.

|22

6138-21-7321

GASKET,(SA6D110-1A)

SN: 10200-10266

1шт.

|22

0

GASKET,(SA6D110-1B)

SN: 10172-10186

1шт.

|22

6138-21-7320

GASKET,(SA6D110-1A¤ 1B) (K2)

SN: 10001-10199

1шт.

23

01010-30820

BOLT

SN: 10001-15364

24шт.

24

01602-00825

WASHER,SPRING

SN: 10001-15364

24шт.

|25

6138-21-7100

FILLER ASS'Y,OIL

SN: 10001-@

1шт.

25

6138-21-7110

FILLER,OIL

SN: 10001-@

1шт.

26

6136-21-7120

CAP ASS'Y

SN: 10001-@

1шт.

|26

6136-21-7180

GASKET,(NOT SHOWN)

SN: 10001-@

1шт.

27

6136-21-7190

CHAIN

SN: 10001-@

1шт.

28

6136-21-7811

GASKET,(SA6D110-1A¤ 1B) (K2)

SN: 10267-@

1шт.

|28

6136-21-7811

GASKET,(SA6D110-1A)

SN: 10029-10266

1шт.

|28

0

GASKET,(SA6D110-1B)

SN: 10172-10242

1шт.

|28

6136-21-7810

GASKET,(SA6D110-1A¤ 1B) (K2)

SN: 10001-10028

1шт.

29

01010-31030

BOLT

SN: 10001-@

4шт.

30

01602-01030

WASHER,SPRING

SN: 10001-@

4шт.

31

6136-21-5410

GUIDE,OIL GAUGE

SN: 10001-@

1шт.

32

6136-21-5310

GAUGE,OIL

SN: 10001-@

1шт.

33

6138-51-4100

REGULATOR ASS'Y

SN: 10001-@

1шт.

|33

0

BODY

SN: 10001-@

1шт.

|33

0

VALVE

SN: 10001-@

1шт.

|33

0

SPRING

SN: 10001-@

1шт.

|33

0

PLUG

SN: 10001-@

1шт.

|33

0

SHIM

SN: 10001-@

2шт.

|33

0

GASKET

SN: 10001-@

1шт.

34

07003-02733

GASKET (K2)

SN: 10001-@

1шт.

35

07000-62018

O-RING (K2)

SN: 10001-@

1шт.

36

6138-81-2111

PLATE¤ NAME,(ENGLISH) (LIMITED SUPPLY)

SN: 10001-15364

1шт.

|36

6138-81-2210

PLATE¤ NAME,(GERMAN) (LIMITED SUPPLY)

SN: 10037-15431

1шт.

|1

6138-21-1010

CYLINDER BLOCK A.

SN: 10001-15364

1шт.

|1

6138-21-1020

CYLINDER BLOCK A.

SN: 10001-15364

1шт.

1

0

BLOCK,CYLINDER

SN: 10001-15364

1шт.

2

6136-21-1410

BUSHING,CAM

SN: 10001-@

4шт.

3

0

CAP,MAIN METAL

SN: 10001-@

6шт.

4

0

CAP,MAIN METAL

SN: 10001-@

1шт.

5

04020-00514

PIN,DOWEL

SN: 10001-@

1шт.

6

04025-00408

PIN,SPRING

SN: 10001-@

6шт.

7

6136-21-1710

BOLT,MAIN CAP

SN: 10001-15364

14шт.

8

6130-11-1420

PLUG,EXPANSION

SN: 10001-@

2шт.

9

6136-21-1911

PIN,DOWEL

SN: 10001-@

2шт.

10

04025-00512

PIN,SPRING

SN: 10001-@

1шт.

11

04020-01228

PIN,DOWEL

SN: 10001-@

4шт.

12

07040-11209

PLUG

SN: 10001-@

1шт.

13

07005-01212

GASKET (K2)

SN: 10001-@

1шт.

14

07042-00211

PLUG

SN: 10001-@

1шт.

15

07042-00108

PLUG

SN: 10001-@

3шт.

16

04025-00820

PIN,SPRING

SN: 10001-@

2шт.

17

07043-00312

PLUG

SN: 10001-@

1шт.

18

07046-44016

PLUG

SN: 10001-@

7шт.

19

6138-21-2710

PLUG

SN: 10001-15364

1шт.

20

6138-21-2210

LINER,CYLINDER (MARK A)

SN: 10001-@

-2шт.

|20

6138-21-2220

LINER,CYLINDER (MARK B)

SN: 10001-@

-2шт.

21

6138-21-7310

COVER

SN: 10001-15364

1шт.

22

6138-21-7321

GASKET,(SA6D110-1A¤ 1B) (K2)

SN: 10267-15364

1шт.

|22

6138-21-7321

GASKET,(SA6D110-1A)

SN: 10200-10266

1шт.

|22

0

GASKET,(SA6D110-1B)

SN: 10172-10186

1шт.

|22

6138-21-7320

GASKET,(SA6D110-1A¤ 1B) (K2)

SN: 10001-10199

1шт.

23

01010-30820

BOLT

SN: 10001-15364

24шт.

24

01602-00825

WASHER,SPRING

SN: 10001-15364

24шт.

|25

6138-21-7100

FILLER ASS'Y,OIL

SN: 10001-@

1шт.

25

6138-21-7110

FILLER,OIL

SN: 10001-@

1шт.

26

6136-21-7120

CAP ASS'Y

SN: 10001-@

1шт.

|26

6136-21-7180

GASKET,(NOT SHOWN)

SN: 10001-@

1шт.

27

6136-21-7190

CHAIN

SN: 10001-@

1шт.

28

6136-21-7811

GASKET,(SA6D110-1A¤ 1B) (K2)

SN: 10267-@

1шт.

|28

6136-21-7811

GASKET,(SA6D110-1A)

SN: 10029-10266

1шт.

|28

0

GASKET,(SA6D110-1B)

SN: 10172-10242

1шт.

|28

6136-21-7810

GASKET,(SA6D110-1A¤ 1B) (K2)

SN: 10001-10028

1шт.

29

01010-31030

BOLT

SN: 10001-@

4шт.

30

01602-01030

WASHER,SPRING

SN: 10001-@

4шт.

31

6136-21-5410

GUIDE,OIL GAUGE

SN: 10001-@

1шт.

32

6136-21-5310

GAUGE,OIL

SN: 10001-@

1шт.

33

6138-51-4100

REGULATOR ASS'Y

SN: 10001-@

1шт.

|33

0

BODY

SN: 10001-@

1шт.

|33

0

VALVE

SN: 10001-@

1шт.

|33

0

SPRING

SN: 10001-@

1шт.

|33

0

PLUG

SN: 10001-@

1шт.

|33

0

SHIM

SN: 10001-@

2шт.

|33

0

GASKET

SN: 10001-@

1шт.

34

07003-02733

GASKET (K2)

SN: 10001-@

1шт.

35

07000-62018

O-RING (K2)

SN: 10001-@

1шт.

36

6138-81-2111

PLATE¤ NAME,(ENGLISH) (LIMITED SUPPLY)

SN: 10001-15364

1шт.

|36

6138-81-2210

PLATE¤ NAME,(GERMAN) (LIMITED SUPPLY)

SN: 10037-15431

1шт.

Выбрано товаров: 0