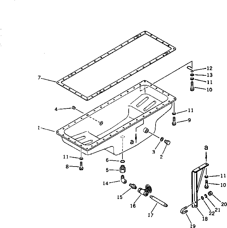
Запчасти Komatsu SA6D110-1D МАСЛЯНЫЙ ПОДДОН БЛОК ЦИЛИНДРОВ

Схема запчастей Komatsu SA6D110-1D - МАСЛЯНЫЙ ПОДДОН БЛОК ЦИЛИНДРОВ
FIT
1:1
100%

Артикул

Название

Примечание

Количество

1

6138-21-5130

PAN,OIL

SN: 10350-UP

1шт.

2

6672-12-6290

PLUG

SN: 10350-UP

1шт.

3

07005-01612

GASKET (K2)

SN: 10350-UP

1шт.

4

02720-20607

PLUG

SN: 10350-UP

1шт.

5

6144-21-5610

PLUG,DRAIN

SN: 10350-UP

1шт.

6

07000-03022

O-RING (K2)

SN: 10350-UP

1шт.

7

6136-21-5810

GASKET (K2)

SN: 10350-UP

1шт.

8

01435-00820

BOLT

SN: 50018-UP

8шт.

|8

01010-30825

BOLT

SN: 10350-50017

8шт.

9

01435-00820

BOLT

SN: 50018-UP

27шт.

|9

01010-30822

BOLT

SN: 10350-50017

27шт.

10

01435-00825

BOLT

SN: 50018-UP

3шт.

|10

01010-30830

BOLT

SN: 10350-50017

3шт.

11

01602-00825

WASHER,SPRING

SN: 10350-50017

38шт.

12

6130-22-5290

CLIP

SN: 10350-UP

1шт.

13

01640-00816

WASHER

SN: 10350-UP

1шт.

14

07323-20300

ELBOW

SN: 10350-UP

1шт.

15

07325-00300

NIPPLE

SN: 10350-UP

1шт.

16

6144-21-5630

VALVE,STOP

SN: 10350-UP

1шт.

17

6138-51-5620

PIPE

SN: 10350-UP

1шт.

18

6136-21-5610

BRACKET

SN: 10350-UP

1шт.

19

07283-22236

CLIP

SN: 10350-UP

1шт.

20

01582-01008

NUT

SN: 10350-UP

2шт.

21

01602-01030

WASHER,SPRING

SN: 10350-UP

2шт.

22

01642-21016

WASHER

SN: 10350-UP

2шт.

Выбрано товаров: 25