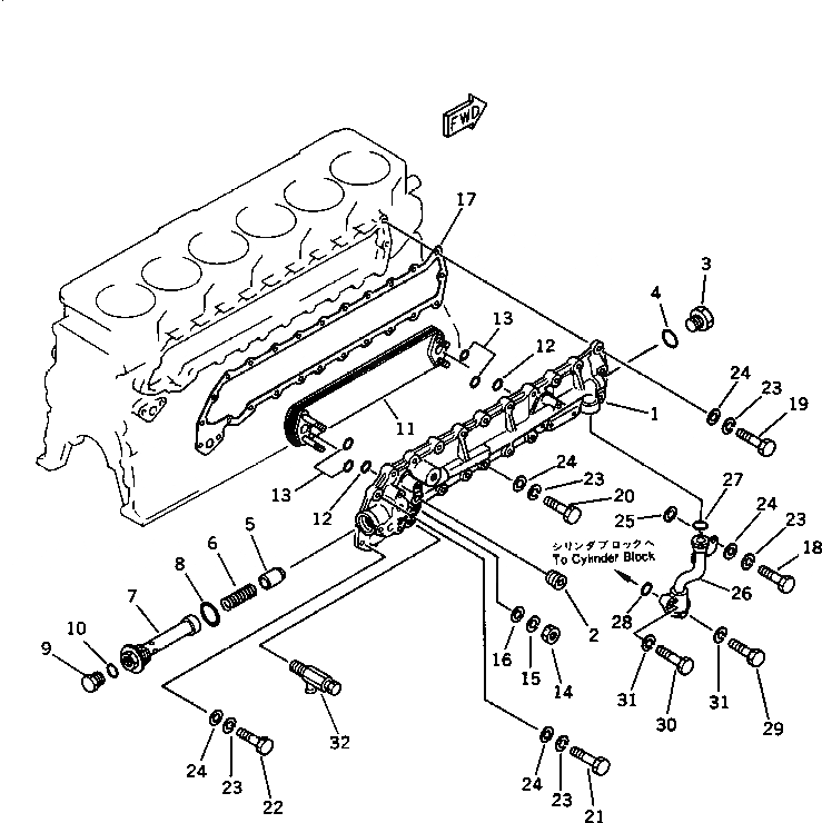
Запчасти Komatsu SA6D110-1D СИСТЕМА СМАЗКИ МАСЛООХЛАДИТЕЛЬ(№-9999) СИСТЕМА СМАЗКИ МАСЛ. СИСТЕМА

Схема запчастей Komatsu SA6D110-1D - СИСТЕМА СМАЗКИ МАСЛООХЛАДИТЕЛЬ(№-9999) СИСТЕМА СМАЗКИ МАСЛ. СИСТЕМА
FIT
1:1
100%

Артикул

Название

Примечание

Количество

|1

6138-61-2101

OIL COOLER ASS'Y

SN: 10350-49999

1шт.

1

6136-61-2112

COVER ASS'Y

SN: 10350-49999

1шт.

|1

07043-00415

PLUG,(NOT SHOWN)

SN: 10350-@

1шт.

2

02720-20607

PLUG

SN: 10350-@

2шт.

3

6138-61-2180

PLUG

SN: 10350-@

1шт.

4

6136-61-2190

O-RING (K2)

SN: 11263-@

1шт.

|4

6136-61-2190

O-RING

SN: 10350-11262

1шт.

5

6136-61-2170

VALVE

SN: 10350-@

1шт.

6

6136-61-2160

SPRING

SN: 10350-49999

1шт.

7

6136-61-2180

CASE,VALVE

SN: 10350-49999

1шт.

8

6136-61-2150

O-RING (K2)

SN: 11263-@

1шт.

|8

6136-61-2150

O-RING

SN: 10350-11262

1шт.

9

6136-61-2140

PLUG

SN: 10350-49999

1шт.

10

07002-02034

O-RING (K2)

SN: 10350-49999

1шт.

11

600-651-1430

ELEMENT,OIL COOLER

SN: 10350-@

1шт.

12

6136-61-2190

O-RING (K2)

SN: 11263-@

2шт.

|12

6136-61-2190

O-RING

SN: 10350-11262

2шт.

13

6127-61-2971

O-RING (K2)

SN: 11263-@

4шт.

|13

6127-61-2971

O-RING

SN: 10350-11262

4шт.

14

01580-10806

NUT

SN: 10350-@

4шт.

15

01602-20825

WASHER,SPRING

SN: 10350-@

4шт.

16

01641-20812

WASHER

SN: 10350-@

4шт.

17

6136-61-2811

GASKET (K2)

SN: 10350-@

1шт.

18

01010-30825

BOLT

SN: 10350-@

4шт.

19

01010-30850

BOLT

SN: 10350-@

2шт.

20

01010-30835

BOLT

SN: 10350-@

15шт.

21

01010-30865

BOLT

SN: 10350-@

1шт.

22

01010-30830

BOLT

SN: 10350-@

2шт.

23

01602-20825

WASHER,SPRING

SN: 10350-@

24шт.

24

01640-20816

WASHER

SN: 10350-@

24шт.

25

01640-20816

WASHER

SN: 10350-@

1шт.

26

6136-51-6311

PIPE,OIL

SN: 10350-@

1шт.

27

07000-23022

O-RING (K2)

SN: 10350-@

1шт.

28

07000-63028

O-RING (K2)

SN: 10350-@

1шт.

29

01010-30830

BOLT

SN: 10350-@

1шт.

30

01010-30855

BOLT

SN: 10350-@

1шт.

31

01602-00825

WASHER,SPRING

SN: 10350-@

2шт.

32

6140-61-6512

VALVE,(WITHOUT CORROSION RESISTOR)

SN: 10350-@

1шт.

|32

6136-61-8610

NIPPLE,(WITH CORROSION RESISTOR)

SN: 10350-@

1шт.

Выбрано товаров: 39