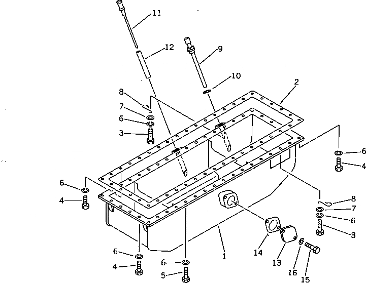
Запчасти Komatsu SA6D110-1EE МАСЛЯНЫЙ ПОДДОН БЛОК ЦИЛИНДРОВ

Схема запчастей Komatsu SA6D110-1EE - МАСЛЯНЫЙ ПОДДОН БЛОК ЦИЛИНДРОВ
FIT
1:1
100%

Артикул

Название

Примечание

Количество

1

6138-25-5110

PAN,OIL

SN: 65426-UP

1шт.

2

6136-21-5810

GASKET (K2)

SN: 65426-UP

1шт.

3

01010-50835

BOLT

SN: 65426-UP

4шт.

4

01010-50825

BOLT

SN: 65426-UP

13шт.

5

01010-50830

BOLT

SN: 65426-UP

21шт.

6

01602-20825

WASHER,SPRING

SN: 65426-UP

38шт.

7

01640-20816

WASHER

SN: 65426-UP

4шт.

8

6130-21-5260

CLIP

SN: 65426-UP

4шт.

9

6205-21-5392

PIPE

SN: 65426-UP

1шт.

10

07005-01812

GASKET (K2)

SN: 65426-UP

1шт.

11

6138-25-5310

GAUGE,OIL

SN: 65426-UP

1шт.

12

6136-21-5410

GUIDE,GAUGE

SN: 65426-UP

1шт.

13

6136-21-5710

PLATE

SN: 65426-UP

1шт.

14

6110-61-6811

GASKET (K2)

SN: 65426-UP

1шт.

15

01010-51025

BOLT

SN: 65426-UP

2шт.

16

01602-21030

WASHER,SPRING

SN: 65426-UP

2шт.

Выбрано товаров: 0