Запчасти Komatsu SA6D110-1EE ТУРБОНАГНЕТАТЕЛЬ КРЫШКАAND КРЕПЛЕНИЕ ГОЛОВКА ЦИЛИНДРОВ

Схема запчастей Komatsu SA6D110-1EE - ТУРБОНАГНЕТАТЕЛЬ КРЫШКАAND КРЕПЛЕНИЕ ГОЛОВКА ЦИЛИНДРОВ
FIT
1:1
100%

Артикул

Название

Примечание

Количество

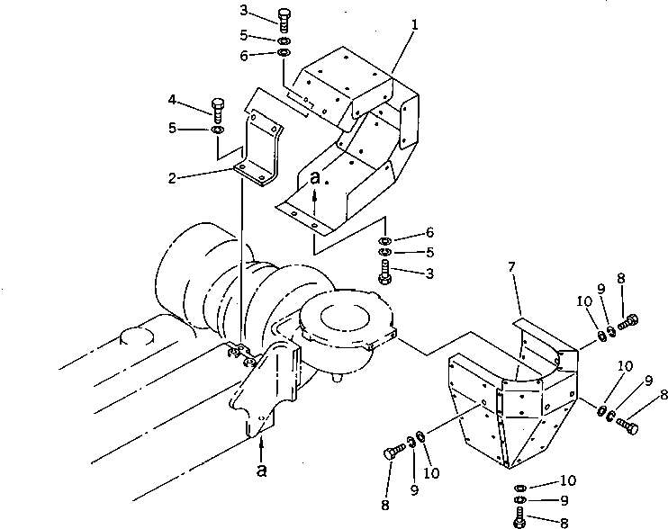
1

6138-15-5540

COVER,TURBOCHARGER

SN: 65426-UP

1шт.

2

6138-15-5560

BRACKET

SN: 65426-UP

1шт.

3

01010-50816

BOLT

SN: 65426-UP

4шт.

4

01010-50820

BOLT

SN: 65426-UP

2шт.

5

01602-20825

WASHER,SPRING

SN: 65426-UP

6шт.

6

01640-20816

WASHER

SN: 65426-UP

4шт.

7

6138-15-5550

COVER,EXHAUST ELBOW

SN: 65426-UP

1шт.

8

01010-50816

BOLT

SN: 65426-UP

5шт.

9

01602-20825

WASHER,SPRING

SN: 65426-UP

5шт.

10

01640-20816

WASHER

SN: 65426-UP

5шт.

Выбрано товаров: 10