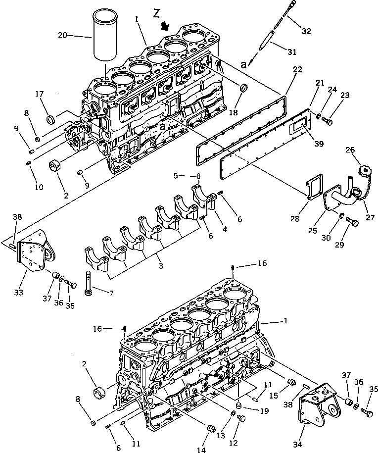
Запчасти Komatsu SA6D110-1F БЛОК ЦИЛИНДРОВ(№-89) БЛОК ЦИЛИНДРОВ

Схема запчастей Komatsu SA6D110-1F - БЛОК ЦИЛИНДРОВ(№-89) БЛОК ЦИЛИНДРОВ
FIT
1:1
100%

Артикул

Название

Примечание

Количество

|1

6138-22-1010

CYLINDER BLOCK ASS'Y

SN: 50001-52289

1шт.

|1

6138-22-1020

CYLINDER BLOCK A.

SN: 50001-52289

1шт.

1

0

BLOCK,CYLINDER

SN: 50001-52289

1шт.

2

6136-21-1410

BUSHING,CAM

SN: 50001-@

4шт.

3

0

CAP,MAIN METAL

SN: 50001-@

6шт.

4

0

CAP,MAIN METAL

SN: 50001-@

1шт.

5

04020-00514

PIN,DOWEL

SN: 50001-@

1шт.

6

04025-00408

PIN,SPRING

SN: 50001-@

6шт.

7

6136-22-1710

BOLT,MAIN CAP

SN: 50001-@

14шт.

8

6130-11-1420

PLUG,EXPANSION

SN: 50001-@

2шт.

9

6136-21-1911

PIN,DOWEL

SN: 50001-@

2шт.

10

04025-00512

PIN,SPRING

SN: 50001-@

1шт.

11

04020-01228

PIN,DOWEL

SN: 50001-@

4шт.

12

07040-11209

PLUG

SN: 50001-@

1шт.

13

07005-01212

GASKET (K2)

SN: 50001-@

1шт.

14

07042-00211

PLUG

SN: 50001-@

1шт.

15

07042-00108

PLUG

SN: 50001-@

3шт.

16

04025-00820

PIN,SPRING

SN: 50001-@

2шт.

17

07046-45016

PLUG

SN: 50001-52289

1шт.

18

07046-44016

PLUG

SN: 50001-52289

7шт.

19

07043-00312

PLUG

SN: 50001-52289

1шт.

20

6138-21-2210

LINER,CYLINDER (MARK A)

SN: 50001-@

6шт.

|20

6138-21-2220

LINER,CYLINDER (MARK B)

SN: 50001-@

6шт.

21

6138-21-7310

COVER

SN: 50001-52289

1шт.

22

6138-21-7321

GASKET (K2)

SN: 50001-52289

1шт.

23

01010-30820

BOLT

SN: 50001-52289

24шт.

24

01602-00825

WASHER,SPRING

SN: 50001-52289

24шт.

|25

6138-21-7100

FILLER ASS'Y

SN: 50001-@

1шт.

25

6138-21-7110

FILLER,OIL

SN: 50001-@

1шт.

26

6136-21-7120

CAP ASS'Y

SN: 50001-@

1шт.

|26

6136-21-7180

GASKET

SN: 50001-@

1шт.

27

6136-21-7190

CHAIN

SN: 50001-@

1шт.

28

6136-21-7811

GASKET (K2)

SN: 50001-@

1шт.

29

01010-31030

BOLT

SN: 50001-@

4шт.

30

01602-01030

WASHER,SPRING

SN: 50001-@

4шт.

31

6136-21-5410

GUIDE,OIL GAUGE

SN: 50001-@

1шт.

32

6136-21-5310

GAUGE,OIL

SN: 50001-@

1шт.

33

142-01-11480

BRACKET,FRONT¤ L.H.

SN: 50001-@

1шт.

34

142-01-11470

BRACKET,FRONT¤ R.H.

SN: 50001-@

1шт.

35

01010-31250

BOLT

SN: 50001-@

12шт.

36

01643-31232

WASHER

SN: 50001-@

12шт.

37

142-01-11520

SEAT

SN: 50001-@

12шт.

38

04020-01228

PIN,DOWEL

SN: 50001-@

4шт.

39

6138-81-2130

PLATE¤ NAME,(LIMITED SUPPLY) (ENGLISH)

SN: 50001-52289

1шт.

|39

09605-21420

PLATE¤ NAME,(LIMITED SUPPLY) (GERMAN)

SN: 50001-@

1шт.

|39

09605-53420

PLATE¤ NAME,(LIMITED SUPPLY) (FRENCH)

SN: 50001-@

1шт.

Выбрано товаров: 46