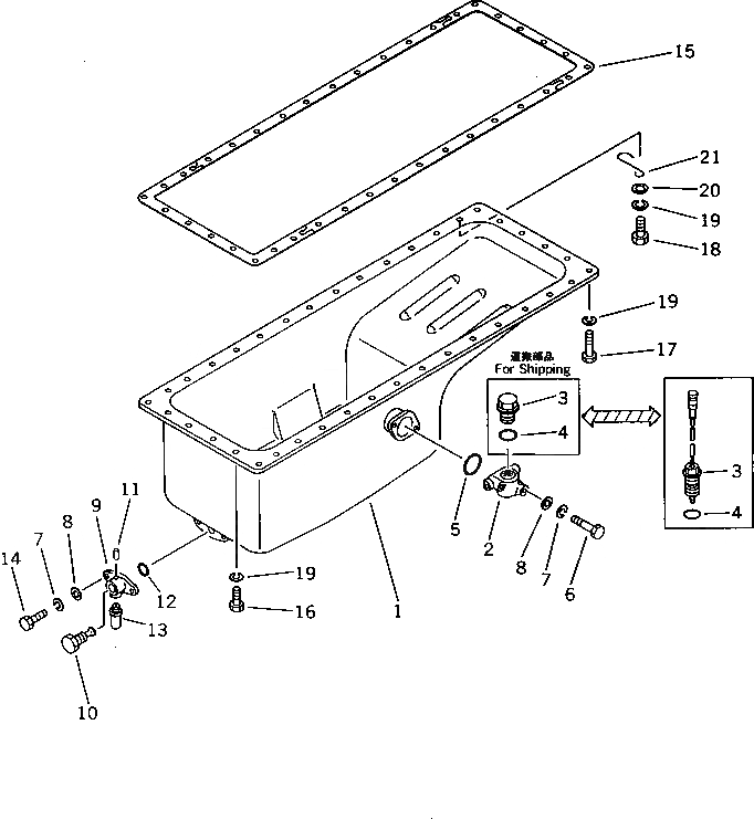
Запчасти Komatsu SA6D110-1F МАСЛЯНЫЙ ПОДДОН БЛОК ЦИЛИНДРОВ

Схема запчастей Komatsu SA6D110-1F - МАСЛЯНЫЙ ПОДДОН БЛОК ЦИЛИНДРОВ
FIT
1:1
100%

Артикул

Название

Примечание

Количество

1

6138-21-5180

PAN,OIL

SN: 50001-UP

1шт.

|1

6138-21-5190

PAN,OIL (FOR SLAG HANDLING)

SN: 50001-UP

1шт.

2

6137-21-5710

CASE,OIL LEVEL

SN: 50001-UP

1шт.

3

07044-13620

PLUG,(FOR SHIPPING)

SN: 50001-UP

1шт.

|3

7861-91-4500

SENSOR,OIL LEVEL

SN: (1400)-UP

1шт.

|3

0

SENSOR,OIL LEVEL

SN: (1001)-(1399)

1шт.

4

07002-03634

O-RING (K2)

SN: 50001-UP

1шт.

5

07000-62055

O-RING (K2)

SN: 50001-UP

1шт.

6

01010-31065

BOLT

SN: 50001-UP

2шт.

7

01602-01030

WASHER,SPRING

SN: 50001-UP

4шт.

8

01640-21016

WASHER

SN: 50001-UP

4шт.

|9

6138-21-5550

VALVE ASS'Y

SN: 50001-UP

1шт.

9

6693-22-5610

BODY,VALVE

SN: 50001-UP

1шт.

10

6693-22-5620

VALVE

SN: 50001-UP

1шт.

11

04020-00514

PIN,DOWEL

SN: 50001-UP

1шт.

12

07000-63028

O-RING (K2)

SN: 50001-UP

1шт.

13

6138-21-5560

NIPPLE

SN: 50001-UP

1шт.

14

01010-31030

BOLT

SN: 50001-UP

2шт.

15

6136-21-5810

GASKET (K2)

SN: 50001-UP

1шт.

16

01010-30825

BOLT

SN: 50001-UP

8шт.

17

01010-30822

BOLT

SN: 50001-UP

29шт.

18

01010-30830

BOLT

SN: 50001-UP

1шт.

19

01602-00825

WASHER,SPRING

SN: 50001-UP

38шт.

20

01640-00816

WASHER

SN: 50001-UP

1шт.

21

6130-22-5290

CLIP

SN: 50001-UP

1шт.

Выбрано товаров: 25