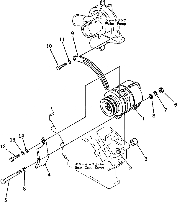
Запчасти Komatsu SA6D110-1G ГЕНЕРАТОР И КРЕПЛЕНИЕ (A¤ A) ЭЛЕКТРИКА

Схема запчастей Komatsu SA6D110-1G - ГЕНЕРАТОР И КРЕПЛЕНИЕ (A¤ A) ЭЛЕКТРИКА
FIT
1:1
100%

Артикул

Название

Примечание

Количество

1

600-821-6130

ALTERNATOR A. (25A),(SEE FIG.0641A)

SN: 14591-UP

1шт.

1

600-821-5540

ALTERNATOR A. (25A),(SEE FIG.0641)

SN: 12653-14590

1шт.

1

600-821-3180

ALTERNATOR A. (10A),(TROPICAL SANDY, DUSTY SPEC.)

SN: 12653-UP

1шт.

2

6136-21-6610

SPACER

SN: 12653-UP

1шт.

3

6136-21-6620

SPACER

SN: 12653-UP

1шт.

4

6136-81-8810

COVER

SN: 12653-UP

1шт.

4

6138-81-8810

COVER,(TROPICAL SANDY, DUSTY SPEC.)

SN: 12653-UP

1шт.

5

6112-21-6580

BOLT

SN: 12653-UP

1шт.

6

01580-01411

NUT

SN: 12653-UP

1шт.

7

01602-01442

WASHER,SPRING

SN: 12653-UP

1шт.

8

01641-21423

WASHER

SN: 12653-UP

2шт.

9

6136-21-6723

PLATE,ADJUST

SN: 12653-UP

1шт.

9

6672-22-6352

PLATE,(TROPICAL SANDY, DUSTY SPEC.)

SN: 12653-UP

1шт.

10

01435-01025

BOLT

SN: 60739-UP

1шт.

10

01010-31025

BOLT

SN: 12653-60738

1шт.

11

01602-01030

WASHER,SPRING

SN: 12653-60738

1шт.

12

01050-31235

BOLT

SN: 60941-UP

1шт.

12

01050-31230

BOLT

SN: 12653-60940

1шт.

12

01050-31235

BOLT,(TROPICAL SANDY, DUSTY SPEC.)

SN: 12653-UP

1шт.

13

01602-01236

WASHER,SPRING

SN: 12653-UP

1шт.

14

01643-31232

WASHER

SN: 12653-UP

1шт.

15

01643-31445

WASHER

SN: 12653-UP

1шт.

Выбрано товаров: 22