Запчасти Komatsu SA6D110-1J БЛОК ЦИЛИНДРОВ(№-7) БЛОК ЦИЛИНДРОВ

Схема запчастей Komatsu SA6D110-1J - БЛОК ЦИЛИНДРОВ(№-7) БЛОК ЦИЛИНДРОВ
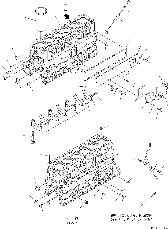
1
1
2
2
3
4
5
6
6
6
7
8
8
9
9
10
11
11
11
12
13
14
15
16
16
17
18
19
20
21
22
23
24
24
25
26
26
26
27
28
29
30
31
32
33
34
35
1
1
2
2
3
4
5
6
6
6
7
8
8
9
9
10
11
11
11
12
13
14
15
16
16
17
18
19
20
21
22
23
24
24
25
26
26
26
27
28
29
30
31
32
33
34
35
FIT
1:1
100%

Артикул

Название

Примечание

Количество

|1

6138-22-1010

CYLINDER BLOCK ASS'Y

SN: 50202-52372

1шт.

1

0

BLOCK,CYLINDER

SN: 50202-52372

1шт.

2

6136-21-1410

BUSHING,CAM

SN: 50202-@

4шт.

3

0

CAP,MAIN METAL

SN: 50202-@

6шт.

4

0

CAP,MAIN METAL

SN: 50202-@

1шт.

5

04020-00514

PIN,DOWEL

SN: 50202-@

2шт.

6

04025-00408

PIN,SPRING

SN: 50202-@

6шт.

7

6136-22-1710

BOLT,MAIN CAP

SN: 50202-@

14шт.

8

6130-11-1420

PLUG,EXPANSION

SN: 50202-@

2шт.

9

6136-21-1911

PIN,DOWEL

SN: 50202-@

2шт.

10

04025-00512

PIN,SPRING

SN: 50202-@

1шт.

11

04020-01228

PIN,DOWEL

SN: 50202-@

4шт.

12

07040-11209

PLUG

SN: 50202-@

1шт.

13

07005-01212

GASKET (K2)

SN: 50202-@

1шт.

14

07042-00211

PLUG

SN: 50202-@

1шт.

15

07042-00108

PLUG

SN: 50202-@

3шт.

16

04025-00820

PIN,SPRING

SN: 50202-@

2шт.

17

07046-45016

PLUG

SN: 50202-52372

1шт.

18

07046-44016

PLUG

SN: 50202-52372

7шт.

19

07043-00312

PLUG

SN: 50202-52372

1шт.

20

6138-21-2210

LINER,CYLINDER (MARK A)

SN: 50202-@

-2шт.

|20

6138-21-2220

LINER,CYLINDER (MARK B)

SN: 50202-@

-2шт.

21

6138-21-7310

COVER

SN: 50202-52372

1шт.

22

6138-21-7321

GASKET (K2)

SN: 50202-52372

1шт.

23

08036-10810

CLIP

SN: 50202-52372

2шт.

24

01010-30820

BOLT

SN: 50202-52372

23шт.

25

01010-30830

BOLT

SN: 50202-52372

1шт.

26

01602-00825

WASHER,SPRING

SN: 50202-52372

24шт.

|27

6138-21-7100

FILLER ASS'Y

SN: 50202-@

1шт.

27

6138-21-7110

FILLER,OIL

SN: 50202-@

1шт.

28

6136-21-7120

CAP ASS'Y

SN: 50202-@

1шт.

|28

6136-21-7180

GASKET

SN: 50202-@

1шт.

29

6136-21-7190

CHAIN

SN: 50202-@

1шт.

30

6136-21-7811

GASKET (K2)

SN: 50202-@

1шт.

31

01010-31030

BOLT

SN: 50202-@

4шт.

32

01602-01030

WASHER,SPRING

SN: 50202-@

4шт.

33

6136-21-5410

GUIDE,OIL GAUGE

SN: 50202-@

1шт.

34

6136-21-5310

GAUGE,OIL

SN: 50202-@

1шт.

35

6138-81-2130

PLATE¤ NAME,(LIMITED SUPPLY) (ENGLISH)

SN: 50202-52372

1шт.

|35

6138-82-2820

PLATE¤ NAME,(LIMITED SUPPLY) (PERSIAN)

SN: 50202-52372

1шт.

|1

6138-22-1010

CYLINDER BLOCK ASS'Y

SN: 50202-52372

1шт.

1

0

BLOCK,CYLINDER

SN: 50202-52372

1шт.

2

6136-21-1410

BUSHING,CAM

SN: 50202-@

4шт.

3

0

CAP,MAIN METAL

SN: 50202-@

6шт.

4

0

CAP,MAIN METAL

SN: 50202-@

1шт.

5

04020-00514

PIN,DOWEL

SN: 50202-@

2шт.

6

04025-00408

PIN,SPRING

SN: 50202-@

6шт.

7

6136-22-1710

BOLT,MAIN CAP

SN: 50202-@

14шт.

8

6130-11-1420

PLUG,EXPANSION

SN: 50202-@

2шт.

9

6136-21-1911

PIN,DOWEL

SN: 50202-@

2шт.

10

04025-00512

PIN,SPRING

SN: 50202-@

1шт.

11

04020-01228

PIN,DOWEL

SN: 50202-@

4шт.

12

07040-11209

PLUG

SN: 50202-@

1шт.

13

07005-01212

GASKET (K2)

SN: 50202-@

1шт.

14

07042-00211

PLUG

SN: 50202-@

1шт.

15

07042-00108

PLUG

SN: 50202-@

3шт.

16

04025-00820

PIN,SPRING

SN: 50202-@

2шт.

17

07046-45016

PLUG

SN: 50202-52372

1шт.

18

07046-44016

PLUG

SN: 50202-52372

7шт.

19

07043-00312

PLUG

SN: 50202-52372

1шт.

20

6138-21-2210

LINER,CYLINDER (MARK A)

SN: 50202-@

-2шт.

|20

6138-21-2220

LINER,CYLINDER (MARK B)

SN: 50202-@

-2шт.

21

6138-21-7310

COVER

SN: 50202-52372

1шт.

22

6138-21-7321

GASKET (K2)

SN: 50202-52372

1шт.

23

08036-10810

CLIP

SN: 50202-52372

2шт.

24

01010-30820

BOLT

SN: 50202-52372

23шт.

25

01010-30830

BOLT

SN: 50202-52372

1шт.

26

01602-00825

WASHER,SPRING

SN: 50202-52372

24шт.

|27

6138-21-7100

FILLER ASS'Y

SN: 50202-@

1шт.

27

6138-21-7110

FILLER,OIL

SN: 50202-@

1шт.

28

6136-21-7120

CAP ASS'Y

SN: 50202-@

1шт.

|28

6136-21-7180

GASKET

SN: 50202-@

1шт.

29

6136-21-7190

CHAIN

SN: 50202-@

1шт.

30

6136-21-7811

GASKET (K2)

SN: 50202-@

1шт.

31

01010-31030

BOLT

SN: 50202-@

4шт.

32

01602-01030

WASHER,SPRING

SN: 50202-@

4шт.

33

6136-21-5410

GUIDE,OIL GAUGE

SN: 50202-@

1шт.

34

6136-21-5310

GAUGE,OIL

SN: 50202-@

1шт.

35

6138-81-2130

PLATE¤ NAME,(LIMITED SUPPLY) (ENGLISH)

SN: 50202-52372

1шт.

|35

6138-82-2820

PLATE¤ NAME,(LIMITED SUPPLY) (PERSIAN)

SN: 50202-52372

1шт.

Выбрано товаров: 80