Запчасти Komatsu SA6D110-1J БЛОК ЦИЛИНДРОВ(№7-) БЛОК ЦИЛИНДРОВ

Схема запчастей Komatsu SA6D110-1J - БЛОК ЦИЛИНДРОВ(№7-) БЛОК ЦИЛИНДРОВ
FIT
1:1
100%

Артикул

Название

Примечание

Количество

|1

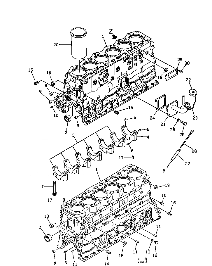
6138-22-1011

CYLINDER BLOCK ASS'Y

SN: 52373-UP

1шт.

1

0

BLOCK,CYLINDER

SN: 52373-UP

1шт.

2

6136-21-1410

BUSHING,CAM

SN: 50202-UP

4шт.

3

0

CAP,MAIN METAL

SN: 50202-UP

6шт.

4

0

CAP,MAIN METAL

SN: 50202-UP

1шт.

5

04020-00514

PIN,DOWEL

SN: 50202-UP

2шт.

6

04025-00408

PIN,SPRING

SN: 50202-UP

6шт.

7

6136-22-1710

BOLT,MAIN CAP

SN: 50202-UP

14шт.

8

6130-11-1420

PLUG,EXPANSION

SN: 50202-UP

2шт.

9

6136-21-1911

PIN,DOWEL

SN: 50202-UP

2шт.

10

04025-00512

PIN,SPRING

SN: 50202-UP

1шт.

11

04020-01228

PIN,DOWEL

SN: 50202-UP

4шт.

12

07040-11209

PLUG

SN: 50202-UP

1шт.

13

07005-01212

GASKET (K2)

SN: 50202-UP

1шт.

14

07042-00211

PLUG

SN: 50202-UP

1шт.

15

07043-50211

PLUG

SN: 50202-UP

2шт.

16

07042-00108

PLUG

SN: 50202-UP

3шт.

17

04025-00820

PIN,SPRING

SN: 50202-UP

2шт.

18

07046-43516

PLUG

SN: 50202-UP

10шт.

19

07046-43016

PLUG

SN: 50202-UP

1шт.

20

6138-21-2210

LINER,CYLINDER (MARK A)

SN: 50202-UP

-2шт.

|20

6138-21-2220

LINER,CYLINDER (MARK B)

SN: 50202-UP

-2шт.

|21

6138-21-7100

FILLER ASS'Y

SN: 50202-UP

1шт.

21

6138-21-7110

FILLER,OIL

SN: 50202-UP

1шт.

22

6136-21-7120

CAP ASS'Y

SN: 50202-UP

1шт.

|22

6136-21-7180

GASKET,(NOT SHOWN)

SN: 50202-UP

1шт.

23

6136-21-7190

CHAIN

SN: 50202-UP

1шт.

24

6136-21-7811

GASKET (K2)

SN: 50202-UP

1шт.

25

01435-01025

BOLT

SN: 58198-UP

4шт.

|25

0

BOLT

SN: 50202-58197

4шт.

26

01602-01030

WASHER,SPRING

SN: 50202-58197

4шт.

27

6136-21-5410

GUIDE,OIL GAUGE

SN: 50202-UP

1шт.

28

6136-21-5310

GAUGE,OIL

SN: 50202-UP

1шт.

29

09605-01420

PLATE¤ NAME,(LIMITED SUPPLY) (ENGLISH)

SN: 52373-UP

1шт.

|29

09605-11420

PLATE¤ NAME,(LIMITED SUPPLY) (SPANISH)

SN: 52373-UP

1шт.

|29

09605-13355

PLATE¤ NAME,(LIMITED SUPPLY) (PERSIAN)

SN: 52373-UP

1шт.

|29

09605-17355

PLATE¤ NAME,(LIMITED SUPPLY) (ARABIC)

SN: 52373-UP

1шт.

|29

09605-21420

PLATE¤ NAME,(LIMITED SUPPLY) (GERMAN)

SN: 52373-UP

1шт.

|29

09605-31420

PLATE¤ NAME,(LIMITED SUPPLY) (INDONESIAN)

SN: 52373-UP

1шт.

|29

09605-53420

PLATE¤ NAME,(LIMITED SUPPLY) (FRENCH)

SN: 52373-UP

1шт.

|29

09605-61420

PLATE¤ NAME,(LIMITED SUPPLY) (ITALIAN)

SN: 52373-UP

1шт.

|29

09605-71420

PLATE¤ NAME,(LIMITED SUPPLY) (PORTUGUESE)

SN: 52373-UP

1шт.

|29

09605-91420

PLATE¤ NAME,(LIMITED SUPPLY) (CHINESE)

SN: 52373-UP

1шт.

30

04418-02550

SCREW

SN: 52373-UP

4шт.

|1

6138-22-1011

CYLINDER BLOCK ASS'Y

SN: 52373-UP

1шт.

1

0

BLOCK,CYLINDER

SN: 52373-UP

1шт.

2

6136-21-1410

BUSHING,CAM

SN: 50202-UP

4шт.

3

0

CAP,MAIN METAL

SN: 50202-UP

6шт.

4

0

CAP,MAIN METAL

SN: 50202-UP

1шт.

5

04020-00514

PIN,DOWEL

SN: 50202-UP

2шт.

6

04025-00408

PIN,SPRING

SN: 50202-UP

6шт.

7

6136-22-1710

BOLT,MAIN CAP

SN: 50202-UP

14шт.

8

6130-11-1420

PLUG,EXPANSION

SN: 50202-UP

2шт.

9

6136-21-1911

PIN,DOWEL

SN: 50202-UP

2шт.

10

04025-00512

PIN,SPRING

SN: 50202-UP

1шт.

11

04020-01228

PIN,DOWEL

SN: 50202-UP

4шт.

12

07040-11209

PLUG

SN: 50202-UP

1шт.

13

07005-01212

GASKET (K2)

SN: 50202-UP

1шт.

14

07042-00211

PLUG

SN: 50202-UP

1шт.

15

07043-50211

PLUG

SN: 50202-UP

2шт.

16

07042-00108

PLUG

SN: 50202-UP

3шт.

17

04025-00820

PIN,SPRING

SN: 50202-UP

2шт.

18

07046-43516

PLUG

SN: 50202-UP

10шт.

19

07046-43016

PLUG

SN: 50202-UP

1шт.

20

6138-21-2210

LINER,CYLINDER (MARK A)

SN: 50202-UP

-2шт.

|20

6138-21-2220

LINER,CYLINDER (MARK B)

SN: 50202-UP

-2шт.

|21

6138-21-7100

FILLER ASS'Y

SN: 50202-UP

1шт.

21

6138-21-7110

FILLER,OIL

SN: 50202-UP

1шт.

22

6136-21-7120

CAP ASS'Y

SN: 50202-UP

1шт.

|22

6136-21-7180

GASKET,(NOT SHOWN)

SN: 50202-UP

1шт.

23

6136-21-7190

CHAIN

SN: 50202-UP

1шт.

24

6136-21-7811

GASKET (K2)

SN: 50202-UP

1шт.

25

01435-01025

BOLT

SN: 58198-UP

4шт.

|25

0

BOLT

SN: 50202-58197

4шт.

26

01602-01030

WASHER,SPRING

SN: 50202-58197

4шт.

27

6136-21-5410

GUIDE,OIL GAUGE

SN: 50202-UP

1шт.

28

6136-21-5310

GAUGE,OIL

SN: 50202-UP

1шт.

29

09605-01420

PLATE¤ NAME,(LIMITED SUPPLY) (ENGLISH)

SN: 52373-UP

1шт.

|29

09605-11420

PLATE¤ NAME,(LIMITED SUPPLY) (SPANISH)

SN: 52373-UP

1шт.

|29

09605-13355

PLATE¤ NAME,(LIMITED SUPPLY) (PERSIAN)

SN: 52373-UP

1шт.

|29

09605-17355

PLATE¤ NAME,(LIMITED SUPPLY) (ARABIC)

SN: 52373-UP

1шт.

|29

09605-21420

PLATE¤ NAME,(LIMITED SUPPLY) (GERMAN)

SN: 52373-UP

1шт.

|29

09605-31420

PLATE¤ NAME,(LIMITED SUPPLY) (INDONESIAN)

SN: 52373-UP

1шт.

|29

09605-53420

PLATE¤ NAME,(LIMITED SUPPLY) (FRENCH)

SN: 52373-UP

1шт.

|29

09605-61420

PLATE¤ NAME,(LIMITED SUPPLY) (ITALIAN)

SN: 52373-UP

1шт.

|29

09605-71420

PLATE¤ NAME,(LIMITED SUPPLY) (PORTUGUESE)

SN: 52373-UP

1шт.

|29

09605-91420

PLATE¤ NAME,(LIMITED SUPPLY) (CHINESE)

SN: 52373-UP

1шт.

30

04418-02550

SCREW

SN: 52373-UP

4шт.

Выбрано товаров: 88