Запчасти Komatsu SA6D110-1V ГЛУШИТЕЛЬ И КРЕПЛЕНИЕ ГОЛОВКА ЦИЛИНДРОВ

Схема запчастей Komatsu SA6D110-1V - ГЛУШИТЕЛЬ И КРЕПЛЕНИЕ ГОЛОВКА ЦИЛИНДРОВ
FIT
1:1
100%

Артикул

Название

Примечание

Количество

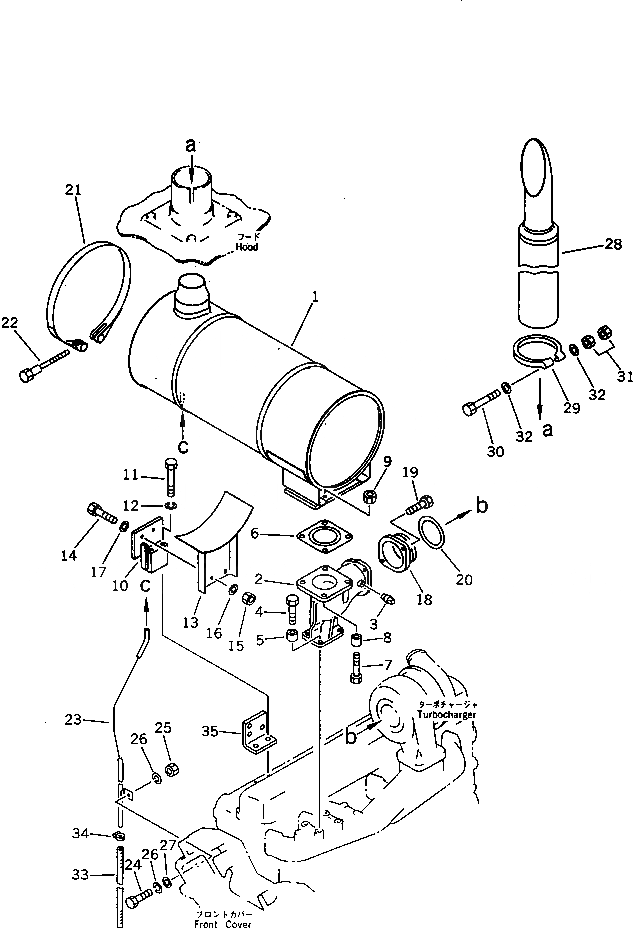
1

6137-11-5220

MUFFLER

SN: 56995-UP

1шт.

2

6138-11-5370

ELBOW,EXHAUST

SN: 56995-UP

1шт.

3

07042-20108

PLUG

SN: 56995-UP

1шт.

4

01435-01045

BOLT

SN: 60730-UP

4шт.

|4

0

BOLT

SN: 56995-60729

4шт.

5

6631-11-5630

SPACER

SN: 56995-UP

4шт.

6

6138-11-5810

GASKET (K1)

SN: 56995-UP

1шт.

7

01435-01260

BOLT

SN: 60730-UP

4шт.

|7

0

BOLT

SN: 56995-60729

4шт.

8

6678-51-9520

SPACER

SN: 56995-UP

4шт.

9

01584-01210

NUT

SN: 60730-UP

4шт.

|9

0

NUT

SN: 56995-60729

4шт.

10

6138-11-5770

BRACKET,MUFFLER

SN: 56995-UP

1шт.

11

01435-01090

BOLT

SN: 60730-UP

2шт.

|11

0

BOLT

SN: 56995-60729

2шт.

12

01602-01030

WASHER,SPRING

SN: 56995-60729

2шт.

13

6137-11-5651

BRACKET

SN: 56995-UP

1шт.

14

01435-01030

BOLT

SN: 60730-UP

2шт.

|14

0

BOLT

SN: 56995-60729

2шт.

15

01584-01008

NUT

SN: 60730-UP

2шт.

|15

0

NUT

SN: 56995-60729

2шт.

16

01643-31032

WASHER

SN: 60730-UP

2шт.

|16

0

WASHER

SN: 56995-60729

2шт.

17

01640-21016

WASHER

SN: 56695-60729

2шт.

18

6138-11-5230

JOINT

SN: 56995-UP

1шт.

19

6131-11-5360

BOLT

SN: 56995-UP

2шт.

20

6136-12-5280

RING,SEAL

SN: 56995-UP

1шт.

21

6137-11-5690

BAND ASS'Y

SN: 56995-UP

1шт.

|21

6110-11-4520

PIN

SN: 56995-UP

1шт.

|21

6110-11-4530

PIN¤ WITH THREAD

SN: 56995-UP

1шт.

22

6643-11-4641

BOLT

SN: 56995-UP

1шт.

23

6137-11-5782

PIPE,DRAIN

SN: 56995-UP

1шт.

24

01435-00865

BOLT,(SEE FIG.0206)

SN: 60730-UP

1шт.

|24

0

BOLT,(SEE FIG.0206)

SN: 56995-60729

1шт.

25

01584-00806

NUT,(SEE FIG.0206)

SN: 60730-UP

1шт.

|25

0

NUT,(SEE FIG.0206)

SN: 56995-60729

1шт.

26

01602-00825

WASHER,SPRING (SEE FIG.0206)

SN: 56995-60729

1шт.

27

01640-20816

WASHER,(SEE FIG.0206)

SN: 56995-60729

1шт.

28

6151-11-5590

PIPE,EXHAUST (WITH GLASSWOOL)

SN: 56995-UP

1шт.

29

6138-11-5620

CLAMP

SN: 56995-UP

1шт.

30

6693-12-5550

BOLT

SN: 56995-UP

1шт.

31

01582-01411

NUT

SN: 56995-UP

2шт.

32

6151-11-5670

WASHER

SN: 56995-UP

2шт.

33

07260-20980

HOSE

SN: 56995-UP

1шт.

34

07285-00155

CLIP

SN: 60358-UP

1шт.

|34

0

CLAMP

SN: 56995-60357

1шт.

35

6138-11-4670

BRACKET,(SEE FIG.0132)

SN: 56995-UP

1шт.

1

6137-11-5220

MUFFLER

SN: 56995-UP

1шт.

2

6138-11-5370

ELBOW,EXHAUST

SN: 56995-UP

1шт.

3

07042-20108

PLUG

SN: 56995-UP

1шт.

4

01435-01045

BOLT

SN: 60730-UP

4шт.

|4

0

BOLT

SN: 56995-60729

4шт.

5

6631-11-5630

SPACER

SN: 56995-UP

4шт.

6

6138-11-5810

GASKET (K1)

SN: 56995-UP

1шт.

7

01435-01260

BOLT

SN: 60730-UP

4шт.

|7

0

BOLT

SN: 56995-60729

4шт.

8

6678-51-9520

SPACER

SN: 56995-UP

4шт.

9

01584-01210

NUT

SN: 60730-UP

4шт.

|9

0

NUT

SN: 56995-60729

4шт.

10

6138-11-5770

BRACKET,MUFFLER

SN: 56995-UP

1шт.

11

01435-01090

BOLT

SN: 60730-UP

2шт.

|11

0

BOLT

SN: 56995-60729

2шт.

12

01602-01030

WASHER,SPRING

SN: 56995-60729

2шт.

13

6137-11-5651

BRACKET

SN: 56995-UP

1шт.

14

01435-01030

BOLT

SN: 60730-UP

2шт.

|14

0

BOLT

SN: 56995-60729

2шт.

15

01584-01008

NUT

SN: 60730-UP

2шт.

|15

0

NUT

SN: 56995-60729

2шт.

16

01643-31032

WASHER

SN: 60730-UP

2шт.

|16

0

WASHER

SN: 56995-60729

2шт.

17

01640-21016

WASHER

SN: 56695-60729

2шт.

18

6138-11-5230

JOINT

SN: 56995-UP

1шт.

19

6131-11-5360

BOLT

SN: 56995-UP

2шт.

20

6136-12-5280

RING,SEAL

SN: 56995-UP

1шт.

21

6137-11-5690

BAND ASS'Y

SN: 56995-UP

1шт.

|21

6110-11-4520

PIN

SN: 56995-UP

1шт.

|21

6110-11-4530

PIN¤ WITH THREAD

SN: 56995-UP

1шт.

22

6643-11-4641

BOLT

SN: 56995-UP

1шт.

23

6137-11-5782

PIPE,DRAIN

SN: 56995-UP

1шт.

24

01435-00865

BOLT,(SEE FIG.0206)

SN: 60730-UP

1шт.

|24

0

BOLT,(SEE FIG.0206)

SN: 56995-60729

1шт.

25

01584-00806

NUT,(SEE FIG.0206)

SN: 60730-UP

1шт.

|25

0

NUT,(SEE FIG.0206)

SN: 56995-60729

1шт.

26

01602-00825

WASHER,SPRING (SEE FIG.0206)

SN: 56995-60729

1шт.

27

01640-20816

WASHER,(SEE FIG.0206)

SN: 56995-60729

1шт.

28

6151-11-5590

PIPE,EXHAUST (WITH GLASSWOOL)

SN: 56995-UP

1шт.

29

6138-11-5620

CLAMP

SN: 56995-UP

1шт.

30

6693-12-5550

BOLT

SN: 56995-UP

1шт.

31

01582-01411

NUT

SN: 56995-UP

2шт.

32

6151-11-5670

WASHER

SN: 56995-UP

2шт.

33

07260-20980

HOSE

SN: 56995-UP

1шт.

34

07285-00155

CLIP

SN: 60358-UP

1шт.

|34

0

CLAMP

SN: 56995-60357

1шт.

35

6138-11-4670

BRACKET,(SEE FIG.0132)

SN: 56995-UP

1шт.

Выбрано товаров: 94