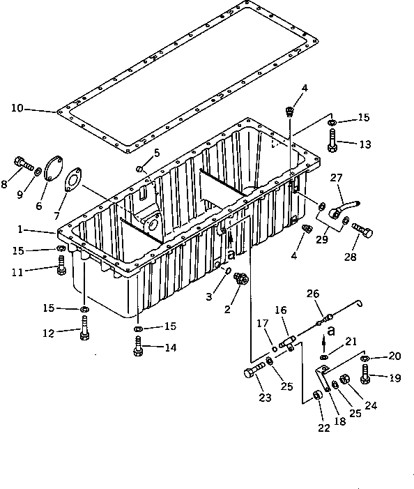
Запчасти Komatsu SA6D125-1AA МАСЛЯНЫЙ ПОДДОН БЛОК ЦИЛИНДРОВ

Схема запчастей Komatsu SA6D125-1AA - МАСЛЯНЫЙ ПОДДОН БЛОК ЦИЛИНДРОВ
FIT
1:1
100%

Артикул

Название

Примечание

Количество

1

6152-25-5112

PAN,OIL

SN: 44696-UP

1шт.

2

07044-12412

PLUG

SN: 44696-UP

1шт.

3

07002-02434

O-RING (K2)

SN: 44696-UP

1шт.

4

07043-70211

PLUG

SN: 44696-UP

2шт.

5

07046-41210

PLUG

SN: 44696-UP

1шт.

6

6136-21-5710

PLATE

SN: 44696-UP

1шт.

7

6110-61-6811

GASKET (K2)

SN: 44696-UP

1шт.

8

01010-51016

BOLT

SN: 44696-UP

2шт.

9

01640-21016

WASHER

SN: 44696-UP

2шт.

10

6150-21-5811

GASKET (K2)

SN: 44696-UP

1шт.

11

01010-51045

BOLT

SN: 44696-UP

2шт.

12

01010-51085

BOLT

SN: 44696-UP

4шт.

13

01010-51080

BOLT

SN: 44696-UP

4шт.

14

01010-51040

BOLT

SN: 44696-UP

25шт.

15

01643-31032

WASHER

SN: 44696-UP

35шт.

16

6152-25-5420

GUIDE,OIL LEVEL

SN: 44696-UP

1шт.

17

07000-61009

O-RING (K2)

SN: 44696-UP

1шт.

18

6152-25-5710

BRACKET

SN: 44696-UP

1шт.

19

01010-51040

BOLT

SN: 44696-UP

1шт.

20

01643-31032

WASHER

SN: 44696-UP

1шт.

21

01640-21016

WASHER

SN: 44696-UP

1шт.

22

6124-81-4290

SPACER

SN: 44696-UP

1шт.

23

01010-50825

BOLT

SN: 44696-UP

1шт.

24

01580-10806

NUT

SN: 44696-UP

1шт.

25

01643-30823

WASHER

SN: 44696-UP

2шт.

26

6152-25-5520

GAUGE,OIL LEVEL

SN: 44696-UP

1шт.

27

6152-55-7150

TUBE,OIL PAN DRAIN

SN: 44696-UP

1шт.

28

07206-31520

BOLT,JOINT

SN: 44696-UP

1шт.

29

07005-02012

GASKET (K2)

SN: 44696-UP

2шт.

Выбрано товаров: 29