Запчасти Komatsu SA6D125-1HH ТОПЛ. НАСОС (/)(№9-) ДВИГАТЕЛЬ

Схема запчастей Komatsu SA6D125-1HH - ТОПЛ. НАСОС (/)(№9-) ДВИГАТЕЛЬ
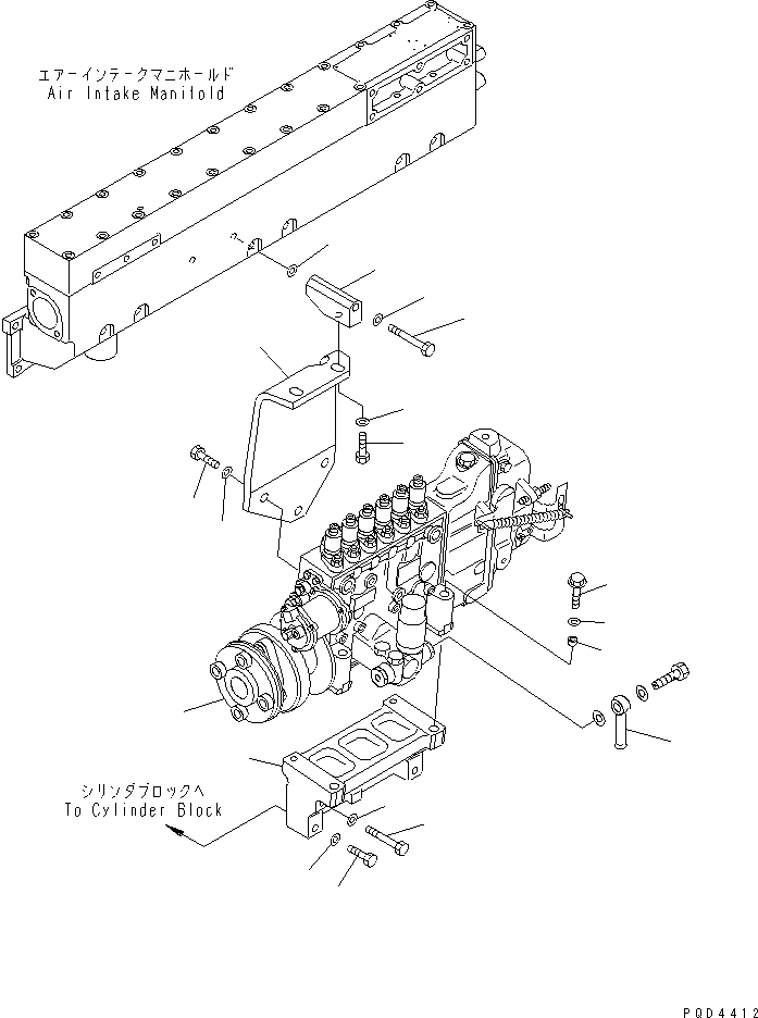
1
2
3
4
5
6
7
8
9
9
10
11
12
13
13
14
15
16
17
FIT
1:1
100%

Артикул

Название

Примечание

Количество

1

6152-75-1352

INJECTION PUMP ASS'Y,(SEE FIG.A4010-C3S6A)

SN: 10139-UP

1шт.

2

6152-75-1830

BRACKET

SN: 10001-UP

1шт.

3

01050-51420

BOLT

SN: 10001-UP

3шт.

4

6130-32-1361

WASHER

SN: 10001-UP

3шт.

5

01010-81235

BOLT

SN: 10001-UP

2шт.

6

01643-31232

WASHER

SN: 10001-UP

2шт.

7

6152-15-4910

BLOCK

SN: 10001-UP

2шт.

8

01011-81050

BOLT

SN: 10001-UP

2шт.

9

01643-31032

WASHER

SN: 10001-UP

4шт.

10

6152-25-6111

BRACKET

SN: 10001-UP

1шт.

11

01010-81075

BOLT

SN: 10001-UP

2шт.

12

01010-81060

BOLT

SN: 10001-UP

2шт.

13

01643-31032

WASHER

SN: 10001-UP

4шт.

14

01437-01090

BOLT

SN: 10001-UP

4шт.

15

01641-21016

WASHER

SN: 10001-UP

4шт.

16

6150-41-2430

PIN

SN: 10001-UP

2шт.

17

6212-76-5910

JOINT

SN: 10001-UP

1шт.

Выбрано товаров: 17