Запчасти Komatsu SA6D125-1S ТОПЛ. НАСОС И ТРУБЫ ТОПЛИВН. СИСТЕМА

Схема запчастей Komatsu SA6D125-1S - ТОПЛ. НАСОС И ТРУБЫ ТОПЛИВН. СИСТЕМА
FIT
1:1
100%

Артикул

Название

Примечание

Количество

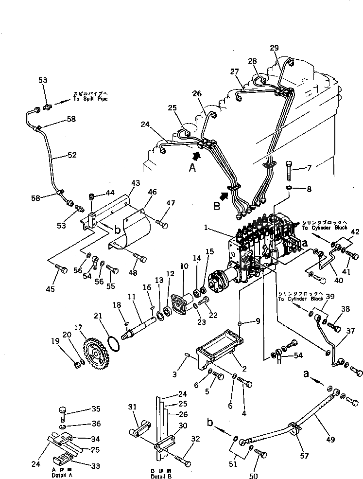
1

6152-71-1650

INJECTION PUMP A.,(SEE FIG.0451)

SN: 32170-UP

1шт.

2

6151-21-6111

BRACKET

SN: 32170-UP

1шт.

3

04020-01024

PIN,DOWEL

SN: 32170-UP

2шт.

4

01010-51075

BOLT

SN: 32170-UP

2шт.

5

01010-51045

BOLT

SN: 32170-UP

2шт.

6

01643-31032

WASHER

SN: 32170-UP

4шт.

7

6150-81-9250

BOLT

SN: 32170-UP

4шт.

8

01641-21016

WASHER

SN: 32170-UP

4шт.

9

6150-41-2430

PIN

SN: 32170-UP

2шт.

|10

6151-71-3100

CASE ASS'Y

SN: 32170-UP

1шт.

10

6151-71-3111

CASE

SN: 32170-UP

1шт.

11

6151-71-3120

SHAFT

SN: 32170-UP

1шт.

12

06030-06307

BEARING,BALL

SN: 32170-UP

1шт.

13

04065-08025

RING,SNAP

SN: 32170-UP

1шт.

14

06000-06006

BEARING,BALL

SN: 32170-UP

1шт.

15

6151-71-3150

SEAL,OIL (K2)

SN: 32170-UP

1шт.

16

6150-71-3160

KEY

SN: 32170-UP

1шт.

17

6150-71-3210

GEAR

SN: 32170-UP

1шт.

18

04010-00519

KEY

SN: 32170-UP

1шт.

19

01583-12414

NUT

SN: 32170-UP

1шт.

20

01643-32460

WASHER

SN: 32170-UP

1шт.

21

07000-02125

O-RING (K2)

SN: 32170-UP

1шт.

22

01010-51025

BOLT

SN: 32170-UP

4шт.

23

01640-21016

WASHER

SN: 32170-UP

4шт.

24

6151-71-5110

TUBE,INJECTION¤ NO.1

SN: 32170-UP

1шт.

25

6151-71-5120

TUBE,INJECTION¤ NO.2

SN: 32170-UP

1шт.

26

6151-71-5130

TUBE,INJECTION¤ NO.3

SN: 32170-UP

1шт.

27

6151-71-5140

TUBE,INJECTION¤ NO.4

SN: 32170-UP

1шт.

28

6151-71-5150

TUBE,INJECTION¤ NO.5

SN: 32170-UP

1шт.

29

6151-71-5160

TUBE,INJECTION¤ NO.6

SN: 32170-UP

1шт.

30

6144-73-5510

CLAMP

SN: 32170-UP

2шт.

31

6144-73-5520

CLAMP

SN: 32170-UP

2шт.

32

01010-51030

BOLT

SN: 32170-UP

4шт.

33

6134-71-5721

CLIP¤ WITH THREAD

SN: 32170-UP

4шт.

34

6134-71-5711

CLIP

SN: 32170-UP

4шт.

35

01010-50630

BOLT

SN: 32170-UP

4шт.

36

01602-20619

WASHER,SPRING

SN: 32170-UP

4шт.

37

6151-71-5610

TUBE

SN: 32170-UP

1шт.

38

07206-30710

BOLT,JOINT

SN: 32170-UP

1шт.

39

07005-01012

GASKET (K2)

SN: 32170-UP

2шт.

40

6151-71-5710

TUBE

SN: 32170-UP

1шт.

41

07206-31014

BOLT,JOINT

SN: 32170-UP

1шт.

42

07005-01412

GASKET (K2)

SN: 32170-UP

2шт.

43

6151-71-8530

ADAPTER

SN: 32170-UP

1шт.

44

07043-00108

PLUG

SN: 32170-UP

1шт.

45

01010-51020

BOLT

SN: 32170-UP

2шт.

46

6151-71-3831

COVER

SN: 32170-UP

1шт.

47

01010-51020

BOLT

SN: 32170-UP

2шт.

48

01010-51016

BOLT

SN: 32170-UP

2шт.

49

07271-01460

HOSE

SN: 32170-UP

1шт.

50

07206-31014

BOLT,JOINT

SN: 32170-UP

1шт.

51

07005-01412

GASKET (K2)

SN: 32170-UP

2шт.

52

6151-71-5360

TUBE

SN: 32170-UP

1шт.

53

07213-50710

CONNECTOR

SN: 32170-UP

2шт.

54

6141-71-1710

JOINT

SN: 32170-UP

1шт.

55

07206-31014

BOLT,JOINT

SN: 32170-UP

1шт.

56

07005-01412

GASKET (K2)

SN: 32170-UP

2шт.

57

08034-00414

BAND (K2)

SN: 32170-UP

1шт.

58

6710-71-8240

CLIP

SN: 32170-UP

2шт.

Выбрано товаров: 59