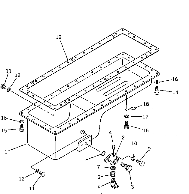
Запчасти Komatsu SA6D125-1T МАСЛЯНЫЙ ПОДДОН БЛОК ЦИЛИНДРОВ

Схема запчастей Komatsu SA6D125-1T - МАСЛЯНЫЙ ПОДДОН БЛОК ЦИЛИНДРОВ
FIT
1:1
100%

Артикул

Название

Примечание

Количество

1

6151-21-5150

PAN,OIL

SN: 31492-UP

1шт.

|2

6631-24-5600

VALVE ASS'Y

SN: 31492-UP

1шт.

2

0

BODY

SN: 31492-UP

1шт.

3

0

VALVE

SN: 31492-UP

1шт.

4

04020-00514

PIN,DOWEL

SN: 31492-UP

1шт.

5

6996-51-6120

ELBOW

SN: 31492-UP

1шт.

6

01583-02414

NUT

SN: 31492-UP

1шт.

7

07005-02416

GASKET (K2)

SN: 31492-UP

1шт.

8

07000-63028

O-RING (K2)

SN: 31492-UP

1шт.

9

01010-51025

BOLT

SN: 31492-UP

2шт.

10

01640-21016

WASHER

SN: 31492-UP

2шт.

11

6672-12-6290

PLUG

SN: 31492-UP

2шт.

12

07005-01612

GASKET (K2)

SN: 31492-UP

2шт.

13

6150-21-5811

GASKET (K2)

SN: 31492-UP

1шт.

14

01010-51025

BOLT

SN: 31492-UP

29шт.

15

01010-51030

BOLT

SN: 31492-UP

7шт.

16

01640-21016

WASHER

SN: 31492-UP

35шт.

17

01643-31032

WASHER

SN: 31492-UP

1шт.

18

6130-22-5290

CLIP

SN: 31492-UP

1шт.

Выбрано товаров: 19