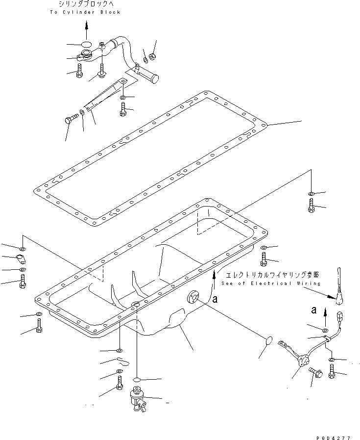
Запчасти Komatsu SA6D125E-2B-7 МАСЛЯНЫЙ ПОДДОН И ВСАСЫВАЮЩИЙ ПАТРУБОК(№79-) ДВИГАТЕЛЬ

Схема запчастей Komatsu SA6D125E-2B-7 - МАСЛЯНЫЙ ПОДДОН И ВСАСЫВАЮЩИЙ ПАТРУБОК(№79-) ДВИГАТЕЛЬ
1
2
3
4
5
6
7
8
8
8
9
9
10
11
11
11
12
13
13
13
13
13
13
14
15
16
17
18
19
20
21
22
23
24
25
25
FIT
1:1
100%

Артикул

Название

Примечание

Количество

1

6150-23-5181

PAN,OIL

SN: 74695-UP

1шт.

2

6150-23-5190

COCK,DRAIN

SN: 74695-UP

1шт.

3

07002-22434

O-RING (K2)

SN: 74695-UP

1шт.

4

7861-92-4210

SENSOR,OIL LEVEL

SN: 74695-UP

1шт.

5

7861-91-4220

O-RING (K2)

SN: 74695-UP

1шт.

6

01435-00612

BOLT

SN: 74695-UP

3шт.

7

6150-21-5812

GASKET (K2)

SN: 74695-UP

1шт.

8

01010-81030

BOLT

SN: 74695-UP

8шт.

9

01010-81025

BOLT

SN: 74695-UP

27шт.

10

01010-81035

BOLT

SN: 74695-UP

1шт.

11

01640-21016

WASHER

SN: 74695-UP

33шт.

12

6130-22-5290

CLIP,BREATHER HOSE

SN: 74695-UP

1шт.

13

01643-31032

WASHER

SN: 74695-UP

6шт.

14

6101-61-6620

CLAMP

SN: 74695-UP

1шт.

15

08036-10814

CLIP

SN: 74695-UP

1шт.

16

6150-51-6350

STRAINER,OIL

SN: 74695-UP

1шт.

17

07000-73045

O-RING

SN: 82562-UP

1шт.

|17

0

O-RING (K2)

SN: 74695-82561

1шт.

18

01010-81035

BOLT

SN: 74695-UP

1шт.

19

6150-81-9370

BOLT

SN: 74695-UP

1шт.

20

6150-51-6241

BRACKET

SN: 74695-UP

1шт.

21

01010-81020

BOLT

SN: 74695-UP

1шт.

22

01643-31032

WASHER

SN: 74695-UP

1шт.

23

01010-81025

BOLT

SN: 74695-UP

1шт.

24

01580-01008

NUT

SN: 74695-UP

1шт.

25

01640-21016

WASHER

SN: 75348-UP

2шт.

|25

0

WASHER

SN: 74695-75347

2шт.

Выбрано товаров: 27