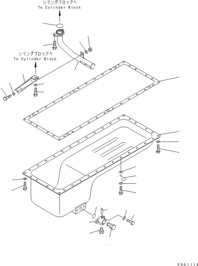
Запчасти Komatsu SA6D125E-2G-7 МАСЛЯНЫЙ ПОДДОН И ВСАСЫВАЮЩИЙ ПАТРУБОК(№7-) ДВИГАТЕЛЬ

Схема запчастей Komatsu SA6D125E-2G-7 - МАСЛЯНЫЙ ПОДДОН И ВСАСЫВАЮЩИЙ ПАТРУБОК(№7-) ДВИГАТЕЛЬ
1
2
3
4
5
5
6
7
8
9
10
11
12
13
14
15
16
17
18
19
20
21
22
23
24
25
25
FIT
1:1
100%

Артикул

Название

Примечание

Количество

1

6150-21-5120

PAN

SN: 67604-UP

1шт.

2

6150-21-5813

GASKET (K2)

SN: 98379-UP

1шт.

2

0

GASKET (K2)

SN: 67604-98378

1шт.

3

01010-81025

BOLT

SN: 67604-UP

29шт.

4

01010-81030

BOLT

SN: 67604-UP

6шт.

5

01640-21016

WASHER

SN: 67604-UP

35шт.

6

6130-22-5290

CLIP

SN: 67604-UP

1шт.

7

01010-81030

BOLT

SN: 67604-UP

1шт.

8

01643-31032

WASHER

SN: 67604-UP

1шт.

9

01640-21016

WASHER

SN: 67604-UP

1шт.

|$13

6693-22-5600

VALVE ASS'Y

SN: 67604-UP

1шт.

10

6693-22-5610

BODY,VALVE

SN: 67604-UP

1шт.

11

6693-22-5620

VALVE

SN: 67604-UP

1шт.

12

07040-02412

PLUG

SN: 67604-UP

1шт.

13

04020-00514

PIN,DOWEL

SN: 67604-UP

1шт.

14

07000-63028

O-RING (K2)

SN: 67604-UP

1шт.

15

01010-81025

BOLT

SN: 67604-UP

2шт.

16

01640-21016

WASHER

SN: 67604-UP

2шт.

17

6150-51-6230

STRAINER

SN: 67604-UP

1шт.

18

07000-73045

O-RING

SN: 82630-UP

1шт.

18

0

O-RING (K2)

SN: 67604-82629

1шт.

19

01010-81025

BOLT

SN: 67604-UP

2шт.

20

6150-51-6241

BRACKET

SN: 67604-UP

1шт.

21

01010-81020

BOLT

SN: 67604-UP

1шт.

22

01640-01016

WASHER

SN: 67604-UP

1шт.

23

01010-81025

BOLT

SN: 67604-UP

1шт.

24

01580-01008

NUT

SN: 67604-UP

1шт.

25

01640-01016

WASHER

SN: 67604-UP

2шт.

Выбрано товаров: 28