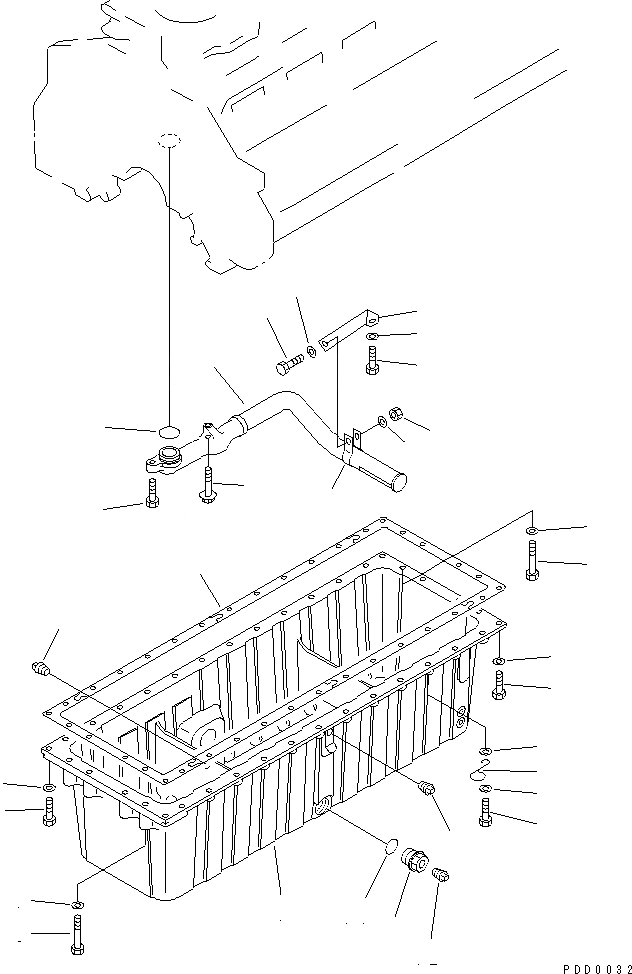
Запчасти Komatsu SA6D125E-2GD-W МАСЛЯНЫЙ ПОДДОН И ВСАСЫВАЮЩИЙ ПАТРУБОК(№9-) ДВИГАТЕЛЬ

Схема запчастей Komatsu SA6D125E-2GD-W - МАСЛЯНЫЙ ПОДДОН И ВСАСЫВАЮЩИЙ ПАТРУБОК(№9-) ДВИГАТЕЛЬ
1
2
3
4
5
6
7
7
7
7
8
9
10
10
11
11
12
13
14
15
16
17
18
19
20
21
22
23
24
24
25
FIT
1:1
100%

Артикул

Название

Примечание

Количество

1

6151-21-5222

PAN,OIL

SN: 65905-UP

1шт.

2

6150-21-5813

GASKET

SN: 77384-UP

1шт.

2

0

GASKET

SN: 65905-77383

1шт.

3

01010-81045

BOLT

SN: 65905-UP

2шт.

4

01010-81080

BOLT

SN: 65905-UP

4шт.

5

01010-81085

BOLT

SN: 65905-UP

4шт.

6

01010-81040

BOLT

SN: 65905-UP

26шт.

7

01643-51032

WASHER

SN: 65905-UP

36шт.

8

6130-22-5290

CLIP

SN: 65905-UP

1шт.

9

01010-81045

BOLT

SN: 65905-UP

1шт.

10

01643-51032

WASHER

SN: 65905-UP

2шт.

11

07042-B0211

PLUG

SN: 65905-UP

2шт.

12

07042-B0415

PLUG

SN: 65905-UP

2шт.

13

6150-21-5640

PLUG

SN: 65905-UP

1шт.

14

07002-03634

O-RING

SN: 65905-UP

1шт.

15

6152-55-6610

STRAINER,OIL

SN: 65905-UP

1шт.

16

07000-73045

O-RING

SN: 82669-UP

1шт.

16

0

O-RING

SN: 65905-82668

1шт.

17

01010-81035

BOLT

SN: 65905-UP

1шт.

18

6150-81-9370

BOLT

SN: 65905-UP

1шт.

19

6152-55-6620

BRACKET

SN: 65905-UP

1шт.

20

01010-81020

BOLT

SN: 65905-UP

1шт.

21

01640-01016

WASHER

SN: 65905-UP

1шт.

22

01010-81020

BOLT

SN: 65905-UP

1шт.

23

01580-01008

NUT

SN: 65905-UP

1шт.

24

01640-01016

WASHER

SN: 65905-UP

2шт.

25

6150-51-6270

CLAMP

SN: 65905-UP

1шт.

Выбрано товаров: 27