Запчасти Komatsu SA6D125E-2GD-W7 ТРУБОПРОВОД ВПУСКА ВОЗДУХА И ПОСЛЕОХЛАДИТЕЛЬ ДВИГАТЕЛЬ

Схема запчастей Komatsu SA6D125E-2GD-W7 - ТРУБОПРОВОД ВПУСКА ВОЗДУХА И ПОСЛЕОХЛАДИТЕЛЬ ДВИГАТЕЛЬ
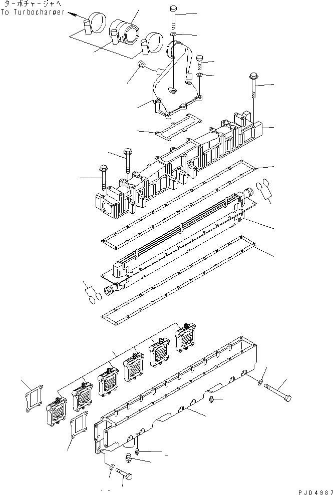
1
2
2
3
4
5
5
6
6
7
8
9
10
11
12
12
13
14
15
15
16
17
18
19
20
21
21
22
23
FIT
1:1
100%

Артикул

Название

Примечание

Количество

|1

6152-62-6101

AFTER COOLER ASS'Y

SN: 71940-UP

1шт.

|1

0

AFTER COOLER ASS'Y

SN: 65905-71939

1шт.

1

6152-12-4110

MANIFOLD,AIR INTAKE

SN: 65905-UP

1шт.

2

07042-00108

PLUG

SN: 65905-UP

2шт.

3

07042-00415

PLUG

SN: 65905-UP

1шт.

4

6152-62-6111

CORE

SN: 71940-UP

1шт.

|4

0

CORE

SN: 65905-71939

1шт.

5

6222-61-6240

O-RING

SN: 65905-UP

4шт.

6

6152-11-4731

GASKET

SN: 65905-UP

2шт.

7

6152-12-4210

COVER

SN: 65905-UP

1шт.

8

01435-00880

BOLT

SN: 68215-UP

2шт.

|8

01435-00875

BOLT

SN: 65905-68214

2шт.

9

01435-00890

BOLT

SN: 65905-UP

3шт.

10

01435-00885

BOLT

SN: 65905-UP

19шт.

11

600-815-3820

HEATER,RIBBON

SN: 65905-UP

6шт.

12

6150-13-4810

GASKET

SN: 65905-UP

12шт.

13

01010-81050

BOLT

SN: 65905-UP

18шт.

14

01011-81055

BOLT

SN: 65905-UP

6шт.

15

01640-21016

WASHER

SN: 65905-UP

24шт.

16

6152-11-4340

CONNECTOR

SN: 65905-UP

1шт.

17

02720-20204

PLUG

SN: 65905-UP

1шт.

18

6152-11-4721

GASKET

SN: 65905-UP

1шт.

19

01010-81035

BOLT

SN: 65905-UP

3шт.

20

01010-81075

BOLT

SN: 65905-UP

3шт.

21

01640-21016

WASHER

SN: 65905-UP

6шт.

22

6151-11-4410

HOSE

SN: 65905-UP

1шт.

23

07281-01029

CLAMP

SN: 65905-UP

3шт.

Выбрано товаров: 27