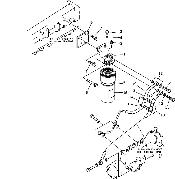
Запчасти Komatsu SA6D132-1W ТОПЛИВН. ФИЛЬТР. И ТРУБЫ ТОПЛИВН. СИСТЕМА

Схема запчастей Komatsu SA6D132-1W - ТОПЛИВН. ФИЛЬТР. И ТРУБЫ ТОПЛИВН. СИСТЕМА
FIT
1:1
100%

Артикул

Название

Примечание

Количество

|1

6210-71-6200

FUEL FILTER ASS'Y

SN: 14068-UP

1шт.

1

6210-71-6210

HEAD

SN: 14068-UP

1шт.

2

07043-10108

PLUG

SN: 14068-UP

1шт.

3

6110-73-6231

PLUG

SN: 14068-UP

1шт.

4

07005-00812

GASKET

SN: 14068-UP

1шт.

5

600-311-7130

CARTRIDGE

SN: 14068-UP

1шт.

6

6212-75-8550

PLATE

SN: 14068-UP

1шт.

7

01435-01030

BOLT

SN: 14068-UP

6шт.

8

01436-01010

BOLT

SN: 14068-UP

2шт.

9

07271-11470

HOSE,INLET

SN: 14068-UP

1шт.

10

6212-75-5310

HOSE,OUTLET

SN: 14068-UP

1шт.

11

07206-31014

BOLT,JOINT

SN: 14068-UP

2шт.

12

07005-01412

GASKET (K2)

SN: 14068-UP

4шт.

13

113-06-23220

COVER

SN: 14068-UP

4шт.

14

08034-00519

BAND

SN: 14068-UP

2шт.

15

6136-85-2210

PLATE¤ CAUTION,(JAPANESE-ENGLISH)

SN: 14068-UP

1шт.

Выбрано товаров: 16