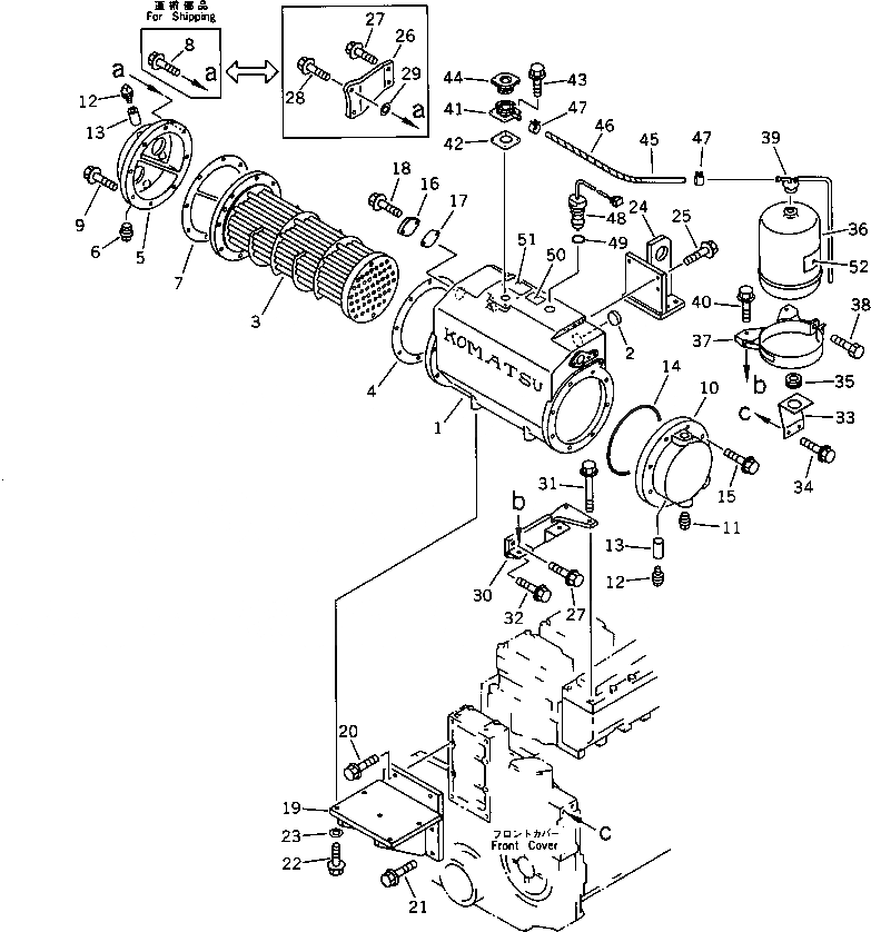
Запчасти Komatsu SA6D132-1W ПОДОГРЕВ-EXCПОДВЕСН. КРОНШТЕЙН И КРЕПЛЕНИЕ СИСТЕМА ОХЛАЖДЕНИЯ

Схема запчастей Komatsu SA6D132-1W - ПОДОГРЕВ-EXCПОДВЕСН. КРОНШТЕЙН И КРЕПЛЕНИЕ СИСТЕМА ОХЛАЖДЕНИЯ
FIT
1:1
100%

Артикул

Название

Примечание

Количество

|1

6212-65-7300

HEAT-EXCHANGER ASS'Y

SN: 14068-UP

1шт.

1

6212-65-7310

CASE

SN: 14068-UP

1шт.

2

07046-44016

PLUG

SN: 14068-UP

2шт.

3

6212-65-7121

ELEMENT

SN: 14068-UP

1шт.

4

6212-65-7160

GASKET

SN: 14068-UP

1шт.

5

6212-65-7230

COVER

SN: 14068-UP

1шт.

6

07042-40617

PLUG

SN: 14068-UP

1шт.

7

6212-65-7140

GASKET

SN: 14068-UP

1шт.

8

01435-01055

BOLT,(FOR SHIPPING)

SN: 14068-UP

2шт.

9

01435-01045

BOLT

SN: 14068-UP

6шт.

10

6212-65-7250

COVER

SN: 14068-UP

1шт.

11

07042-40415

PLUG

SN: 14068-UP

1шт.

|12

6140-64-7900

ZINC POLE ASS'Y

SN: 14068-UP

3шт.

12

6140-64-7920

PLUG

SN: 14068-UP

1шт.

13

6140-64-7910

ROD,ZINC

SN: 14068-UP

1шт.

14

07000-05190

O-RING

SN: 14068-UP

1шт.

15

01435-01030

BOLT

SN: 14068-UP

8шт.

16

6140-14-5450

PLATE

SN: 14068-UP

2шт.

17

6141-14-5462

GASKET (K1)

SN: 14068-UP

2шт.

18

01435-00816

BOLT

SN: 14068-UP

4шт.

19

6212-65-3610

BRACKET

SN: 14068-UP

1шт.

20

01436-01200

BOLT

SN: 14068-UP

4шт.

21

01435-01230

BOLT

SN: 14068-UP

2шт.

22

01435-01030

BOLT

SN: 14068-UP

5шт.

23

01643-31032

WASHER

SN: 14068-UP

5шт.

24

6212-65-3640

BRACKET

SN: 14068-UP

1шт.

25

01435-01025

BOLT

SN: 14068-UP

6шт.

26

6212-65-3620

BRACKET

SN: 14068-UP

1шт.

27

01435-01025

BOLT

SN: 14068-UP

3шт.

28

01435-01060

BOLT

SN: 14068-UP

2шт.

29

01643-31032

WASHER

SN: 14068-UP

1шт.

30

6212-65-3630

BRACKET

SN: 14068-UP

1шт.

31

01435-01055

BOLT,(SEE FIG.0131)

SN: 14068-UP

2шт.

32

01435-01030

BOLT

SN: 14068-UP

1шт.

33

6212-65-7370

PLATE

SN: 14068-UP

1шт.

34

01435-01016

BOLT

SN: 14068-UP

1шт.

35

08037-02512

GROMMET (K1)

SN: 14068-UP

1шт.

|36

6212-65-7940

RESERVE TANK ASS'Y

SN: 14068-UP

1шт.

36

567-03-41410

TANK,WATER

SN: 14068-UP

1шт.

37

6212-65-7950

BRACKET

SN: 14068-UP

1шт.

38

01010-50625

BOLT

SN: 14068-UP

1шт.

39

567-03-41430

CAP

SN: 14068-UP

1шт.

40

01435-01016

BOLT

SN: 14068-UP

2шт.

41

6150-65-7570

FILLER

SN: 14068-UP

1шт.

42

6150-65-7580

GASKET (K1)

SN: 14068-UP

1шт.

43

01435-00616

BOLT

SN: 14068-UP

4шт.

44

6136-85-8180

CAP,COMPLETE

SN: 14068-UP

1шт.

45

6212-65-7930

HOSE

SN: 14068-UP

1шт.

46

6212-65-7970

TUBE

SN: 14068-UP

1шт.

47

07285-00125

CLIP

SN: 14068-UP

2шт.

48

7700-85-8630

SENSOR,WATER LEVEL

SN: 14068-UP

1шт.

49

07002-33634

O-RING (K1)

SN: 14068-UP

1шт.

50

09668-10100

PLATE¤ SAFETY

SN: 14068-UP

1шт.

51

7700-91-1290

PLATE¤ MARK,CAUTION

SN: 14068-UP

1шт.

52

09650-01104

PLATE¤ INSTRUCTION

SN: 14068-UP

1шт.

Выбрано товаров: 55