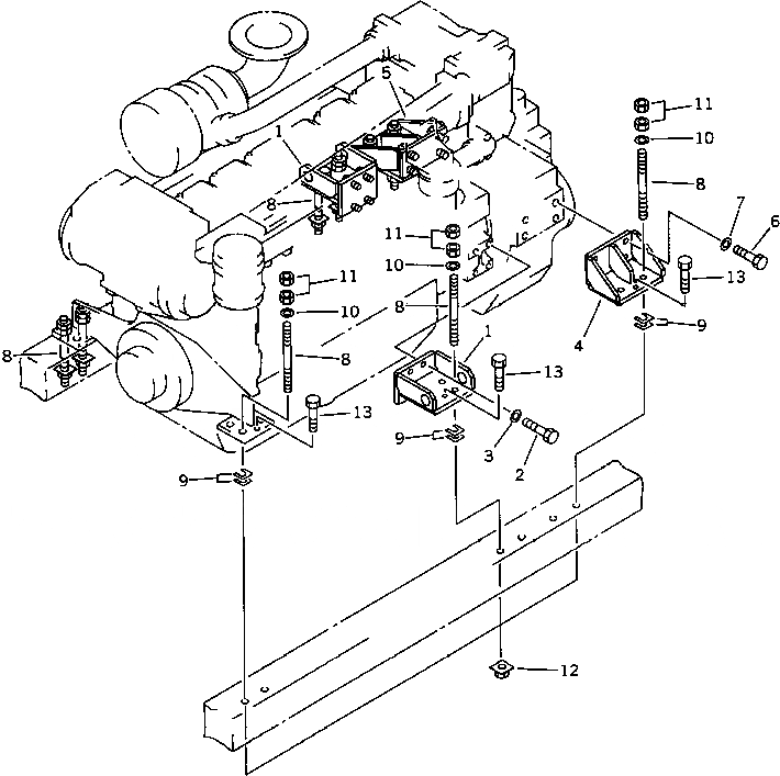
Запчасти Komatsu SA6D132-1W MARINE КРЕПЛЕНИЕ ДВИГАТЕЛЯ(MGN7E-¤ MGN7EX-) MARINE ПРИВОД КОМПОНЕНТЫ

Схема запчастей Komatsu SA6D132-1W - MARINE КРЕПЛЕНИЕ ДВИГАТЕЛЯ(MGN7E-¤ MGN7EX-) MARINE ПРИВОД КОМПОНЕНТЫ
FIT
1:1
100%

Артикул

Название

Примечание

Количество

1

6212-25-4510

BRACKET,ENGINE SUPPORT

SN: 14068-UP

2шт.

2

01010-51645

BOLT

SN: 14068-UP

8шт.

3

01643-31645

WASHER

SN: 14068-UP

8шт.

4

6212-85-8790

BRACKET,MARINE GEAR SUPPORT¤ L.H.

SN: 14068-UP

1шт.

5

6212-85-8761

BRACKET,MARINE GEAR SUPPORT¤ R.H.

SN: 14068-UP

1шт.

6

01010-52045

BOLT

SN: 14068-UP

8шт.

7

01640-22032

WASHER

SN: 14068-UP

8шт.

8

7700-65-2120

STUD

SN: 14068-UP

12шт.

9

7700-65-2400

SHIM ASS'Y

SN: 14068-UP

6шт.

|9

7700-65-2410

SHIM¤ 0.1MM

SN: 14068-UP

4шт.

|9

7700-65-2420

SHIM¤ 0.2MM

SN: 14068-UP

4шт.

|9

7700-65-2430

SHIM¤ 0.5MM

SN: 14068-UP

2шт.

|9

7700-65-2440

SHIM¤ 1.0MM

SN: 14068-UP

2шт.

10

01643-21845

WASHER

SN: 14068-UP

12шт.

11

01580-11815

NUT

SN: 14068-UP

24шт.

12

7700-65-2130

WASHER

SN: 14068-UP

12шт.

13

7700-65-1860

BOLT,JACK

SN: 14068-UP

6шт.

Выбрано товаров: 17