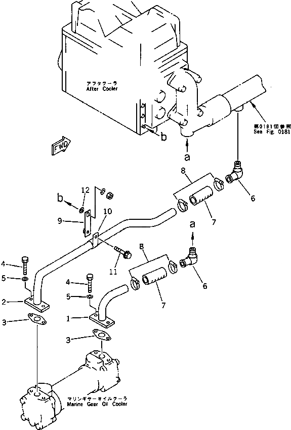
Запчасти Komatsu SA6D132-1W MARINE ПРИВОД SEA ВОДН. ГИДРОЛИНИЯ(MGN7E-¤ MGN7EX-) MARINE ПРИВОД КОМПОНЕНТЫ

Схема запчастей Komatsu SA6D132-1W - MARINE ПРИВОД SEA ВОДН. ГИДРОЛИНИЯ(MGN7E-¤ MGN7EX-) MARINE ПРИВОД КОМПОНЕНТЫ
FIT
1:1
100%

Артикул

Название

Примечание

Количество

1

6212-65-6480

TUBE,SEA WATER INLET

SN: 14068-UP

1шт.

2

6212-65-6490

TUBE,SEA WATER OUTLET

SN: 14068-UP

1шт.

3

7700-16-1170

GASKET (K2)

SN: 14068-UP

2шт.

4

01050-51025

BOLT

SN: 14068-UP

4шт.

5

01640-21016

WASHER

SN: 14068-UP

4шт.

6

6150-65-8460

ELBOW

SN: 14068-UP

2шт.

7

6140-64-7760

HOSE

SN: 14068-UP

2шт.

8

07281-10489

CLAMP

SN: 14068-UP

4шт.

9

6212-65-6390

PLATE

SN: 14068-UP

1шт.

10

04434-52508

CLIP

SN: 14068-UP

1шт.

11

01435-01016

BOLT

SN: 14068-UP

1шт.

12

01643-31032

WASHER

SN: 14068-UP

1шт.

Выбрано товаров: 12