Запчасти Komatsu SA6D132-1W ВЫПУСКНОЙ КОЛЛЕКТОР И ТУРБОНАГНЕТАТЕЛЬ ГОЛОВКА ЦИЛИНДРОВ

Схема запчастей Komatsu SA6D132-1W - ВЫПУСКНОЙ КОЛЛЕКТОР И ТУРБОНАГНЕТАТЕЛЬ ГОЛОВКА ЦИЛИНДРОВ
FIT
1:1
100%

Артикул

Название

Примечание

Количество

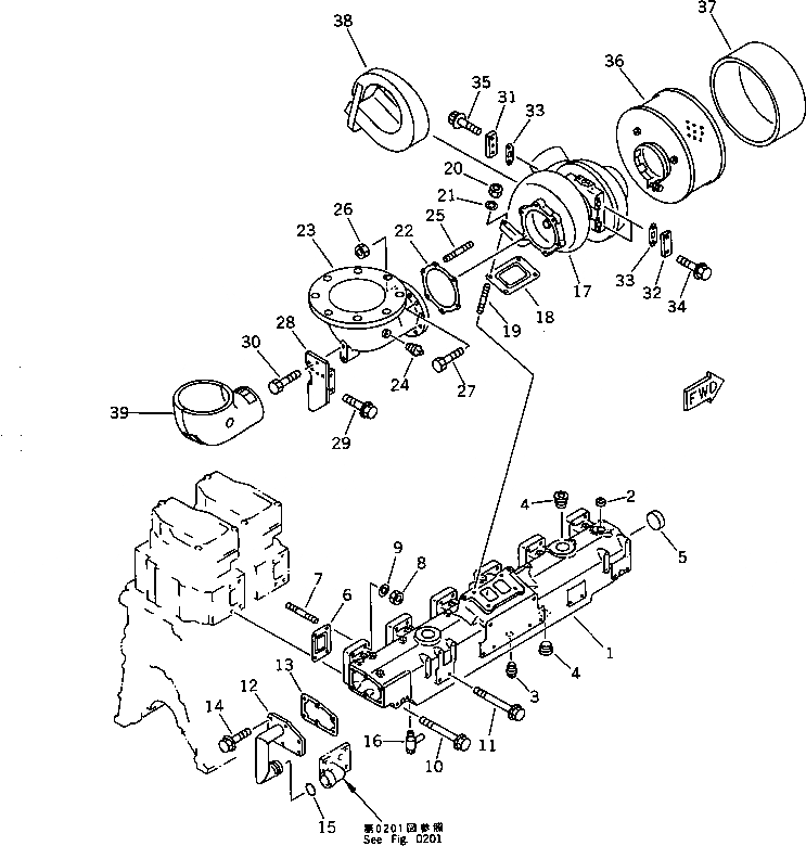
1

6212-15-5310

MANIFOLD,EXHAUST

SN: 14068-UP

1шт.

2

07046-42816

PLUG

SN: 14068-UP

1шт.

3

6151-15-5970

PLUG

SN: 14068-UP

8шт.

4

07043-01222

PLUG

SN: 14068-UP

10шт.

5

07046-45016

PLUG

SN: 14068-UP

1шт.

6

6210-11-5880

GASKET (K1)

SN: 14068-UP

6шт.

7

01140-61035

STUD

SN: 14068-UP

12шт.

8

6212-15-5410

NUT

SN: 14068-UP

12шт.

9

01643-51032

WASHER

SN: 14068-UP

12шт.

10

6164-61-7170

BOLT

SN: 14068-UP

10шт.

11

700-26-11122

BOLT

SN: 14068-UP

2шт.

12

6212-15-5320

TUBE

SN: 14068-UP

1шт.

13

6212-15-5230

GASKET (K1)

SN: 14068-UP

1шт.

14

01435-01025

BOLT

SN: 14068-UP

6шт.

15

07000-03028

O-RING (K1)

SN: 14068-UP

1шт.

16

07730-50004

VALVE

SN: 14068-UP

1шт.

17

6505-55-6010

TURBOCHARGER ASS'Y,(SEE FIG.0155)

SN: 14068-UP

1шт.

18

6210-11-5710

GASKET (K1)

SN: 14068-UP

1шт.

19

6151-11-8550

STUD

SN: 14068-UP

4шт.

20

6114-11-5590

NUT

SN: 14068-UP

4шт.

21

01643-31032

WASHER

SN: 14068-UP

4шт.

22

6212-15-5630

GASKET (K1)

SN: 14068-UP

1шт.

23

6212-15-5610

CONNECTOR

SN: 14068-UP

1шт.

24

6151-17-5970

PLUG

SN: 14068-UP

1шт.

25

6151-11-8550

STUD

SN: 14068-UP

2шт.

26

6114-11-5590

NUT

SN: 14068-UP

2шт.

27

01020-11025

BOLT

SN: 14068-UP

4шт.

28

6212-15-5620

BRACKET

SN: 14068-UP

1шт.

29

01435-01025

BOLT

SN: 14068-UP

4шт.

30

01020-11025

BOLT

SN: 14068-UP

2шт.

31

6212-65-8870

PLATE

SN: 14068-UP

2шт.

32

6164-62-8230

PLATE

SN: 14068-UP

2шт.

33

6164-62-8240

GASKET (K1)

SN: 14068-UP

4шт.

34

01435-01025

BOLT

SN: 14068-UP

4шт.

35

01437-11025

BOLT

SN: 14068-UP

4шт.

|36

6212-85-7101

AIR CLEANER ASS'Y

SN: 14068-UP

1шт.

36

6212-85-7110

BODY

SN: 14068-UP

1шт.

37

6212-85-7121

ELEMENT

SN: 14068-UP

1шт.

38

6212-15-5730

COVER,TURBOCHARGER

SN: 14068-UP

1шт.

39

6212-15-5740

COVER,EXHAUST CONNECTOR

SN: 14068-UP

1шт.

Выбрано товаров: 40