Запчасти Komatsu SA6D140-1C ГЛУШИТЕЛЬ(№978-) ГОЛОВКА ЦИЛИНДРОВ

Схема запчастей Komatsu SA6D140-1C - ГЛУШИТЕЛЬ(№978-) ГОЛОВКА ЦИЛИНДРОВ
FIT
1:1
100%

Артикул

Название

Примечание

Количество

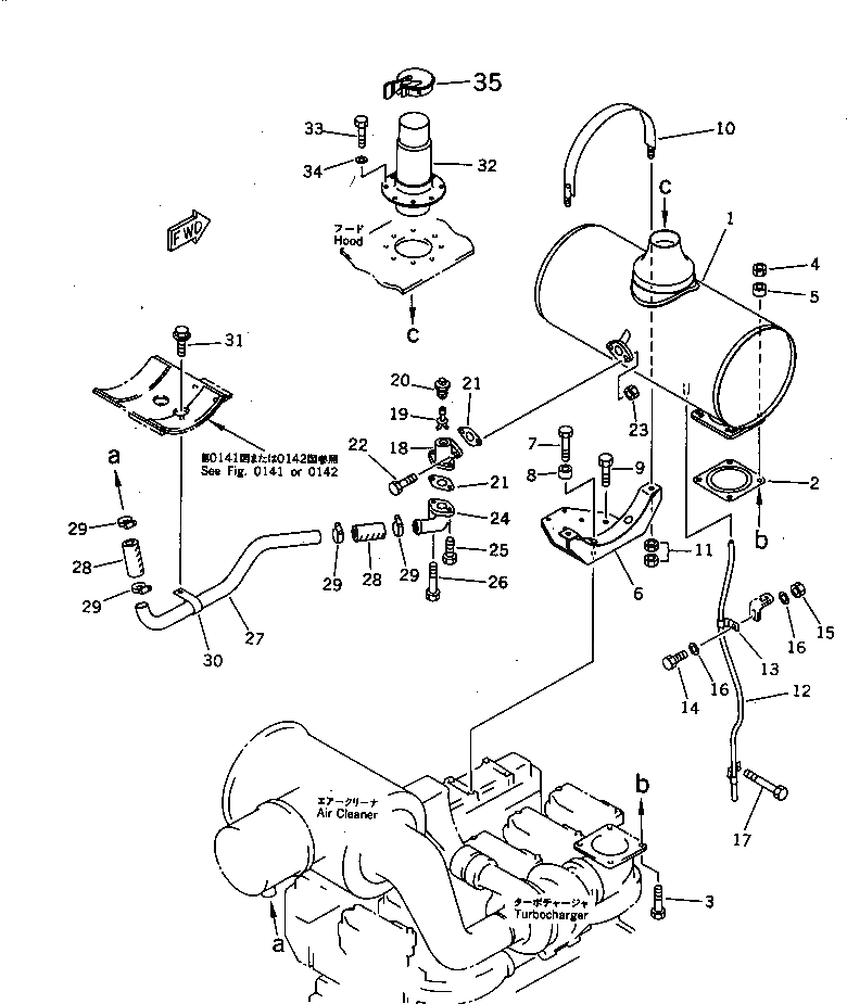
1

6211-11-5510

MUFFLER

SN: 10420-UP

1шт.

|1

6211-11-5540

MUFFLER,(TROPICAL SANDY¤ DUSTY SPEC.)

SN: 10420-UP

1шт.

2

6211-11-5890

GASKET (K1)

SN: 10420-UP

1шт.

3

01010-31055

BOLT

SN: 10420-UP

4шт.

4

01580-01008

NUT

SN: 10420-UP

4шт.

5

6631-11-5630

SPACER

SN: 10420-UP

4шт.

6

6212-11-5850

BRACKET

SN: 11978-UP

1шт.

7

01010-31045

BOLT

SN: 13424-UP

2шт.

|7

0

BOLT

SN: 10420-13423

2шт.

8

6631-11-5630

SPACER

SN: 10420-UP

2шт.

9

01010-31025

BOLT

SN: 11978-UP

2шт.

10

6211-11-5750

BAND

SN: 10420-UP

1шт.

11

01580-01008

NUT

SN: 10420-UP

4шт.

12

6211-11-5861

TUBE,DRAIN

SN: 11150-UP

1шт.

13

6991-11-5990

CLAMP

SN: 11150-UP

1шт.

14

01010-31025

BOLT

SN: 10420-UP

1шт.

15

01580-01008

NUT

SN: 10420-UP

1шт.

16

01640-21016

WASHER

SN: 10420-UP

2шт.

17

01010-51020

BOLT

SN: 11150-UP

1шт.

|18

6128-11-5304

CHECK VALVE ASS'Y

SN: 17628-UP

1шт.

|18

0

CHECK VALVE ASS'Y

SN: 10420-17627

1шт.

18

6128-11-5312

BODY

SN: 10420-UP

1шт.

19

6128-11-5333

VALVE

SN: 17628-UP

1шт.

|19

6128-11-5332

VALVE

SN: 10420-17627

1шт.

20

6128-11-5321

COVER

SN: 10420-UP

1шт.

21

6128-11-5611

GASKET (K1)

SN: 17628-UP

2шт.

|21

0

GASKET (K1)

SN: 10420-17627

2шт.

22

01010-61035

BOLT

SN: 10420-UP

2шт.

23

01580-01008

NUT

SN: 10420-UP

2шт.

24

6211-11-4770

ELBOW

SN: 10420-UP

1шт.

25

01010-61025

BOLT

SN: 10420-UP

1шт.

26

01010-31075

BOLT

SN: 10499-UP

1шт.

27

6212-11-4760

TUBE

SN: 10420-UP

1шт.

28

6127-11-5960

HOSE

SN: 10420-UP

2шт.

29

07281-00549

CLAMP

SN: 10420-UP

4шт.

30

6128-11-5872

CLAMP

SN: 10420-UP

1шт.

31

01435-01030

BOLT

SN: 10420-UP

1шт.

32

6212-11-5562

PIPE,EXHAUST

SN: 11978-UP

1шт.

|32

6212-11-5581

PIPE¤ EXHAUST,(TROPICAL SANDY¤ DUSTY SPEC.)

SN: 17628-UP

1шт.

|32

0

PIPE¤ EXHAUST,(TROPICAL SANDY¤ DUSTY SPEC.)

SN: 10420-17627

1шт.

33

01010-51230

BOLT

SN: 10420-UP

8шт.

34

01643-31232

WASHER

SN: 10420-UP

8шт.

35

6164-12-5900

CAP,RAIN

SN: 10420-UP

1шт.

Выбрано товаров: 43