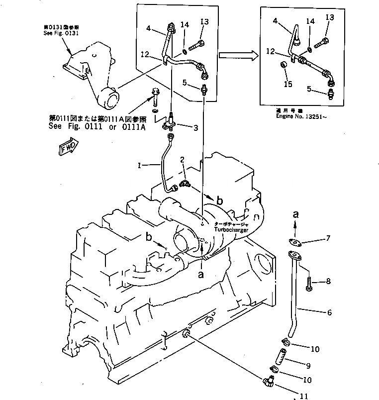
Запчасти Komatsu SA6D140-1C ЛИНИЯ СМАЗКИ ТУРБОНАГНЕТАТЕЛЯ(№-77) СИСТЕМА СМАЗКИ МАСЛ. СИСТЕМА

Схема запчастей Komatsu SA6D140-1C - ЛИНИЯ СМАЗКИ ТУРБОНАГНЕТАТЕЛЯ(№-77) СИСТЕМА СМАЗКИ МАСЛ. СИСТЕМА
FIT
1:1
100%

Артикул

Название

Примечание

Количество

1

6211-51-8120

TUBE,SUPPLY

SN: 10420-17627

1шт.

2

07217-60813

ELBOW

SN: 10420-17627

1шт.

3

6211-51-8131

CONNECTOR

SN: 12135-17627

1шт.

|3

0

CONNECTOR

SN: 10420-12134

1шт.

4

6211-51-8170

HOSE

SN: 13251-17627

1шт.

|4

0

HOSE

SN: 10420-13250

1шт.

|$$7

(6211-51-8170{6210-51-8320¤}

-1шт.

|$$8

01010-51035{6631-11-5630)}

-1шт.

5

07214-50813

CONNECTOR

SN: 14511-17627

1шт.

|5

\9\07214-60813

CONNECTOR

SN: 10420-14510

1шт.

6

6211-51-8110

TUBE,DRAIN

SN: 10420-@

1шт.

7

6151-51-8151

GASKET (K1)

SN: 17621-17627

1шт.

|7

0

GASKET (K1)

SN: 10420-17620

1шт.

8

01010-51025

BOLT

SN: 10420-@

2шт.

9

07260-22011

HOSE

SN: 10420-17627

1шт.

10

07281-00359

CLAMP

SN: 10420-@

2шт.

11

6151-51-8130

ELBOW

SN: 10420-@

1шт.

12

6210-51-8320

CLIP

SN: 13251-17627

1шт.

|12

195-03-11690

CLIP

SN: 10420-13250

1шт.

13

01010-51035

BOLT

SN: 13251-@

1шт.

|13

01010-51020

BOLT

SN: 10420-13250

1шт.

14

01640-21016

WASHER

SN: 10420-17627

1шт.

15

6631-11-5630

SPACER

SN: 13251-@

1шт.

Выбрано товаров: 23