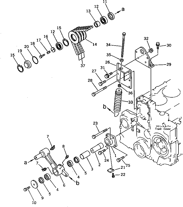
Запчасти Komatsu SA6D140-1C НАТЯЖНОЙ РОЛИК И КРЕПЛЕНИЕ СИСТЕМА ОХЛАЖДЕНИЯ

Схема запчастей Komatsu SA6D140-1C - НАТЯЖНОЙ РОЛИК И КРЕПЛЕНИЕ СИСТЕМА ОХЛАЖДЕНИЯ
FIT
1:1
100%

Артикул

Название

Примечание

Количество

|1

6212-61-3601

TENSION PULLEY ASS'Y

SN: 17628-UP

1шт.

|1

0

TENSION PULLEY ASS'Y

SN: 10420-17627

1шт.

1

6212-61-3631

BRACKET

SN: 17628-UP

1шт.

|1

6212-61-3630

BRACKET

SN: 10420-17627

1шт.

2

6212-61-3620

SHAFT

SN: 10420-UP

1шт.

3

6212-61-3640

RACE,INNER

SN: 10420-UP

1шт.

4

6127-61-3910

BEARING,NEEDLE

SN: 10420-UP

2шт.

5

06122-04504

SEAL,BEARING

SN: 12134-UP

2шт.

|5

06122-04504

SEAL,BEARING (K2)

SN: 10420-12133

2шт.

6

6212-61-3611

BRACKET ASS'Y

SN: 17628-UP

1шт.

|6

6212-61-3610

BRACKET

SN: 10420-17627

1шт.

7

07020-00675

FITTING,GREASE

SN: 10420-UP

2шт.

8

6127-61-3890

VALVE

SN: 10420-UP

1шт.

9

6212-61-3680

PLATE

SN: 10420-UP

1шт.

10

01010-31025

BOLT

SN: 10420-UP

1шт.

11

07011-00042

SEAL,OIL (K2)

SN: 12134-UP

1шт.

|11

07011-00042

SEAL,OIL (K2)

SN: 10420-12133

1шт.

12

6212-61-3720

BEARING

SN: 10420-UP

2шт.

13

6212-61-3690

SPACER

SN: 10420-UP

1шт.

14

6212-61-3670

PULLEY¤ HARDENING

SN: 10420-UP

1шт.

15

04065-06525

RING,SNAP

SN: 10420-UP

2шт.

16

6212-61-3750

WASHER

SN: 10420-UP

1шт.

17

6127-61-3790

LOCK (K2)

SN: 12134-UP

1шт.

|17

6127-61-3790

LOCK (K2)

SN: 10420-12133

1шт.

18

01010-30820

BOLT

SN: 10420-UP

2шт.

19

6212-61-3660

COVER

SN: 10420-UP

1шт.

20

07000-02065

O-RING (K2)

SN: 12134-UP

1шт.

|20

07000-02065

O-RING (K2)

SN: 10420-12133

1шт.

21

6212-61-3530

STOPPER

SN: 17628-UP

1шт.

|21

6212-61-3650

STOPPER

SN: 10420-17627

1шт.

22

01010-30816

BOLT

SN: 10420-UP

2шт.

23

01011-51200

BOLT

SN: 10420-UP

1шт.

24

01010-31230

BOLT

SN: 10420-UP

1шт.

25

01010-31235

BOLT

SN: 10420-UP

2шт.

26

6212-61-3710

BRACKET

SN: 10420-UP

1шт.

27

01010-31225

BOLT

SN: 10420-UP

2шт.

28

01010-31295

BOLT

SN: 10420-UP

2шт.

29

6211-61-3260

BRACKET

SN: 10420-UP

1шт.

30

01435-01025

BOLT

SN: 10420-UP

2шт.

31

01435-01235

BOLT

SN: 10420-UP

2шт.

32

01584-01210

NUT

SN: 10420-UP

2шт.

33

6212-61-3310

SPRING

SN: 10420-UP

1шт.

34

01017-51220

BOLT

SN: 11290-UP

1шт.

|34

0

BOLT

SN: 10420-11289

1шт.

35

6124-61-3830

WASHER

SN: 10420-UP

1шт.

36

01580-01210

NUT

SN: 10420-UP

1шт.

37

04122-22562

V-BELT SET

SN: 11176-UP

1шт.

|37

0

V-BELT SET

SN: 11051-11175

1шт.

|37

0

V-BELT SET

SN: 10420-11050

1шт.

Выбрано товаров: 49