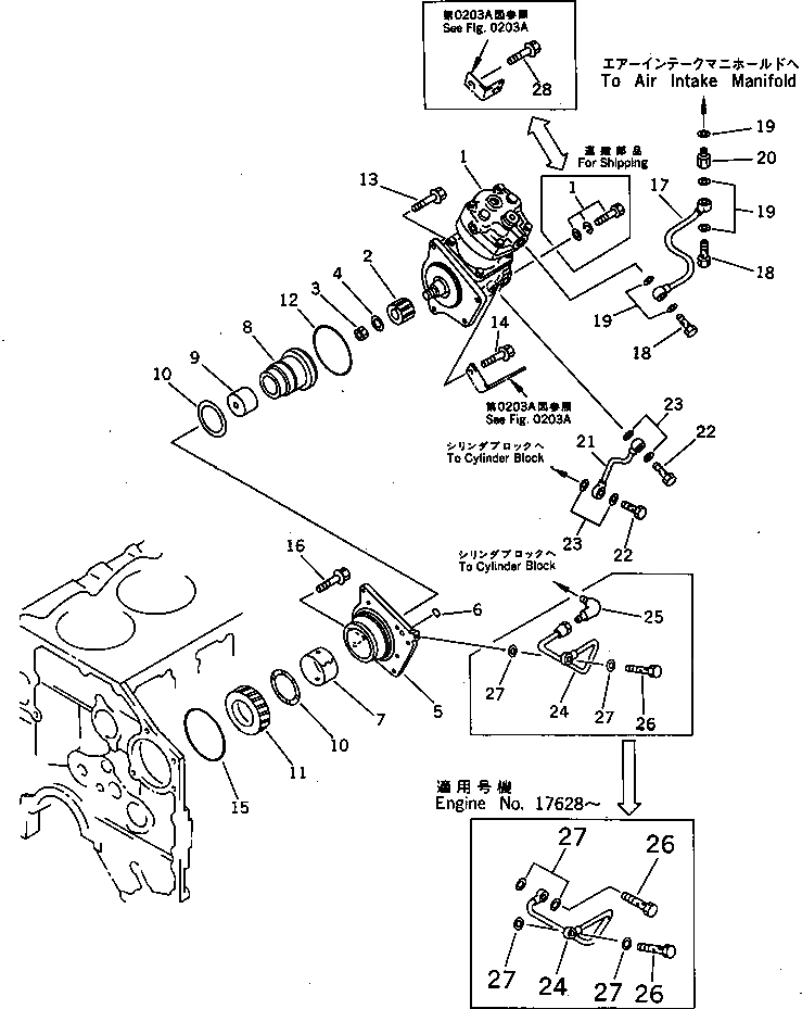
Запчасти Komatsu SA6D140-1C КОМПРЕССОР И ТРУБЫ (ДЛЯ ЯПОН.)(№-) АКСЕССУАРЫ

Схема запчастей Komatsu SA6D140-1C - КОМПРЕССОР И ТРУБЫ (ДЛЯ ЯПОН.)(№-) АКСЕССУАРЫ
FIT
1:1
100%

Артикул

Название

Примечание

Количество

1

6210-81-3121

AIR COMPRESSOR ASS'Y,(SEE FIG.0711B)

SN: 11229-UP

1шт.

2

6162-83-6630

COUPLING

SN: 14611-UP

1шт.

3

01583-02012

NUT

SN: 10420-UP

1шт.

4

6127-11-1620

WASHER

SN: 14611-UP

1шт.

|5

6212-81-3500

HOUSING ASS'Y,DRIVE

SN: 14611-UP

1шт.

5

6212-81-3520

HOUSING

SN: 14611-UP

1шт.

6

07046-41008

PLUG

SN: 14611-UP

1шт.

7

6210-21-1490

BUSHING

SN: 14611-UP

1шт.

|8

6212-81-3560

SHAFT ASS'Y

SN: 14611-UP

1шт.

8

6212-81-3530

SHAFT

SN: 14611-UP

1шт.

9

6212-81-3540

PLUG

SN: 14611-UP

1шт.

10

6212-81-3550

BEARING,THRUST

SN: 14611-UP

2шт.

11

6212-81-3510

GEAR

SN: 14611-UP

1шт.

12

6210-81-3150

O-RING (K8)

SN: 10420-UP

1шт.

13

6150-81-9230

BOLT

SN: 10420-UP

3шт.

14

01435-01035

BOLT,(SEE FIG.0203A)

SN: 10420-UP

1шт.

15

6210-81-5240

O-RING (K8)

SN: 10420-UP

1шт.

16

6210-81-8350

BOLT

SN: 10420-UP

1шт.

17

6212-81-5350

TUBE,AIR INLET

SN: 10420-UP

1шт.

18

6137-81-3140

BOLT,JOINT

SN: 10420-UP

2шт.

19

6164-91-6220

GASKET (K8)

SN: 14611-UP

5шт.

20

6212-81-5390

NIPPLE

SN: 10420-UP

1шт.

21

6210-81-5390

TUBE,OIL INLET

SN: 10420-UP

1шт.

22

07206-30710

BOLT,JOINT

SN: 10420-UP

2шт.

23

07005-01012

GASKET (K8)

SN: 10420-UP

4шт.

24

6212-81-3680

TUBE,OIL INLET

SN: 17628-UP

1шт.

|24

6212-81-3590

TUBE,OIL INLET

SN: 14611-17627

1шт.

25

07217-50712

ELBOW

SN: 14611-17627

1шт.

26

07206-30710

BOLT,JOINT

SN: 17628-UP

2шт.

|26

07206-30710

BOLT,JOINT

SN: 14611-17627

1шт.

27

07005-01012

GASKET (K8)

SN: 17628-UP

4шт.

|27

07005-01012

GASKET (K8)

SN: 14611-17627

2шт.

28

DK156603-4400

BOLT,(SEE FIG.0711B)

SN: 17628-UP

1шт.

|28

6150-81-9240

BOLT,(SEE FIG.0203A)

SN: 10420-17627

1шт.

Выбрано товаров: 34