Запчасти Komatsu SA6D140-1FF КАРТЕР МАХОВИКА (ДЛЯ ЭЛЕКТРИЧ. РЕГУЛЯТОРА) ДВИГАТЕЛЬ

Схема запчастей Komatsu SA6D140-1FF - КАРТЕР МАХОВИКА (ДЛЯ ЭЛЕКТРИЧ. РЕГУЛЯТОРА) ДВИГАТЕЛЬ
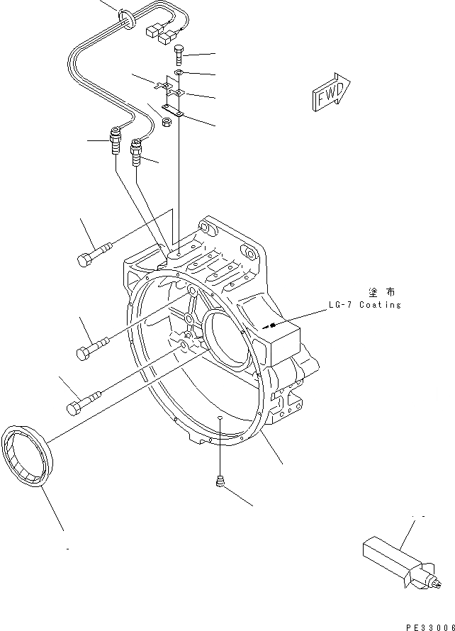
1
2
3
4
4
5
6
6
7
7
8
9
10
11
12
13
FIT
1:1
100%

Артикул

Название

Примечание

Количество

1

6210-21-4741

HOUSING,FLYWHEEL

SN: 17983-UP

1шт.

2

07043-00617

PLUG

SN: 17983-UP

1шт.

3

6150-21-4230

SEAL¤ REAR

SN: 19585-UP

1шт.

|3

6150-21-4230

SEAL¤ REAR (K2)

SN: 17983-19584

1шт.

|3

6150-29-4230

SEAL¤ REAR,(REPAIR PART)

SN: 17983-UP

1шт.

4

01010-31645

BOLT

SN: 17983-UP

8шт.

5

01010-31660

BOLT

SN: 17983-UP

2шт.

6

7861-92-2330

SENSOR,REVOLUTION

SN: 17983-UP

2шт.

7

08053-01510

CLIP

SN: 17983-UP

2шт.

8

01010-51020

BOLT

SN: 17983-UP

2шт.

9

01640-21016

WASHER

SN: 17983-UP

2шт.

10

01580-11008

NUT

SN: 17983-UP

1шт.

11

6301-11-4630

PLATE

SN: 17983-UP

1шт.

12

08034-00519

BAND (K2)

SN: 17983-UP

1шт.

13

09920-00150

LIQUID GASKET,LG-7¤ 150G

SN: 17983-UP

-2шт.

Выбрано товаров: 0