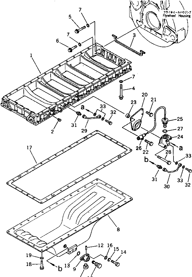
Запчасти Komatsu SA6D140-1K-A МАСЛЯНЫЙ ПОДДОН(№97-98) БЛОК ЦИЛИНДРОВ

Схема запчастей Komatsu SA6D140-1K-A - МАСЛЯНЫЙ ПОДДОН(№97-98) БЛОК ЦИЛИНДРОВ
FIT
1:1
100%

Артикул

Название

Примечание

Количество

1

6210-21-5230

FRAME

SN: 11397-11982

1шт.

2

07043-00211

PLUG

SN: 11397-11982

1шт.

3

6210-21-5280

GASKET

SN: 11828-11982

1шт.

|3

6210-21-5280

GASKET (K2)

SN: 11397-11827

1шт.

4

6210-81-9410

BOLT

SN: 11397-11982

32шт.

5

6210-81-9440

BOLT

SN: 11397-11982

2шт.

6

6210-81-9450

BOLT

SN: 11397-11982

4шт.

7

01640-21016

WASHER

SN: 11397-11982

38шт.

8

6210-21-5140

PAN,OIL

SN: 11397-11982

1шт.

|9

6693-22-5600

VALVE ASS'Y

SN: 11397-@

1шт.

9

0

BODY

SN: 11397-@

1шт.

10

0

VALVE

SN: 11397-@

1шт.

11

07040-02412

PLUG

SN: 11397-@

1шт.

12

04020-00514

PIN,DOWEL

SN: 11397-@

1шт.

13

07000-63028

O-RING (K2)

SN: 11397-@

1шт.

14

01010-31030

BOLT

SN: 11397-@

2шт.

15

01602-01030

WASHER,SPRING

SN: 11397-11982

2шт.

16

01640-01016

WASHER

SN: 11397-@

2шт.

17

6210-21-5812

GASKET

SN: 11828-11982

1шт.

|17

6210-21-5812

GASKET (K2)

SN: 11397-11827

1шт.

18

01010-51030

BOLT

SN: 11397-11982

36шт.

19

01640-21016

WASHER

SN: 11397-11982

36шт.

20

6210-81-4321

BRACKET

SN: 11397-11982

1шт.

21

01010-51020

BOLT

SN: 11397-11982

2шт.

22

01010-51035

BOLT

SN: 11397-11982

1шт.

23

6631-11-6390

SPACER

SN: 11397-11982

1шт.

24

6210-81-4210

CASE

SN: 11397-11982

1шт.

25

7861-91-4600

SENSOR,OIL LEVEL

SN: 11397-11982

1шт.

26

600-050-2620

CLIP

SN: 11397-11982

1шт.

27

07002-23634

O-RING

SN: 11828-11982

1шт.

|27

07002-23634

O-RING (K2)

SN: 11397-11827

1шт.

28

01010-51075

BOLT

SN: 11397-11982

2шт.

29

6210-81-4230

TUBE

SN: 11397-11982

1шт.

30

6210-81-4240

TUBE

SN: 11397-11982

1шт.

31

07214-50813

CONNECTOR

SN: 11397-11982

2шт.

32

07206-30812

BOLT,JOINT

SN: 11397-11982

2шт.

33

07005-01212

GASKET

SN: 11828-11982

4шт.

|33

07005-01212

GASKET (K2)

SN: 11397-11827

4шт.

Выбрано товаров: 38