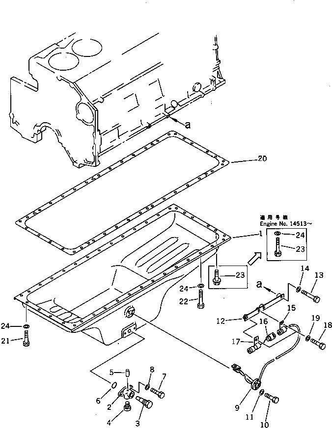
Запчасти Komatsu SA6D140-1K-A МАСЛЯНЫЙ ПОДДОН(№98-779) БЛОК ЦИЛИНДРОВ

Схема запчастей Komatsu SA6D140-1K-A - МАСЛЯНЫЙ ПОДДОН(№98-779) БЛОК ЦИЛИНДРОВ
FIT
1:1
100%

Артикул

Название

Примечание

Количество

1

6211-21-5250

PAN,OIL

SN: 11983-@

1шт.

|2

6693-22-5600

VALVE ASS'Y

SN: 11397-@

1шт.

2

0

BODY,VALVE

SN: 11397-@

1шт.

3

0

VALVE,OIL DRAIN

SN: 11397-@

1шт.

4

07040-02412

PLUG

SN: 11397-@

1шт.

5

04020-00514

PIN,DOWEL

SN: 11397-@

1шт.

6

07000-63028

O-RING (K2)

SN: 11397-@

1шт.

7

01010-31025

BOLT

SN: 11397-@

2шт.

8

01640-21016

WASHER

SN: 11397-@

2шт.

9

7861-91-4210

SENSOR

SN: 11983-@

1шт.

|9

7861-91-4220

O-RING

SN: 11983-@

1шт.

10

01010-50612

BOLT

SN: 11983-@

3шт.

11

01640-20610

WASHER

SN: 11983-@

3шт.

12

6210-81-4280

PLATE

SN: 11983-17791

1шт.

13

01010-51035

BOLT

SN: 11983-17791

2шт.

14

01640-21016

WASHER

SN: 11983-@

2шт.

15

08052-11311

CLIP

SN: 11983-@

1шт.

16

7861-91-4230

WIRE

SN: 11983-@

1шт.

17

08052-11711

CLIP

SN: 11983-@

1шт.

18

01010-51020

BOLT

SN: 11983-17791

2шт.

19

01640-21016

WASHER

SN: 11983-@

2шт.

20

6210-21-5820

GASKET (K2)

SN: 11983-@

1шт.

21

01010-51025

BOLT

SN: 11983-@

6шт.

22

01010-51025

BOLT

SN: 14513-@

26шт.

|22

01010-51030

BOLT

SN: 11983-14512

26шт.

23

01010-51025

BOLT

SN: 14513-@

6шт.

|23

6150-81-9120

BOLT

SN: 11983-14512

6шт.

24

01640-21016

WASHER

SN: 14513-@

38шт.

|24

01640-21016

WASHER

SN: 11983-14512

32шт.

Выбрано товаров: 29