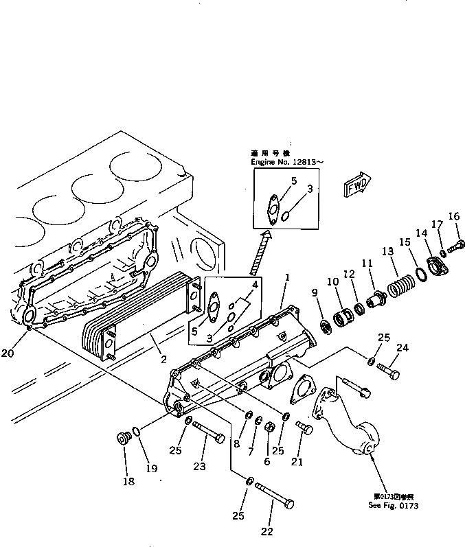
Запчасти Komatsu SA6D140-1K-A СИСТЕМА СМАЗКИ МАСЛООХЛАДИТЕЛЬ СИСТЕМА СМАЗКИ МАСЛ. СИСТЕМА

Схема запчастей Komatsu SA6D140-1K-A - СИСТЕМА СМАЗКИ МАСЛООХЛАДИТЕЛЬ СИСТЕМА СМАЗКИ МАСЛ. СИСТЕМА
FIT
1:1
100%

Артикул

Название

Примечание

Количество

|1

6212-65-2200

OIL COOLER ASS'Y

SN: 14417-UP

1шт.

|1

6212-61-2101

OIL COOLER ASS'Y

SN: 11397-14416

1шт.

1

6211-61-2122

COVER

SN: 14417-UP

1шт.

|1

0

COVER

SN: 11397-14416

1шт.

2

6212-61-2111

ELEMENT

SN: 14417-UP

1шт.

|2

0

ELEMENT

SN: 11397-14416

1шт.

3

6210-61-2520

O-RING (K2)

SN: 12446-UP

2шт.

|3

6210-61-2520

O-RING

SN: 11397-12445

2шт.

4

6150-61-2520

O-RING (K2)

SN: 11397-12812

4шт.

5

6210-61-2172

GASKET (K2)

SN: 17631-UP

2шт.

|5

0

GASKET

SN: 17630-17630

2шт.

|5

0

GASKET (K2)

SN: 11397-17629

2шт.

6

01582-11008

NUT

SN: 11397-UP

4шт.

7

01602-21030

WASHER,SPRING

SN: 11397-UP

4шт.

8

01640-21016

WASHER

SN: 11397-UP

4шт.

9

6150-61-2151

PLATE

SN: 11397-UP

1шт.

10

6150-61-2141

CASE

SN: 11397-UP

1шт.

11

6212-65-2610

THERMOSTAT

SN: 15862-UP

1шт.

|11

0

THERMOSTAT

SN: 11397-15861

1шт.

12

6150-61-2540

SEAL,OIL (K2)

SN: 11397-UP

1шт.

13

6210-61-2160

SPRING

SN: 11397-UP

1шт.

14

6210-61-2130

COVER

SN: 11397-UP

1шт.

15

07000-63042

O-RING (K2)

SN: 11397-UP

1шт.

16

01010-50825

BOLT

SN: 11397-UP

2шт.

17

01640-20816

WASHER

SN: 11397-UP

2шт.

18

07040-13016

PLUG

SN: 11397-UP

1шт.

19

6210-61-2550

O-RING (K2)

SN: 11397-UP

1шт.

20

6210-61-2811

GASKET (K2)

SN: 17630-UP

1шт.

|20

0

GASKET (K2)

SN: 11397-17629

1шт.

21

01010-51030

BOLT

SN: 12813-UP

13шт.

|21

01010-51025

BOLT

SN: 11397-12812

13шт.

22

01010-51090

BOLT

SN: 11397-UP

1шт.

23

01010-51060

BOLT

SN: 11397-UP

1шт.

24

01010-51060

BOLT

SN: 12813-UP

1шт.

|24

01010-51025

BOLT

SN: 11397-12812

1шт.

25

01640-21016

WASHER

SN: 11397-UP

16шт.

Выбрано товаров: 0