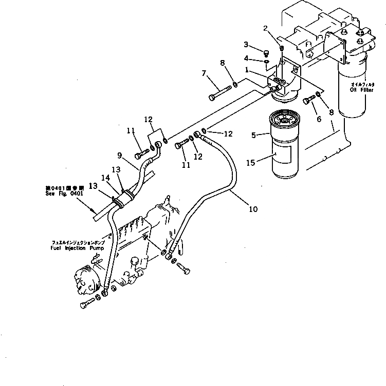
Запчасти Komatsu SA6D140-1L-A ТОПЛИВН. ФИЛЬТР. И ТРУБЫ(№97-79) ТОПЛИВН. СИСТЕМА

Схема запчастей Komatsu SA6D140-1L-A - ТОПЛИВН. ФИЛЬТР. И ТРУБЫ(№97-79) ТОПЛИВН. СИСТЕМА
FIT
1:1
100%

Артикул

Название

Примечание

Количество

|1

6210-71-6201

FUEL FILTER ASS'Y

SN: 11397-@

1шт.

|1

0

FUEL FILTER ASS'Y

SN: (11397-17235)

1шт.

1

6210-71-6210

HEAD

SN: 11397-@

1шт.

2

07043-00108

PLUG

SN: 11397-@

1шт.

3

6110-73-6231

PLUG

SN: 11397-@

1шт.

4

07005-00812

GASKET

SN: 12446-@

1шт.

|4

07005-00812

GASKET (K2)

SN: 11397-12445

1шт.

5

600-311-7131

CARTRIDGE

SN: 11397-@

1шт.

|5

0

CARTRIDGE

SN: (11397-17235)

1шт.

6

01010-51035

BOLT

SN: 11397-@

2шт.

7

01011-51015

BOLT

SN: 11397-@

2шт.

8

01640-21016

WASHER

SN: 11397-@

4шт.

9

6150-71-5450

HOSE

SN: 11397-17629

1шт.

10

07271-11465

HOSE

SN: 11397-17629

1шт.

11

07206-31014

BOLT,JOINT

SN: 11397-@

2шт.

12

07005-01412

GASKET (K2)

SN: 11397-@

4шт.

13

08034-00519

BAND

SN: 11397-17629

2шт.

14

205-62-72140

COVER

SN: 12446-17629

1шт.

15

600-311-8612

PLATE¤ CAUTION,(ENGLISH)

SN: 11397-@

1шт.

|15

600-311-8643

PLATE¤ CAUTION,(ENGLISH-FRENCH)

SN: 11397-@

1шт.

|15

600-311-8632

PLATE¤ CAUTION,(ENGLISH-GERMAN)

SN: 11397-@

1шт.

|15

600-311-8652

PLATE¤ CAUTION,(ARABIC)

SN: 11397-@

1шт.

|15

600-311-8562

PLATE¤ CAUTION,(CHINESE)

SN: 11397-@

1шт.

|15

600-311-8542

PLATE¤ CAUTION,(INDONESIAN)

SN: 11397-@

1шт.

Выбрано товаров: 24