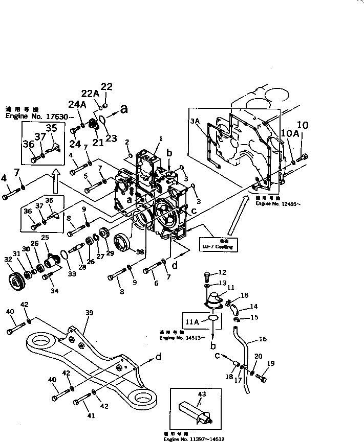
Запчасти Komatsu SA6D140-1L ПЕРЕДН. КРЫШКАAND ПЕРЕДН. КОРПУС БЛОК ЦИЛИНДРОВ

Схема запчастей Komatsu SA6D140-1L - ПЕРЕДН. КРЫШКАAND ПЕРЕДН. КОРПУС БЛОК ЦИЛИНДРОВ
FIT
1:1
100%

Артикул

Название

Примечание

Количество

|1

6210-21-3200

FRONT COVER ASS'Y

SN: 11397-UP

1шт.

1

0

COVER

SN: 11397-UP

1шт.

2

07046-11816

PLUG

SN: 11397-UP

3шт.

3

07046-11516

PLUG

SN: 11397-UP

2шт.

3A

6210-21-3251

GASKET (K2)

SN: 17630-UP

1шт.

|3A

0

GASKET (K2)

SN: 12455-17629

1шт.

4

01010-51290

BOLT

SN: 11397-UP

3шт.

5

01010-51280

BOLT

SN: 11397-UP

1шт.

6

6210-21-3190

BOLT

SN: 11397-UP

1шт.

7

01640-21223

WASHER

SN: 11397-UP

5шт.

8

01011-51000

BOLT

SN: 11397-UP

3шт.

9

01640-21016

WASHER

SN: 11397-UP

3шт.

10

01010-51050

BOLT

SN: 11397-UP

2шт.

10A

01640-21016

WASHER

SN: 17630-UP

2шт.

11

6210-21-8711

BREATHER

SN: 14513-UP

1шт.

|11

0

BREATHER

SN: 11397-14512

1шт.

|$$17

(6210-21-8711{07000-62060)}

-1шт.

11A

07000-62060

O-RING (K2)

SN: 14513-UP

1шт.

12

01010-51020

BOLT

SN: 11397-UP

2шт.

13

01640-21016

WASHER

SN: 11397-UP

2шт.

14

6130-61-6611

HOSE

SN: 11397-UP

1шт.

15

07285-00260

CLIP

SN: 11397-UP

2шт.

16

6210-21-8720

TUBE

SN: 11397-UP

1шт.

17

112-946-4170

CLIP

SN: 11397-UP

1шт.

18

6144-11-5630

SPACER

SN: 11397-UP

1шт.

19

01010-51055

BOLT

SN: 11397-UP

1шт.

20

01643-31032

WASHER

SN: 11397-UP

1шт.

21

6210-81-4111

BOX ASS'Y,GEAR

SN: 11983-UP

1шт.

|21

0

BOX ASS'Y,GEAR

SN: 11397-11982

1шт.

22

6136-81-5291

CAP

SN: 11397-UP

1шт.

22A

6130-82-5270

GASKET

SN: 17630-UP

1шт.

23

07000-03050

O-RING (K2)

SN: 11397-UP

1шт.

24

01010-50616

BOLT

SN: 11397-UP

2шт.

24A

01640-20610

WASHER

SN: 17630-UP

2шт.

|25

6210-21-3403

POWER TAKE OFF ASS'Y

SN: 12446-UP

1шт.

|25

6210-21-3402

POWER TAKE OFF ASS'Y

SN: 11983-12445

1шт.

|25

6210-21-3401

POWER TAKE OFF ASS'Y

SN: 11397-11982

1шт.

25

6210-21-3413

HOUSING

SN: 12446-UP

1шт.

|25

6210-21-3412

HOUSING

SN: 11983-12445

1шт.

|25

0

HOUSING

SN: 11397-11982

1шт.

26

06030-06204

BEARING,BALL

SN: 12446-UP

2шт.

|26

06030-06004

BEARING,BALL

SN: 11397-12445

2шт.

27

04065-04718

RING,SNAP

SN: 12446-UP

1шт.

|27

04065-04218

RING,SNAP

SN: 11397-12445

1шт.

28

6210-21-3421

SHAFT

SN: 12446-UP

1шт.

|28

6210-21-3420

SHAFT

SN: 11397-12445

1шт.

29

6210-21-3440

GEAR

SN: 11397-UP

1шт.

30

6210-21-3451

SLEEVE

SN: 12446-UP

1шт.

|30

6210-21-3450

SLEEVE

SN: 11397-12445

1шт.

31

07012-00028

SEAL,OIL (K2)

SN: 12446-UP

1шт.

|31

07012-00025

SEAL,OIL (K2)

SN: 11397-12445

1шт.

32

6210-21-3460

PULLEY

SN: 11397-UP

1шт.

33

07000-02060

O-RING (K2)

SN: 11397-UP

1шт.

34

01010-51030

BOLT

SN: 11397-UP

3шт.

35

6210-21-3911

POINTER

SN: 17630-UP

1шт.

|35

0

POINTER

SN: 11397-17629

1шт.

36

01010-50610

BOLT

SN: 11397-UP

2шт.

37

01640-20610

WASHER

SN: 11397-UP

2шт.

38

6150-21-3230

SEAL¤ FRONT (K2)

SN: 11397-UP

1шт.

39

209-01-51160

BRACKET

SN: 11397-UP

1шт.

40

01011-51240

BOLT

SN: 11397-UP

5шт.

41

6210-21-3940

BOLT

SN: 11397-UP

2шт.

42

01640-21223

WASHER

SN: 11397-UP

7шт.

43

09920-00150

LIQUID GASKET,LG-7¤ 150G

SN: 11397-14512

-2шт.

Выбрано товаров: 64