Запчасти Komatsu SA6D140-1L КОЛЕНВАЛ(№97-779) БЛОК ЦИЛИНДРОВ

Схема запчастей Komatsu SA6D140-1L - КОЛЕНВАЛ(№97-779) БЛОК ЦИЛИНДРОВ
FIT
1:1
100%

Артикул

Название

Примечание

Количество

|1

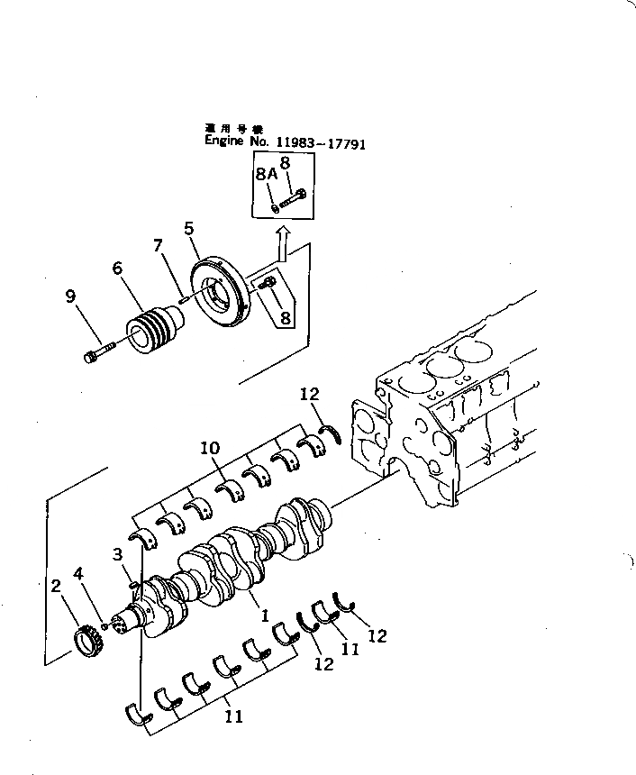
6211-31-1010

CRANKSHAFT ASS'Y

SN: 11397-@

1шт.

1

0

CRANKSHAFT

SN: 11397-@

1шт.

2

6210-31-1120

GEAR

SN: 11397-@

1шт.

3

6150-31-1130

KEY

SN: 11397-@

1шт.

4

6211-31-1420

PIN

SN: 11397-@

1шт.

5

6211-31-8101

DAMPER ASS'Y

SN: 16338-17791

1шт.

|5

0

DAMPER ASS'Y

SN: 11397-16337

1шт.

6

6212-31-5120

PULLEY¤ HARDENING

SN: 11397-17791

1шт.

7

04020-01024

PIN,DOWEL

SN: 11397-@

1шт.

8

01010-51025

BOLT

SN: 11983-17791

6шт.

|8

0

BOLT

SN: 11397-11982

6шт.

|$$12

(01010-51025{01643-31032)}

-1шт.

8A

01643-31032

WASHER

SN: 11983-17791

6шт.

9

6210-81-8720

BOLT

SN: 11397-@

6шт.

|$$15

STANDARD

-1шт.

|10

6210-21-8000

METAL ASS'Y

SN: 11397-@

1шт.

|10

6210-21-8010

MAIN METAL ASS'Y

SN: 11397-@

7шт.

10

0

METAL,UPPER

SN: 11397-@

1шт.

11

0

METAL,LOWER

SN: 11397-@

1шт.

12

6210-21-8050

THRUST METAL ASS'Y

SN: 11397-@

1шт.

|12

0

METAL,THRUST

SN: 11397-@

3шт.

|$$22

UNDERSIZE 0.25MM

-1шт.

|10

6210-29-8010

MAIN METAL ASS'Y

SN: 11397-@

7шт.

10

0

METAL,UPPER

SN: 11397-@

1шт.

11

0

METAL,LOWER

SN: 11397-@

1шт.

|$$26

UNDERSIZE 0.50MM

-1шт.

|10

6210-28-8010

MAIN METAL ASS'Y

SN: 11397-@

7шт.

10

0

METAL,UPPER

SN: 11397-@

1шт.

11

0

METAL,LOWER

SN: 11397-@

1шт.

|$$30

UNDERSIZE 0.75MM

-1шт.

|10

6210-27-8010

MAIN METAL ASS'Y

SN: 11397-@

7шт.

10

0

METAL,UPPER

SN: 11397-@

1шт.

11

0

METAL,LOWER

SN: 11397-@

1шт.

|$$34

UNDERSIZE 1.00MM

-1шт.

|10

6210-26-8010

MAIN METAL ASS'Y

SN: 11397-@

7шт.

10

0

METAL,UPPER

SN: 11397-@

1шт.

11

0

METAL,LOWER

SN: 11397-@

1шт.

|$$38

OVERSIZE 0.25MM

-1шт.

12

6210-29-8050

THRUST METAL ASS'Y

SN: 11397-@

1шт.

|12

0

METAL,THRUST

SN: 11397-@

3шт.

|$$41

OVERSIZE 0.50MM

-1шт.

12

6210-28-8050

THRUST METAL ASS'Y

SN: 11397-@

1шт.

|12

0

METAL,THRUST

SN: 11397-@

3шт.

|$$44

OVERSIZE 0.75MM

-1шт.

12

6210-27-8050

THRUST METAL ASS'Y

SN: 11397-@

1шт.

|12

0

METAL,THRUST

SN: 11397-@

3шт.

|$$47

OVERSIZE 1.00MM

-1шт.

12

6210-26-8050

THRUST METAL ASS'Y

SN: 11397-@

1шт.

|12

0

METAL,THRUST

SN: 11397-@

3шт.

Выбрано товаров: 49