Запчасти Komatsu SA6D140-A-1T БЛОК ЦИЛИНДРОВ БЛОК ЦИЛИНДРОВ

Схема запчастей Komatsu SA6D140-A-1T - БЛОК ЦИЛИНДРОВ БЛОК ЦИЛИНДРОВ
FIT
1:1
100%

Артикул

Название

Примечание

Количество

|$0

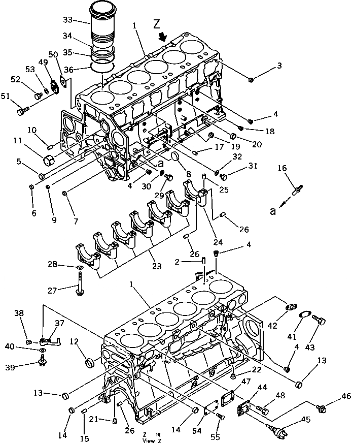
6211-21-1102

CYLINDER BLOCK ASS'Y

SN: 12599-UP

1шт.

1

0

BLOCK,CYLINDER

SN: 12599-UP

1шт.

2

04020-00820

PIN,DOWEL

SN: 12599-UP

12шт.

3

6210-41-2430

PIN

SN: 12599-UP

12шт.

4

07043-70108

PLUG

SN: 12599-UP

13шт.

5

07046-42516

PLUG

SN: 12599-UP

2шт.

6

07046-41810

PLUG

SN: 12599-UP

2шт.

7

07046-11816

PLUG

SN: 12599-UP

2шт.

8

6210-21-1790

BUSHING

SN: 12599-UP

2шт.

9

07046-41008

PLUG

SN: 12599-UP

1шт.

10

6210-21-1910

PIN

SN: 12599-UP

3шт.

11

6210-21-1490

BUSHING,CAMSHAFT

SN: 12599-UP

7шт.

12

07046-47020

PLUG

SN: 12599-UP

1шт.

13

07046-43516

PLUG

SN: 12599-UP

7шт.

14

6210-81-9210

PLUG

SN: 12599-UP

2шт.

15

6150-21-4770

PIN,DOWEL

SN: 12599-UP

2шт.

16

6150-21-5910

BUSHING

SN: 12599-UP

1шт.

17

04020-01024

PIN,DOWEL

SN: 12599-UP

2шт.

18

07043-00211

PLUG

SN: 12599-UP

2шт.

19

07046-42010

PLUG

SN: 12599-UP

1шт.

20

07046-42816

PLUG

SN: 12599-UP

3шт.

21

07043-00415

PLUG

SN: 12599-UP

1шт.

22

07043-71019

PLUG

SN: 12599-UP

1шт.

23

6210-21-1210

CAP,MAIN METAL, NO.1,2,3,4,5,6

SN: 12599-UP

6шт.

24

6210-21-1250

CAP,MAIN METAL, NO.7

SN: 12599-UP

1шт.

25

04020-00514

PIN,DOWEL

SN: 12599-UP

2шт.

26

6210-21-1390

PIN

SN: 12599-UP

6шт.

27

6210-21-1710

BOLT

SN: 12599-UP

14шт.

28

01643-31845

WASHER

SN: 12599-UP

14шт.

29

07040-11007

PLUG

SN: 12599-UP

1шт.

30

07005-01012

GASKET (K2)

SN: 12599-UP

1шт.

31

07040-11409

PLUG

SN: 12599-UP

1шт.

32

07005-01412

GASKET (K2)

SN: 12599-UP

1шт.

33

6211-21-2210

LINER,CYLINDER

SN: 12599-UP

3шт.

33

6211-21-2220

LINER,CYLINDER

SN: 12599-UP

3шт.

34

6210-21-2250

SEAL,CREVICE (K2)

SN: 12599-UP

6шт.

35

6210-21-2240

O-RING,CENTER (K2)

SN: 12599-UP

6шт.

36

6210-21-2230

O-RING,LOWER (K2)

SN: 12599-UP

6шт.

37

6211-21-1820

NOZZLE,PISTON COOLING

SN: 12599-UP

6шт.

38

02720-40104

PLUG

SN: 12599-UP

6шт.

39

6150-81-9120

BOLT

SN: 12599-UP

6шт.

40

01641-21016

WASHER

SN: 12599-UP

6шт.

41

6210-21-1820

PLATE

SN: 12599-UP

1шт.

42

6210-61-6550

GASKET (K2)

SN: 12599-UP

1шт.

43

01010-51025

BOLT

SN: 12599-UP

2шт.

44

6210-21-1960

COVER

SN: 12599-UP

1шт.

45

600-815-1292

SWITCH,THERMO

SN: 12599-UP

1шт.

46

287-35-11470

PLUG

SN: 12599-UP

1шт.

47

6210-21-1970

GASKET (K2)

SN: 12599-UP

1шт.

48

01010-51025

BOLT

SN: 12599-UP

4шт.

49

6210-21-1950

FLANGE

SN: 12599-UP

1шт.

50

6696-61-9920

GASKET (K2)

SN: 12599-UP

1шт.

51

01010-51225

BOLT

SN: 12599-UP

2шт.

52

07040-11409

PLUG

SN: 12599-UP

1шт.

53

07005-01412

GASKET

SN: 12599-UP

1шт.

54

09605-01440

PLATE, NAME,(ENGLISH)

SN: 12599-UP

1шт.

55

04418-02550

SCREW

SN: 12599-UP

4шт.

Выбрано товаров: 57