Запчасти Komatsu SA6D140-A-1T МАСЛЯНЫЙ ПОДДОН БЛОК ЦИЛИНДРОВ

Схема запчастей Komatsu SA6D140-A-1T - МАСЛЯНЫЙ ПОДДОН БЛОК ЦИЛИНДРОВ
FIT
1:1
100%

Артикул

Название

Примечание

Количество

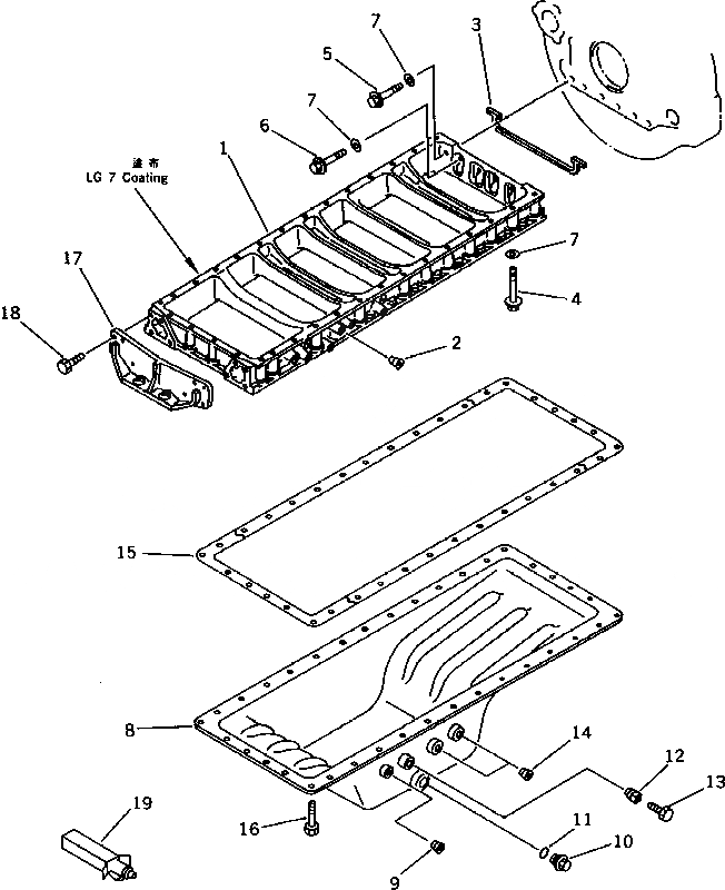
1

6210-21-5210

FRAME

SN: 12599-UP

1шт.

2

07043-00211

PLUG

SN: 12599-UP

2шт.

3

6210-21-5280

GASKET (K2)

SN: 12599-UP

1шт.

4

6210-81-9410

BOLT

SN: 12599-UP

32шт.

5

6210-81-9440

BOLT

SN: 12599-UP

2шт.

6

6210-81-9450

BOLT

SN: 12599-UP

4шт.

7

01640-21016

WASHER

SN: 12599-UP

38шт.

8

6211-21-5110

PAN,OIL

SN: 12599-UP

1шт.

9

07043-00211

PLUG

SN: 12599-UP

1шт.

10

07044-13620

PLUG

SN: 12599-UP

1шт.

11

07002-23634

O-RING (K2)

SN: 12599-UP

1шт.

12

6127-21-5880

ADAPTER

SN: 12599-UP

1шт.

13

287-35-11470

PLUG

SN: 12599-UP

1шт.

14

02720-11616

PLUG

SN: 12599-UP

2шт.

15

6210-21-5812

GASKET (K2)

SN: 12599-UP

1шт.

16

01010-51030

BOLT

SN: 12599-UP

36шт.

17

6210-21-3720

BRACKET

SN: 12599-UP

1шт.

18

01010-51240

BOLT

SN: 12599-UP

8шт.

19

09920-00150

LIQUID GASKET,LG-7 150G

SN: 12599-UP

-2шт.

Выбрано товаров: 19