Запчасти Komatsu SA6D140-A-1T ГОЛОВКА ЦИЛИНДРОВ ГОЛОВКА ЦИЛИНДРОВ

Схема запчастей Komatsu SA6D140-A-1T - ГОЛОВКА ЦИЛИНДРОВ ГОЛОВКА ЦИЛИНДРОВ
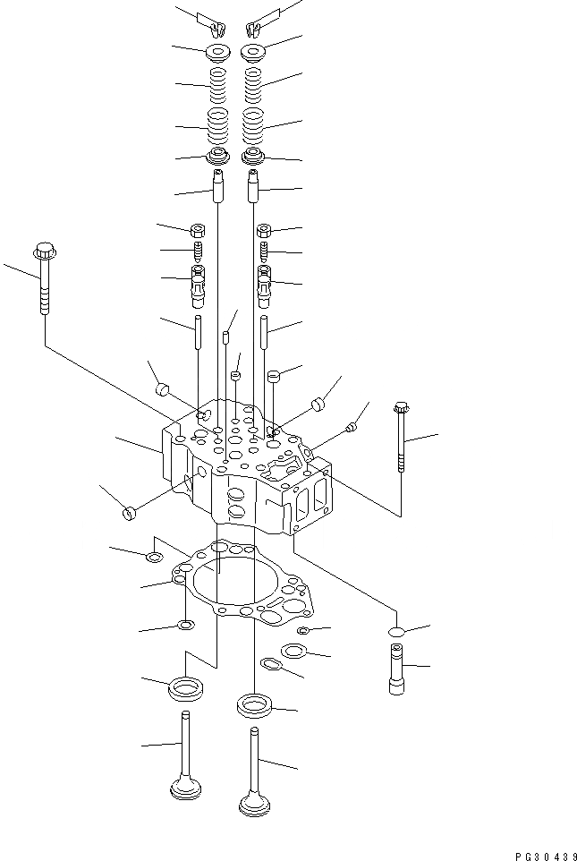
1
2
2
3
3
4
5
6
6
6
6
7
8
9
10
11
12
13
14
14
15
15
16
16
17
17
18
18
19
19
20
20
21
21
22
23
24
25
26
27
28
29
FIT
1:1
100%

Артикул

Название

Примечание

Количество

|1

6211-11-1100

CYLINDER HEAD ASS'Y,VALVE LESS

SN: 12599-UP

6шт.

1

0

HEAD,CYLINDER

SN: 12599-UP

1шт.

2

0

GUIDE,VALVE

SN: 12599-UP

4шт.

3

6210-11-1140

GUIDE,CROSSHEAD

SN: 12599-UP

2шт.

4

04020-00820

PIN,DOWEL

SN: 12599-UP

2шт.

5

07046-41810

PLUG

SN: 12599-UP

1шт.

6

6162-13-1150

PLUG,EXPANSION

SN: 12599-UP

12шт.

7

6210-11-1330

INSERT,INTAKE VALVE (STD)

SN: 12599-UP

2шт.

|7

6210-19-1330

INSERT¤ 0.25MM,INTAKE VALVE (OS)

SN: 12599-UP

2шт.

|7

6210-18-1330

INSERT¤ 0.50MM,INTAKE VALVE (OS)

SN: 12599-UP

2шт.

|7

6210-17-1330

INSERT¤ 0.75MM,INTAKE VALVE (OS)

SN: 12599-UP

2шт.

|7

6210-16-1330

INSERT¤ 1.00MM,INTAKE VALVE (OS)

SN: 12599-UP

2шт.

8

6210-11-1320

INSERT,EXHAUST VALVE (STD)

SN: 12599-UP

2шт.

|8

6210-19-1320

INSERT¤ 0.25MM,EXHAUST VALVE (OS)

SN: 12599-UP

2шт.

|8

6210-18-1320

INSERT¤ 0.50MM,EXHAUST VALVE (OS)

SN: 12599-UP

2шт.

|8

6210-17-1320

INSERT¤ 0.75MM,EXHAUST VALVE (OS)

SN: 12599-UP

2шт.

|8

6210-16-1320

INSERT¤ 1.00MM,EXHAUST VALVE (OS)

SN: 12599-UP

2шт.

9

6210-11-1150

PIPE

SN: 12599-UP

1шт.

10

07000-63025

O-RING (K1)

SN: 12599-UP

1шт.

11

07043-50108

PLUG

SN: 12599-UP

1шт.

12

6210-41-4110

VALVE,INTAKE

SN: 12599-UP

12шт.

13

6210-41-4210

VALVE,EXHAUST

SN: 12599-UP

12шт.

14

6210-41-4410

SPRING,INNER

SN: 12599-UP

24шт.

15

6210-41-4420

SPRING,OUTER

SN: 12599-UP

24шт.

16

6210-41-4530

SEAT,LOWER

SN: 12599-UP

24шт.

17

6210-41-4510

SEAT,UPPER

SN: 12599-UP

24шт.

18

6136-41-4520

COTTER

SN: 12599-UP

48шт.

19

6210-41-5610

CROSSHEAD

SN: 12599-UP

12шт.

20

6210-41-5640

SCREW

SN: 12599-UP

12шт.

21

6127-41-5630

NUT

SN: 12599-UP

12шт.

22

6210-17-1811

GASKET,HEAD (K1)

SN: 12599-UP

6шт.

23

6210-11-1820

GROMMET,OIL

SN: 12599-UP

1шт.

24

6210-11-1830

GROMMET,OIL

SN: 12599-UP

1шт.

25

6210-11-1840

GROMMET,OIL

SN: 12599-UP

1шт.

26

6210-11-1850

GROMMET,WATER

SN: 12599-UP

1шт.

27

6210-11-1860

GROMMET,WATER

SN: 12599-UP

4шт.

28

6210-11-1610

BOLT,HEAD

SN: 12599-UP

36шт.

29

6150-81-9160

BOLT,HEAD

SN: 12599-UP

6шт.

Выбрано товаров: 38