Запчасти Komatsu SA6D140E-3B-7 МАСЛ. ЩУП ДВИГАТЕЛЬ

Схема запчастей Komatsu SA6D140E-3B-7 - МАСЛ. ЩУП ДВИГАТЕЛЬ
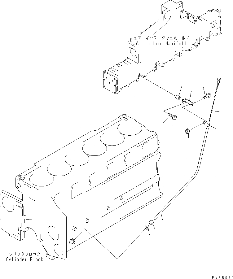
1
2
3
4
5
6
7
8
9
10
FIT
1:1
100%

Артикул

Название

Примечание

Количество

1

6217-21-5320

GAUGE,OIL

SN: 110001-UP

1шт.

2

6217-21-5420

GUIDE,OIL GAUGE

SN: 110001-UP

1шт.

3

6150-21-5920

COLLAR

SN: 110001-UP

1шт.

4

6150-21-5930

NUT

SN: 110001-UP

1шт.

5

6151-51-9520

BRACKET

SN: 110001-UP

1шт.

6

6206-21-5520

CLIP

SN: 110001-UP

1шт.

7

6131-22-3750

BOSS

SN: 110001-UP

1шт.

8

01435-01040

BOLT

SN: 110001-UP

1шт.

9

01435-01020

BOLT

SN: 110001-UP

1шт.

10

01584-01008

NUT

SN: 110001-UP

1шт.

Выбрано товаров: 10