Запчасти Komatsu SA6D140E-3B-7 КРЕПЛЕНИЕ ДВИГАТЕЛЯ ДВИГАТЕЛЬ

Схема запчастей Komatsu SA6D140E-3B-7 - КРЕПЛЕНИЕ ДВИГАТЕЛЯ ДВИГАТЕЛЬ
1
1
2
2
2A
3
3
3
4
5
6
6
7
7
8
8
FIT
1:1
100%

Артикул

Название

Примечание

Количество

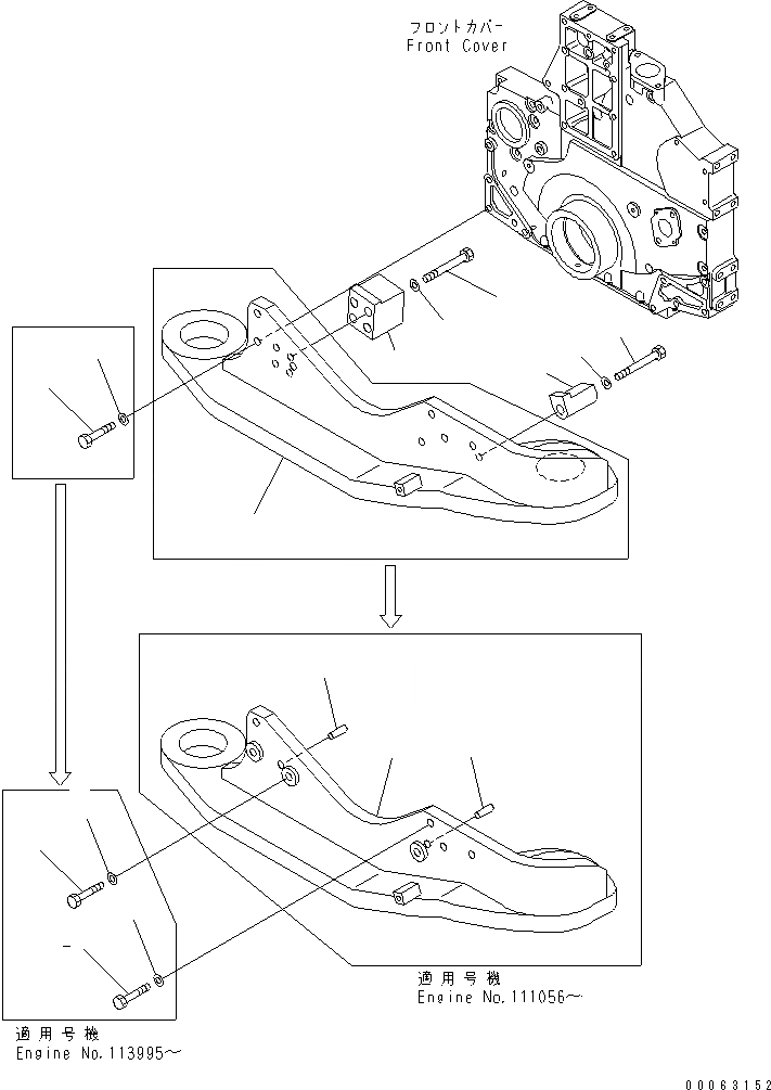
1

21M-01-15313

BRACKET,FRONT

SN: 111056-UP

1шт.

1

0

BRACKET,FRONT

SN: 110001-111055

1шт.

1

0

BRACKET,FRONT

SN: (110001-110006)

1шт.

2

01011-81240

BOLT

SN: 113995-UP

4шт.

2

01011-81240

BOLT

SN: 110001-113994

7шт.

2A

01011-81245

BOLT

SN: 113995-UP

3шт.

3

01643-31232

WASHER

SN: 110001-UP

7шт.

4

21M-01-15340

STOPPER,R.H.

SN: 110001-UP

1шт.

5

21M-01-15350

STOPPER,L.H.

SN: 110001-UP

1шт.

6

01011-61610

BOLT

SN: 110001-UP

5шт.

7

01643-51645

WASHER

SN: 110001-UP

5шт.

8

04020-01434

PIN,DOWEL

SN: 111056-UP

2шт.

Выбрано товаров: 12