Запчасти Komatsu SA6D140E-3H-7 ВОЗВРАТ ТОПЛИВА(№8-) ДВИГАТЕЛЬ

Схема запчастей Komatsu SA6D140E-3H-7 - ВОЗВРАТ ТОПЛИВА(№8-) ДВИГАТЕЛЬ
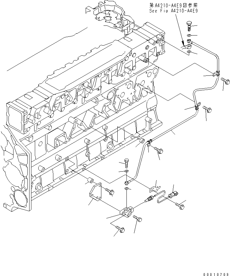
1
2
3
3
4
5
6
7
8
9
10
11
12
13
14
15
16
17
17
18
19
20
21
FIT
1:1
100%

Артикул

Название

Примечание

Количество

1

6217-71-5821

TUBE

SN: 112119-UP

1шт.

2

6215-11-6560

BOLT,JOINT

SN: 112119-UP

1шт.

3

07005-01012

GASKET

SN: 112119-UP

1шт.

4

6210-51-8320

CLIP

SN: 112119-UP

1шт.

5

01435-01020

BOLT

SN: 112119-UP

1шт.

6

6210-51-8320

CLIP

SN: 112119-UP

1шт.

7

01435-01030

BOLT

SN: 112119-UP

1шт.

8

6210-51-8320

CLIP

SN: 112119-UP

1шт.

9

01435-01030

BOLT

SN: 112119-UP

1шт.

10

205-965-1310

SPACER

SN: 112119-UP

1шт.

11

6217-71-5881

PLATE

SN: 112119-UP

1шт.

12

6217-71-5951

BLOCK

SN: 112119-UP

1шт.

13

01435-01025

BOLT

SN: 112119-UP

2шт.

14

01435-01045

BOLT

SN: 112119-UP

2шт.

15

175-79-83760

SPACER

SN: 112119-UP

2шт.

16

07206-30812

BOLT,JOINT

SN: 112119-UP

1шт.

17

07005-01212

GASKET (K2)

SN: 112119-UP

2шт.

18

07206-31014

BOLT,JOINT

SN: 112119-UP

1шт.

19

7861-93-3520

SENSOR,FUEL TEMPERATURE

SN: 112119-UP

1шт.

20

08193-20010

CLIP

SN: 112119-UP

1шт.

21

01435-01020

BOLT

SN: 112119-UP

1шт.

Выбрано товаров: 0