Запчасти Komatsu SA6D140E-3H-7 МАСЛЯНЫЙ ПОДДОН И ВСАСЫВАЮЩИЙ ПАТРУБОК ДВИГАТЕЛЬ

Схема запчастей Komatsu SA6D140E-3H-7 - МАСЛЯНЫЙ ПОДДОН И ВСАСЫВАЮЩИЙ ПАТРУБОК ДВИГАТЕЛЬ
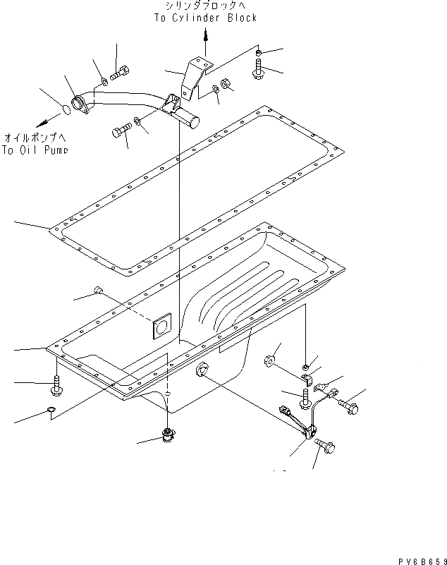
1
2
3
4
5
6
7
8
9
10
11
12
13
14
15
15
16
17
18
19
20
21
22
23
24
FIT
1:1
100%

Артикул

Название

Примечание

Количество

1

6217-21-5250

PAN,OIL

SN: 110001-UP

1шт.

2

6210-21-5820

GASKET (K2)

SN: 110001-UP

1шт.

3

01435-01025

BOLT

SN: 110001-UP

37шт.

4

6217-21-5610

VALVE

SN: 110001-UP

1шт.

5

6217-21-5660

GASKET (K2)

SN: 112085-UP

1шт.

|5

0

GASKET (K2)

SN: 110001-112084

1шт.

6

6217-51-6310

STRAINER

SN: 110001-UP

1шт.

7

07000-73040

O-RING (K2)

SN: 110001-UP

1шт.

8

01010-81025

BOLT

SN: 110001-UP

1шт.

9

01643-31032

WASHER

SN: 110001-UP

1шт.

10

6217-51-6320

BRACKET

SN: 110001-UP

1шт.

11

01435-01035

BOLT

SN: 110001-UP

2шт.

12

6131-12-5920

SPACER

SN: 110001-UP

2шт.

13

01010-81030

BOLT

SN: 110001-UP

1шт.

14

01580-01008

NUT

SN: 110001-UP

1шт.

15

01643-31032

WASHER

SN: 110001-UP

2шт.

16

6741-81-9220

SENSOR,OIL LEVEL

SN: 111609-UP

1шт.

|16

0

SENSOR,OIL LEVEL

SN: 110001-111608

1шт.

17

01435-00612

BOLT

SN: 110001-UP

3шт.

18

01584-01008

NUT

SN: 110001-UP

1шт.

19

08193-20010

CLIP

SN: 110001-UP

1шт.

20

01435-01016

BOLT

SN: 113995-UP

1шт.

|20

0

BOLT

SN: 110001-113994

1шт.

21

419-15-17540

SPACER

SN: 110001-UP

1шт.

22

6222-83-6620

BRACKET

SN: 113995-UP

1шт.

|22

0

STAY

SN: 110001-113994

1шт.

23

01435-01045

BOLT

SN: 113995-UP

1шт.

|23

0

BOLT

SN: 110001-113994

1шт.

24

02720-41616

PLUG

SN: 110001-UP

1шт.

Выбрано товаров: 29