Запчасти Komatsu SA6D170-A-1C ГОЛОВКА ЦИЛИНДРОВ (TWIN ТУРБОНАГНЕТАТЕЛЬ)(№9-8) ГОЛОВКА ЦИЛИНДРОВ

Схема запчастей Komatsu SA6D170-A-1C - ГОЛОВКА ЦИЛИНДРОВ (TWIN ТУРБОНАГНЕТАТЕЛЬ)(№9-8) ГОЛОВКА ЦИЛИНДРОВ
FIT
1:1
100%

Артикул

Название

Примечание

Количество

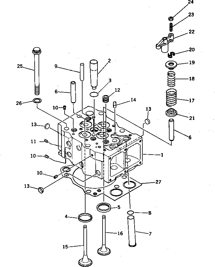
|1

6162-13-1010

CYLINDER HEAD ASS'Y,WITH VALVE

SN: 10569-@

6шт.

|1

6162-13-1100

CYLINDER HEAD ASS'Y,VALVE LESS

SN: 10569-@

1шт.

1

0

HEAD,CYLINDER

SN: 10569-@

1шт.

2

6162-13-1130

SLEEVE

SN: 10569-@

1шт.

3

6162-12-1152

O-RING (K1)

SN: 10569-@

1шт.

4

6162-13-1330

INSERT,INTAKE VALVE (STD)

SN: 10569-@

2шт.

|4

6162-19-1330

INSERT¤ 0.25MM,INTAKE VALVE (OS)

SN: 10569-@

2шт.

|4

6162-18-1330

INSERT¤ 0.50MM,INTAKE VALVE (OS)

SN: 10569-@

2шт.

|4

6162-17-1330

INSERT¤ 0.75MM,INTAKE VALVE (OS)

SN: 10569-@

2шт.

|4

6162-16-1330

INSERT¤ 1.00MM,INTAKE VALVE (OS)

SN: 10569-@

2шт.

5

6162-13-1321

INSERT,EXHAUST VALVE (STD)

SN: 10569-@

2шт.

|5

0

INSERT,EXHAUST VALVE (STD)

SN: 10569-11682

2шт.

|5

6162-19-1321

INSERT¤ 0.25MM,EXHAUST VALVE (OS)

SN: 10569-@

2шт.

|5

0

INSERT¤ 0.25MM,EXHAUST VALVE (OS)

SN: 10569-11682

2шт.

|5

6162-18-1321

INSERT¤ 0.50MM,EXHAUST VALVE (OS)

SN: 10569-@

2шт.

|5

0

INSERT¤ 0.50MM,EXHAUST VALVE (OS)

SN: 10569-11682

2шт.

|5

6162-17-1321

INSERT¤ 0.75MM,EXHAUST VALVE (OS)

SN: 10569-@

2шт.

|5

0

INSERT¤ 0.75MM,EXHAUST VALVE (OS)

SN: 10569-11682

2шт.

|5

6162-16-1321

INSERT¤ 1.00MM,EXHAUST VALVE (OS)

SN: 10569-@

2шт.

|5

0

INSERT¤ 1.00MM,EXHAUST VALVE (OS)

SN: 10569-11682

2шт.

6

6162-16-1341

GUIDE,VALVE

SN: 10569-@

4шт.

7

6162-13-1160

TUBE,PUSH ROD

SN: 10569-@

2шт.

8

07000-63028

O-RING (K1)

SN: 10569-@

2шт.

9

6162-13-1140

GUIDE,CROSSHEAD

SN: 10569-@

2шт.

10

07043-50108

PLUG

SN: 10569-@

3шт.

11

07043-50211

PLUG

SN: 10569-@

1шт.

12

07043-50617

PLUG

SN: 10569-@

5шт.

13

6162-13-1150

PLUG,EXPANSION

SN: 10569-@

12шт.

14

6162-13-1410

PIN

SN: 10569-@

2шт.

15

6162-43-4110

VALVE,INTAKE

SN: 10569-@

2шт.

16

6164-41-4210

VALVE,EXHAUST

SN: 11344-@

2шт.

|16

0

VALVE,EXHAUST

SN: 10569-11343

2шт.

17

6162-43-4410

SPRING,OUTER

SN: 10569-@

4шт.

18

6162-43-4420

SPRING,INNER

SN: 10569-@

4шт.

19

6162-43-4511

SEAT,SPRING

SN: 10569-@

4шт.

20

6162-42-4520

COTTER,VALVE

SN: 10569-@

8шт.

21

6162-43-4430

SEAT,SPRING

SN: 10569-@

4шт.

22

6162-43-5610

CROSSHEAD

SN: 10569-@

12шт.

23

6162-43-5640

SCREW,ADJUST

SN: 10569-@

12шт.

24

6127-41-5630

NUT

SN: 10569-@

12шт.

25

6162-13-1610

BOLT,HEAD

SN: 10569-@

36шт.

26

6162-13-1620

WASHER

SN: 10569-@

36шт.

27

6162-17-1811

GASKET,HEAD (K1)

SN: 10569-@

6шт.

|27

0

GASKET,HEAD (K1)

SN: 10569-11682

6шт.

Выбрано товаров: 44