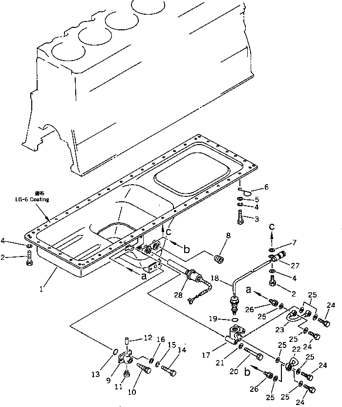
Запчасти Komatsu SA6D170-A-1C МАСЛЯНЫЙ ПОДДОН (МОРОЗОУСТОЙЧИВ. СПЕЦИФИКАЦИЯ.)(№8-) БЛОК ЦИЛИНДРОВ

Схема запчастей Komatsu SA6D170-A-1C - МАСЛЯНЫЙ ПОДДОН (МОРОЗОУСТОЙЧИВ. СПЕЦИФИКАЦИЯ.)(№8-) БЛОК ЦИЛИНДРОВ
FIT
1:1
100%

Артикул

Название

Примечание

Количество

1

6162-23-5110

PAN,OIL

SN: 10277-UP

1шт.

2

01010-31030

BOLT

SN: 10277-UP

47шт.

3

01010-31035

BOLT

SN: 10277-UP

2шт.

4

01602-01030

WASHER,SPRING

SN: 10277-UP

49шт.

5

01640-01016

WASHER

SN: 10277-UP

1шт.

6

6710-21-7640

CLIP

SN: 10277-UP

1шт.

7

01643-31032

WASHER

SN: 10277-UP

1шт.

8

02720-21616

PLUG

SN: 10277-UP

1шт.

|$8

6693-22-5600

VALVE ASS'Y

SN: 10277-UP

1шт.

9

0

BODY

SN: 10277-UP

1шт.

10

0

VALVE

SN: 10277-UP

1шт.

11

07040-02412

PLUG

SN: 10277-UP

1шт.

12

04020-00514

PIN,DOWEL

SN: 10277-UP

1шт.

13

07000-63028

O-RING (K2)

SN: 10277-UP

1шт.

14

01010-31030

BOLT

SN: 10277-UP

2шт.

15

01602-01030

WASHER,SPRING

SN: 10277-UP

2шт.

16

01640-01016

WASHER

SN: 10277-UP

2шт.

|$17

6162-83-8602

LEVEL SENSOR ASS'Y

SN: 10277-UP

1шт.

17

6162-83-8612

CASE

SN: 10277-UP

1шт.

18

7861-99-4500

SENSOR

SN: 10277-UP

1шт.

19

07002-23634

O-RING (K2)

SN: 10277-UP

1шт.

20

01010-31090

BOLT

SN: 10277-UP

2шт.

21

01602-01030

WASHER,SPRING

SN: 10277-UP

2шт.

22

6162-53-6540

PIPE

SN: 11683-UP

1шт.

23

6162-53-6530

PIPE

SN: 11683-UP

1шт.

24

07206-31014

BOLT,JOINT

SN: 11683-UP

4шт.

25

07005-01412

GASKET (K2)

SN: 11683-UP

8шт.

26

6162-53-6550

CONNECTOR

SN: 11683-UP

2шт.

27

600-050-2620

CLIP

SN: 10277-UP

1шт.

28

6631-84-2913

HEATER,OIL PAN

SN: 11683-UP

1шт.

Выбрано товаров: 0