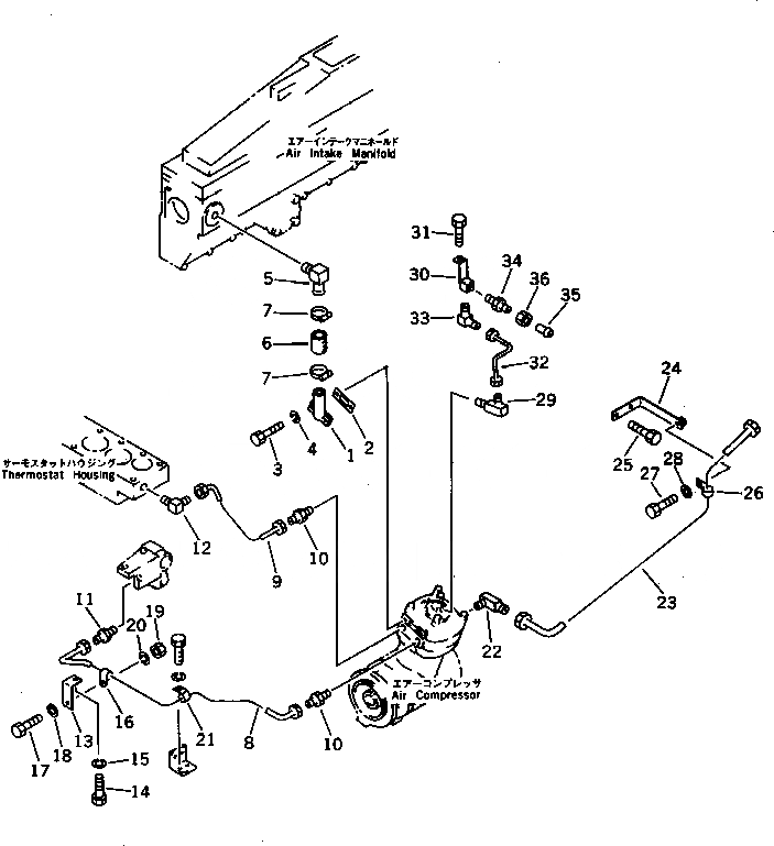
Запчасти Komatsu SA6D170-A-1C ЛИНИЯ КОМПРЕССОРА (TWIN ТУРБОНАГНЕТАТЕЛЬ)(№77-) АКСЕССУАРЫ

Схема запчастей Komatsu SA6D170-A-1C - ЛИНИЯ КОМПРЕССОРА (TWIN ТУРБОНАГНЕТАТЕЛЬ)(№77-) АКСЕССУАРЫ
FIT
1:1
100%

Артикул

Название

Примечание

Количество

1

6162-83-6250

CONNECTOR

SN: 10569-UP

1шт.

2

6684-91-1721

GASKET (K8)

SN: 10569-UP

1шт.

3

02010-70525

BOLT

SN: 10569-UP

2шт.

4

01602-00825

WASHER,SPRING

SN: 10569-UP

2шт.

5

6715-64-7240

ELBOW

SN: 10569-UP

1шт.

6

6162-83-6290

HOSE

SN: 10569-UP

1шт.

7

07281-00489

CLAMP

SN: 10569-UP

2шт.

8

6162-83-6410

TUBE

SN: 10569-UP

1шт.

9

6162-83-6421

TUBE

SN: 10569-UP

1шт.

10

6162-83-6240

NIPPLE

SN: 10569-UP

2шт.

11

6162-83-6240

NIPPLE

SN: 10569-UP

1шт.

12

234-975-3450

ELBOW

SN: 10569-UP

1шт.

13

6162-83-6440

STAY

SN: 10569-UP

1шт.

14

01010-31035

BOLT

SN: 10569-UP

1шт.

15

01602-01030

WASHER,SPRING

SN: 10569-UP

1шт.

16

6711-81-9820

CLIP

SN: 10569-UP

1шт.

17

01010-30820

BOLT

SN: 10569-UP

1шт.

18

01640-20816

WASHER

SN: 10569-UP

1шт.

19

01580-00806

NUT

SN: 10569-UP

1шт.

20

01602-00825

WASHER,SPRING

SN: 10569-UP

1шт.

21

6162-83-6430

CLAMP

SN: 10569-UP

1шт.

22

6162-83-6340

ELBOW

SN: 10569-UP

1шт.

23

569-35-31110

TUBE

SN: 10569-UP

1шт.

24

569-35-31120

BRACKET

SN: 10569-UP

1шт.

25

01010-51040

BOLT

SN: 10569-UP

2шт.

26

08036-01414

CLIP

SN: 10569-UP

1шт.

27

01010-51020

BOLT

SN: 10569-UP

1шт.

28

01643-31032

WASHER

SN: 10569-UP

1шт.

29

287-01-12510

ELBOW

SN: 10569-UP

1шт.

30

566-35-12660

JOINT

SN: 10569-UP

1шт.

31

01010-50850

BOLT

SN: 10569-UP

1шт.

32

569-35-31130

TUBE

SN: 10569-UP

1шт.

33

207-70-11740

ELBOW

SN: 10569-UP

1шт.

34

07836-00410

CONNECTOR

SN: 10569-UP

1шт.

35

07831-00411

SLEEVE

SN: 10569-UP

1шт.

36

07832-00410

NUT

SN: 10569-UP

1шт.

Выбрано товаров: 36