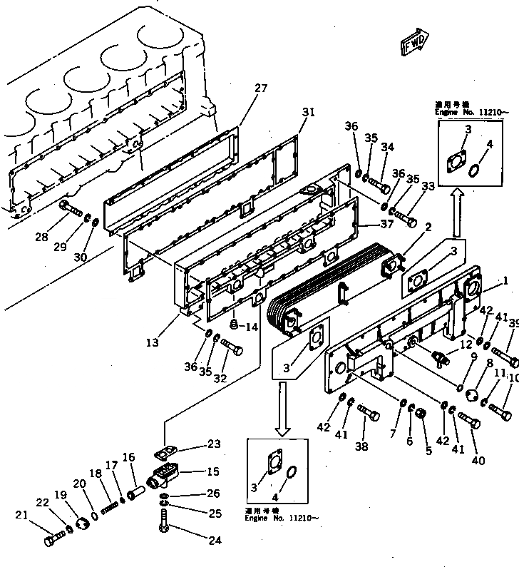
Запчасти Komatsu SA6D170-A-1E СИСТЕМА СМАЗКИ МАСЛООХЛАДИТЕЛЬ(№77-) СИСТЕМА СМАЗКИ МАСЛ. СИСТЕМА

Схема запчастей Komatsu SA6D170-A-1E - СИСТЕМА СМАЗКИ МАСЛООХЛАДИТЕЛЬ(№77-) СИСТЕМА СМАЗКИ МАСЛ. СИСТЕМА
FIT
1:1
100%

Артикул

Название

Примечание

Количество

|$0

6162-63-2201

OIL COOLER ASS'Y

SN: 11210-UP

1шт.

|$1

0

OIL COOLER ASS'Y

SN: 10277-11209

1шт.

1

6162-63-2271

COVER

SN: 11210-UP

1шт.

1

0

COVER

SN: 10277-11209

1шт.

|$$5

(6162-63-2271,6162-63-2280(2),

-1шт.

|$$6

6162-63-2290(2))

-1шт.

2

600-651-1250

ELEMENT

SN: 10277-UP

1шт.

3

6162-63-2280

GASKET (K2)

SN: 11683-UP

2шт.

3

6162-63-2280

GASKET

SN: 11210-11682

2шт.

3

6162-63-2190

GASKET

SN: 10277-11209

2шт.

4

6162-63-2290

O-RING (K2)

SN: 11683-UP

2шт.

4

6162-63-2290

O-RING

SN: 11210-11682

2шт.

5

01580-01008

NUT

SN: 10277-UP

10шт.

6

01602-01030

WASHER,SPRING

SN: 10277-UP

10шт.

7

01641-21016

WASHER

SN: 10277-UP

10шт.

8

6127-61-2412

PLATE

SN: 10277-UP

1шт.

9

6127-61-2420

GASKET (K2)

SN: 11683-UP

1шт.

9

6127-61-2420

GASKET

SN: 10277-11682

1шт.

10

01010-31020

BOLT

SN: 10277-UP

2шт.

11

01602-01030

WASHER,SPRING

SN: 10277-UP

2шт.

12

6127-61-8411

VALVE ASS'Y,DRAIN

SN: 10277-UP

1шт.

13

6162-63-2711

HOUSING

SN: 11046-UP

1шт.

13

0

HOUSING

SN: 10277-11045

1шт.

14

02720-20607

PLUG

SN: 10277-UP

1шт.

|$24

6162-63-5700

BYPASS VALVE ASS'Y

SN: 10277-UP

1шт.

15

0

BODY

SN: 10277-UP

1шт.

16

6162-63-5770

PLUNGER

SN: 10277-UP

1шт.

17

6110-25-6340

SHIM ASS'Y

SN: 10277-UP

1шт.

18

6162-63-5750

SPRING

SN: 10277-UP

1шт.

19

6162-63-5730

PLATE

SN: 10277-UP

1шт.

20

07000-63030

O-RING

SN: 10277-UP

1шт.

21

01010-30820

BOLT

SN: 10277-UP

2шт.

22

01602-00825

WASHER,SPRING

SN: 10277-UP

2шт.

23

6162-63-5740

GASKET (K2)

SN: 10277-UP

1шт.

24

01010-30865

BOLT

SN: 10277-UP

3шт.

25

01602-00825

WASHER,SPRING

SN: 10277-UP

3шт.

26

01640-20816

WASHER

SN: 10277-UP

3шт.

27

6162-63-2120

PLATE

SN: 10277-UP

1шт.

28

01010-30616

BOLT

SN: 10277-UP

12шт.

29

01602-00619

WASHER,SPRING

SN: 10277-11682

12шт.

30

01643-30623

WASHER

SN: 11683-UP

12шт.

30

01640-00610

WASHER

SN: 10277-11682

12шт.

31

6162-63-2131

GASKET (K2)

SN: 11344-UP

1шт.

31

0

GASKET

SN: 10277-11343

1шт.

32

01010-31065

BOLT

SN: 10277-UP

2шт.

33

01010-31040

BOLT

SN: 10277-UP

2шт.

34

01010-31035

BOLT

SN: 10277-UP

3шт.

35

01602-01030

WASHER,SPRING

SN: 10277-UP

7шт.

36

01640-21016

WASHER

SN: 10277-UP

7шт.

37

6162-63-2140

GASKET (K2)

SN: 10277-UP

1шт.

38

01011-31005

BOLT

SN: 10277-UP

20шт.

39

01011-31030

BOLT

SN: 10277-UP

4шт.

40

01010-31075

BOLT

SN: 10277-UP

2шт.

41

01602-01030

WASHER,SPRING

SN: 10277-UP

26шт.

42

01640-21016

WASHER

SN: 10277-UP

26шт.

Выбрано товаров: 55